FreeRider FR LIft FL-100 FR1 Terrain

Product Information
The FR Lift is a scooter-binding lift that can easily attach to the back of your vehicle to transport your mobility scooter. It has a simple and quick operation for both loading and unloading your scooter.
Features
- Easy ON/OFF design
- Adjustable binding belt to secure the scooter
- Power wire for easy connectivity to your vehicle’s electric system
- Arm angle adjustment feature for better accessibility
Product Usage Instructions
Follow these steps to use the FR Lift:
- Position your vehicle in a suitable location where you can easily access the lift and load/unload your scooter.
- Ensure that the lift arm is in the upright position before attaching the scooter to the lift.
- Drive or push your scooter onto the lift platform and ensure that it is centered and aligned with the binding belt.
- Pull the binding belt over your scooter’s wheels and secure it tightly using the buckle.
- Connect the power wire to your vehicle’s electric system.
- Adjust the arm angle if necessary to ensure easy accessibility for your scooter. Simply release the arm adjustment lever and adjust it to your desired angle, then lock it back in place.
- To unload your scooter, follow the same steps in reverse order.
Note: Always read the full user manual before using the FR Lift to ensure safe and proper usage.
ACCESSORIES

PRODUCT OVERVIEW

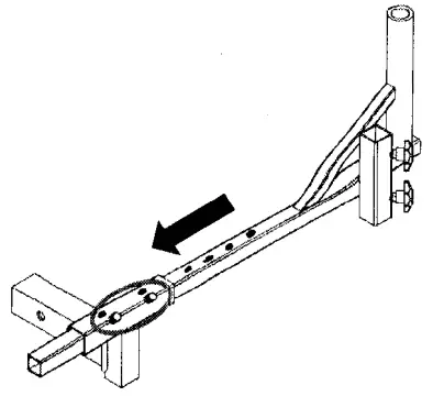
- Boom arm
- Height locating slots
- Extension arm
- Loading belt
- Lifting hook
- Fix knobs
- Remote hand control
- Control switch
- Motor
- Power socket
- Stop plate
- Hitch adapter
- Support tube
- Mounting arm
- Screws [2]
Your install Instructions
- Step 1. Insert the hitch adapter to the vehicle. Make sure hitch adapter is properly secured to the hitch.

- Step2. Assemble the mounting arm to hitch adapter, and tighten the glued screws.

- Step 3. Place the support tube, tighten the fix knobs and place the lift.

- Step 4. Adjust the proper angle and connect the power wire.

Easy adjust

Smart Lifting























