
OUTSIDE LIFTS

OWNER’S MANUAL & WARRANTY INFORMATION
THANK YOU
From all of us at Harmar, thank you for placing your trust in our products and allowing us to be a part of your journey.
For more than 20 years we have been committed to building products that help you maintain independence. With a drive to empower people to live as they choose, Harmar Lifts Lives.
Beyond vehicle lifts, like the one you’ve purchased, Harmar designs and manufacturers Vertical Platform Lifts, award-winning Stair Lifts, and more.
We strive to be the leading provider of lift-assisting technology in your home and on the road.
Visit harmar.com or speak to your dealer about the other solutions available from Harmar.
OUTSIDE VEHICLE LIFTS: SECTION 1
INTRODUCTION
DEVICE NAME: HARMAR OUTSIDE VEHICLE LIFTS
Indications of Use: The intended use of the Outside Vehicle Lift is to lift a mobility device for patients or mobility-impaired persons on and off the vehicle lift.
READ AND UNDERSTAND
This manual provides instructions for the proper use and maintenance of your Outside Vehicle Lift. Please refer to this Owner’s Manual for operating instructions. Any alterations to the equipment without written authorization by the manufacturer will void the warranty.
PURCHASING INFORMATION
If you have questions concerning the operation and maintenance of your Outside Vehicle Lift, please contact your dealer.
Please ensure that you fill out the separate warranty form and return it within ten (10) days of purchase to register your lift.
TECHNICAL SPECIFICATIONS
Visit harmar.com for specifications on your lift model.
GENERAL INFORMATION
This lift is meant to transport a wheelchair, power chair, or scooter (also referred to as a mobility device or chair) on and off the lift for a mobility-impaired person. Operation outside the intended use will void the warranty.
Consider the following general information when using your lift. Specifics may vary based on your chair model and lift combination.
- Always make certain your lift is fully deployed and flush with the ground prior to loading your mobility device.
- Ensure you have positioned the chair properly on the platform and that it is secured on the lift before transport.
- Always verify wheels are captured by cradles or aligned evenly on the platform. Also ensure the securement device is fully engaged (hold-down foot, straps, or hold-down arm. Please consult your dealer on the specifics of your application if you have questions.
- Always drive slowly over rough terrains such as potholes, unpaved roads, railroad tracks, speed bumps, or other uneven surfaces. Excessive loads and rough driving will damage your lift and will not be covered by the warranty.
- Stop using the lift immediately if you notice any damage. Do not attempt to transport a mobility device with a compromised lift. Damage to your chair, lift, and/or vehicle may occur. Contact your dealer and ask for an evaluation of the lift prior to further use.
- Always check to make sure nobody is in the process of getting on or off the mobility device before operating the lift.
- Always verify the mobility device is held firmly in place prior to transport.
- Never attempt to move the vehicle without the lift being in the full upright or stowed position, as this may damage the lift.
OUTSIDE VEHICLE LIFTS: SECTION 2
SAFETY
SAFETY DEFINITIONS
This safety alert symbol appears with safety statements. It means attention, become alert, your safety is involved! Please read and abide by the message that follows the safety alert symbol.
WARNING
Indicates a hazardous situation that, if not avoided, could result in death or serious injury.
CAUTION
Indicates a hazardous situation that, if not avoided, could result in minor or moderate injury.
NOTICE
Indicates a situation that can cause damage to the lift and/or the environment, or cause the lift to operate improperly.
NOTE: Indicates a condition that should be followed in order for the lift to function in the manner intended.
OUTSIDE VEHICLE LIFTS: SECTION 3
OPERATION
WARNING
This lift is NOT meant for human transportation. Any use other than the intended use identified will VOID the warranty and could result in personal injury. The chair or scooter MUST be unoccupied before operating the lift. Each lift is designed to transport a specific chair only. DO NOT attempt to move any mobility devices, objects, people, animals, or materials other than those for which the lift was designed. Drive with EXTREME CARE while transporting your chair or scooter on the lift to avoid personal injury.
NOTICE
DRIVE SLOWLY over rough terrains such as potholes, unpaved roads, and railroad tracks. Excessive bumping creates stress on the lift and vehicle and can badly damage your lift, vehicle, and mobility device.

SPECIAL CAUTIONS
Pay attention to the following Special Cautions
while operating your chair or scooter.
- Return the hold-down arm to a side, or down position before folding the platform (Models AL560, AL560XL, AL003, AL030, AL580, AL580XL, AL580-HDX). Failure to do so will damage your lift.
- Beware of pinch points. These are areas of moving parts that can catch extremities or clothing. Do not place fingers, extremities, clothing, or jewelry near pinch points.
- Keep hands, feet, and objects away from the platform as it lowers.
- Keep the chair tires properly inflated. Improper inflation will change how the chair fits and secures on the platform and will change the securement pressure.
- Secure the chair firmly before driving. Doublecheck to confirm that the chair is secured properly before you transport it.
- Inspect the lift condition often. If ANY parts are worn or damaged, DO NOT USE THE LIFT. Immediately contact the dealer that you purchased the lift from to schedule repairs.
- Do not enter steep driveways straight on. Enter and leave at an angle to the street so that the lift does not drag on the ground.
- Do not move the vehicle with the platform down. If you move the vehicle with the platform in the DOWN position, you will damage the lift.
- Hand-wash or use a touch-less automatic car wash only on the lift. To prevent lift damage DO NOT use automatic wash systems.
LOWERING THE LIFT
- Insert the key and turn the switch to the ON position.
- Press DOWN on the toggle switch. The platform will unfold, as the lift is lowered.
- Continue to lower the platform until it reaches the ground and becomes level. See Figure 3-2.

Always drive the scooter off the platform in REVERSE. When the scooter is clear of the platform, press the UP toggle switch to raise the platform.
NOTICE
DO NOT over-lower the platform to the point where the vehicle begins to rise. This will damage the lift.
POSITIONING THE MOBILITY DEVICE ONTO THE PLATFORM
- Position your mobility device slowly.
- Stop positioning when the drive wheels fall between the wheel cradles on the side or center, depending on the lift and chair model. See Figure 3-3.

IMPORTANT: Positioning the mobility device properly on the platform is critical to ensuring the device is properly locked onto the lift. Always verify that the wheels are captured by wheel cradles. Please consult your dealer on the specifics of your application.
SECURING THE MOBILITY DEVICE
Depending on your lift model and the type of securement device it uses, you may wish to raise the platform halfway by using the UP toggle switch. If you raise the platform, you won’t have to bend over while you attach straps or flip the chair’s armrest out of the way of the hold-down arm. See Figure 3-4.

NOTICE
Ensure that the securement system (whether it’s a hold-down arm, hold-down foot, or straps) has enough tension to secure the device.
Notes for AL015, AL100, AL100HD and AL160 Models
On some scooters, it may be necessary to temporarily move the steering tiller forward to clear the hold-down foot as it lowers into the lock-down position.
NOTICE
Some scooters have pneumatic (air-inflated) tires. If your scooter has this type of tire, be sure the tires are properly inflated. Improper inflation will change the deck height of the scooter and therefore change the amount of clamping force the hold-down arm places on the scooter. The scooter can fall off the lift if not properly secured.
RAISING THE LIFT
- When the mobility device is secure, use the UP toggle switch to continue raising the lift.
- Stop raising the lift when it reaches the top of travel and when you hear the clicking or ratcheting sound.
- Remove the key. See Figure 3-5.

UNLOADING THE CHAIR
- Insert the key and turn the switch to the ON position.
- Press DOWN on the toggle switch to lower the lift.
- Release/move the hold-down devices that are not automatic.
NOTE: Make sure any automatic securement devices are fully disengaged prior to removing the chair from the platform. - Guide the chair off the platform carefully.
STOWING THE PLATFORM
When the mobility device is unloaded, press UP on the toggle switch, and the platform will automatically fold (excludes AL010 and AL050). See Figure 3-6.
NOTICE
DO NOT leave the lift platform on the ground. Keep the platform in its stowed position when not in use or when leaving the vehicle.

SWING-AWAY
The Swing-Away allows you to easily swing the installed auto lift away from the back of the vehicle for convenient access to the trunk/cargo area. If your device does not have a Swing-Away, you may purchase this option from an authorized dealer and have it added at any time.
NOTICE
NEVER open the Swing-Away with the chair on the lift. You will damage the Swing-away and the lift and will potentially damage the vehicle and the mobility device. Any of these actions will VOID your warranty. See Figure 3-7.

WARNING
ONLY open the Swing-Away on level ground. Failure to open the Swing-Away on level ground may result in losing control of the lift, resulting in personal injury or damage to property. See Figure 3-8.

OPENING THE SWING-AWAY
- Remove the safety pin. See Figure 3-9.

- Pull the T-handle. See Figure 3-10. Grasp the lift firmly and swing it out, away from the vehicle. The Swing-Away opens up to 180 degrees from the closed position to allow full access to the vehicle’s cargo area. See Figure 3-11.


NOTE: On the AL105L model you must push down on the lift to release the latching mechanism. See Figure 3-11.
CLOSING THE SWING-AWAY
Close the Swing-Away by returning it to the stowed position. See Figure 3-12.
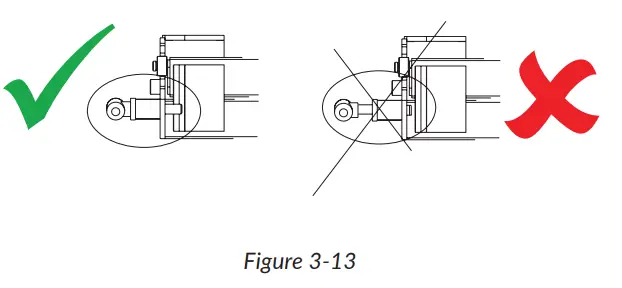
- Fully close the T-handle. See Figure 3-13.

WARNING
Be sure to stay clear of the latching mechanism to avoid personal injury. See Figure 3-13. Safety Pin must be installed before transit to avoid damage and injury. See Figure 3-14.

Section 4
Maintenance
This Outside Vehicle Lift is designed to be as trouble-free as possible. However, some basic maintenance will ensure that it continues to offer reliable use for years to come.
- Oil pivot points on all moving parts every Six (6) months.
- Grease the inside vertical square tube once a year (every six [6] months under hard conditions or extreme weather). Lower the platform to the ground and clean the tube with mineral spirits, WD-40®, or a good solvent. When clean, grease the square vertical tube shaft with high-grade water-resistant grease such as boat trailer wheel bearing grease. See Figure 4-1.
- Check for paint chips and touch up bare metal. Use a good black enamel or lacquer to inhibit rust. You may need to do this more frequently if your lift is subject to salt air or road salt in the winter.
NOTICE
Some scooters have pneumatic (air-inflated) tires. If your scooter has this type of tire, ensure the tires are properly inflated. Improper inflation will change the deck height of the scooter and therefore change the amount of clamping force the hold-down arm places on the scooter. The scooter can fall off the lift if not properly secured.

OUTSIDE VEHICLE LIFTS: SECTION 5
TROUBLESHOOTING
If the lift doesn’t have power when you turn the key on:
- Make sure the lift harness and vehicle harness are connected.
- Make sure the self-resettable circuit breaker on the red wire by the battery is good.
- Try starting the car to see if the battery is weak.
If the lift makes a ratcheting noise as you are raising it:
- Unplug the lift, take the round black plug off the top of the motor cover and use a 3/8″ socket to manually lower the lift. (See manual override instructions below.)
- If the actuator just spins and doesn’t move down or up, take the lift to a dealer.
NOTE: Before changing scooters, check with the dealer to make sure the scooter is compatible with the lift and vehicle.
MANUAL OVERRIDE
In the event of a power failure (for example, if your car battery dies), you can still lift or lower the lift using the manual override system.
WARNING
Always disconnect the power from the lift by unplugging the two connector plugs before attempting to use the manual override to avoid electrical shock.
- Unplug power to the lift. See Figure 5-1.

- Using a coin or key, remove the cap on the top of the motor cover. See Figure 5-2.

- Insert a 3/8″ socket wrench into the actuator and rotate the hex shaft. See Figure 5-3.
• Turn the hex shaft counterclockwise to lower the platform.
• Turn the hex shaft clockwise to raise the platform.
OUTSIDE VEHICLE LIFTS: SECTION 6
MOTOR COVER WIRING SCHEMATIC

OUTSIDE VEHICLE LIFTS: SECTION 7
WARRANTY
3-Year Transferable Warranty
Your lift came with a separate warranty page. You must turn this page in within ten (10) days of purchase to register your lift. This warranty policy page must remain in your Owner’s Manual for your records. Do not tear out this page.
Dealer/Installer Name:………………….
Address:……………………………………………
Phone:…………………………………………….
E-Mail:……………………………………………
If you need service or warranty work, your dealer will require the information below to receive factory information or order parts for your Outside Vehicle Lift.
Date Purchased:………………………………..
Serial # of the Lift:……………………………….
Harmar Mobility warrants its lift products against defects in material, mechanical and electrical component (parts), excluding labor costs, batteries, paint, and covers, for a period of three (3) years from the date of retail purchase, provided that the products have been installed, maintained and operated properly. This warranty does not cover defects in vehicles on which Harmar products are installed or defects in Harmar products caused by defects inany part of the vehicle upon which the product is installed. This warranty does not cover maintenance or adjustments. Harmar will not be charged for labor, consequential damage, or repair expenses. Harmar will not, under any circumstances, be liable for the loss of the use of its products or loss of time. This warranty becomes null and void if the product has been lost, damaged by accident, over-stressed, misused, and/ or neglected, or if the product has been modified in any way. Defective parts must be returned, prepaid, to Harmar at the address listed above, for inspection prior to credit, repair, or replacement, at Harmar’s option. Harmar’s sole obligation and the exclusive remedy under this warranty is limited to such credit, repair, or replacement.
THIS EXPRESS WARRANTY IS IN LIEU OF ALL OTHER WARRANTIES OR CONDITIONS, INCLUDING ALL IMPLIED WARRANTIES OR MERCHANTABILITY OR FITNESS FOR A PARTICULAR PURPOSE, AND THERE ARE NO WARRANTIES THAT EXTEND BEYOND THE DESCRIPTION OF THE LIMITED WARRANTY DESCRIBED HEREIN. THIS WARRANTY GIVES YOU SPECIFIC LEGAL RIGHTS AND YOU MAY ALSO HAVE OTHER LEGAL RIGHTS WHICH VARY FROM STATE TO STATE.
PRODUCT INFORMATION
Model:……………………………
Serial Number:……………….
Purchase Date:……………….
INSTALLER INFORMATION
Company Name:…………….
Contact Name:………………..
Address:…………………………..
Phone:…………………………….
Fax:…………………………………
Email:………………………………
APPLICATION INFORMATION
Scooter Power Chair Wheelchair
Year:……………………..
Manufacturer:…………
Model:……………………
PURCHASER INFORMATION
Name:………………………
Address:……………………
Phone:……………………….
Email:………………………..
ADDITIONAL INFORMATION
How did you hear about Harmar?
Harmar Dealer
Internet
Magazine
Which……………………………..
Friend or Acquaintance
Saw Harmar product somewhere
Other……………………………….
Do you have Internet access Yes No
I purchased my Harmar lift because of
Style/Appearance
Harmar Representative
Previous Experience
Ease of Use
Recommendation
Price/Value
NOTES
Outside Vehicle Lifts: Owner’s Manual
06DEC19 | 630-00105 REV A
2075 47th Street | Sarasota, FL 34234
800.833.0478
harmar.com



















