OUTSIDE LIFTS
OWNER’S MANUAL
AL160 Profile Mobility Scooter Lift
THANK YOU
From all of us at Harmar, thank you for placing your trust in our products and allowing us to be a part of your journey.
For more than 20 years we have been committed to building products that help you maintain independence. With a drive to empower people to live as they choose, Harmar Lifts Lives.
Beyond vehicle lifts, like the one you’ve purchased, Harmar designs and manufacturers Vertical Platform Lifts, awardwinning Stairlifts, and more. We strive to be the leading provider of lift-assisting technology in your home and on the road.
Visit harmar.com or speak to your dealer about the other solutions available from Harmar.
SECTION 1 INTRODUCTION
DEVICE NAME: HARMAR
OUTSIDE VEHICLE LIFTS
Indications of Use: The intended use of the Outside Vehicle Lift is to lift a mobility device for patients or mobility-impaired persons on and off the vehicle lift.
READ AND UNDERSTAND
This manual provides instructions for proper use and maintenance of your Outside Vehicle Lift. Please refer to this Owner’s Manual for operating instructions. Any alterations to the equipment without written authorization by the manufacturer will void the warranty.
PURCHASING INFORMATION
If you have questions concerning the operation and maintenance of your Outside Vehicle Lift, please contact your dealer.
Please ensure that you fill out the separate warranty form and return it within ten (10) days of installation to register your lift.
TECHNICAL SPECIFICATIONS
Visit harmar.com for specifications on your lift model.
GENERAL INFORMATION
This lift is meant to transport a wheelchair, power chair or scooter (also referred to as a mobility device or chair) on and off the lift for a mobility-impaired person. Operation outside the intended use will void the warranty.
Consider the following general information when using your lift. Specifics may vary based on your chair model and lift combination.
- Always make certain your lift is fully deployed and flush with the ground prior to loading your mobility device.
- Ensure you have positioned the chair properly on the platform and that it is secured on the lift before transport.
- Always verify wheels are captured by cradles or aligned evenly on the platform. Also ensure the securement device is fully engaged (hold-down foot, straps, or hold-down arm. Please consult your dealer on the specifics of your application if you have questions.
- Always drive slowly over rough terrain such as potholes, unpaved roads, railroad tracks, speed bumps or other uneven surfaces. Excessive loads and rough driving will damage your lift and will not be covered by the warranty.
- Stop using the lift immediately if you notice any damage. Do not attempt to transport a mobility device with a compromised lift. Damage to your chair, lift and/or vehicle may occur. Contact your dealer and ask for an evaluation of the lift prior to further use.
- Always check to make sure nobody is in the process of getting on or off the mobility device before operating the lift.
- Always verify the mobility device is held firmly in place prior to transport.
- Never attempt to move the vehicle without the lift being in the full upright or stowed position, as this may damage the lift.
SECTION 2 SAFETY
SAFETY DEFINITIONS
This safety alert symbol appears with safety statements. It means attention, become alert, your safety is involved! Please read and abide by the message that follows the safety alert symbol.
WARNING
Indicates a hazardous situation that, if not avoided, could result in death or serious injury.
CAUTION
Indicates a hazardous situation that, if not avoided, could result in minor or moderate injury.
NOTICE
Indicates a situation which can cause damage to the lift and/or the environment, or cause the lift to operate improperly.
NOTE: Indicates a condition that should be followed in order for the lift to function in the manner intended.
SECTION 3 OPERATION
WARNING
This lift is NOT meant for human transportation.
Any use other than the intended use identified will VOID the warranty and could result in personal injury. The mobility device MUST be unoccupied before operating the lift. Each lift is designed to transport a specific mobility device only. DO NOT attempt to move any mobility devices, objects, people, animals or materials other than those for which the lift was designed. Take EXTREME CARE while transporting the mobility device onto the lift to avoid damage and/ or personal injury.
NOTICE
DRIVE SLOWLY over rough terrain such as potholes, unpaved roads and railroad tracks. Excessive bumping creates stress on the lift and vehicle and can badly damage your lift, vehicle and mobility device.
SPECIAL CAUTIONS
Pay attention to the following Special Cautions while operating the lift.
- Return the hold-down arm to a side, or down position before folding the platform (Models AL560, AL560XL, AL003, AL030, AL300-FULL, AL580, AL580XL, AL580-HDX). Failure to do so will damage your lift.
- Beware of pinch points. These are areas of moving parts that can catch extremities or clothing. Do not place fingers, extremities, clothing or jewelry near pinch points.
- Keep hands, feet and objects away from the platform as it lowers.
- Walk the mobility device onto the lifts platform. Driving onto the lifts platform may present complications and/or hazards when stepping off of the mobility device.
- Keep the chair tires properly inflated. Improper inflation will change how the chair fits and secures on the platform and will change the securement pressure.
- Secure the chair firmly before driving. Double-check to confirm that the chair is secured properly before you transport it.
- Inspect the lift condition often. If ANY parts are worn or damaged, DO NOT USE THE LIFT. Immediately contact the dealer that you purchased the lift from to schedule repairs.
- Do not enter steep driveways straight on. Enter and leave at an angle to the street so that the lift does not drag on the ground.
- Do not move the vehicle with the platform down. If the vehicle is driven with the lift in the DOWN position, the lift and/or the vehicle will be damaged.
- Check with a dealer to make sure a new mobility device is compatible with the lift and vehicle before replacing a mobility device.
- Hand-wash or only use a touch-less automatic car wash with the lift installed. To prevent damage DO NOT use automatic car wash systems. See Figure 3-1.

LOWERING THE LIFT
- Insert the key and turn the switch to the ON position.
- Press DOWN on the toggle switch. The platfowill unfold automatically, as the lift is lowereThe AL010 & AL050 manually unfolds and requires assistance as the lift is lowered.
- Continue to lower the platform until it reachethe ground and becomes level. See Figure 3-2.

NOTICE
DO NOT over-lower the platform to the point where the vehicle begins to rise. This will damage the lift.
NOTICE
Always walk mobility devices onto the platform manually.
POSITIONING THE MOBILITY DEVICE ONTO THE PLATFORM
- Slowly walk the mobility device onto the platform.
- Maneuver the mobility device until it is positioned at the center of the platform or the drive wheels are resting within the wheel cradles, depending on the lift and chair model. See Figure 3-3.

IMPORTANT: Positioning the mobility device properly onto the platform is critical to ensuring the mobility device is properly locked onto the lift. Always verify that the drive wheels are captured within the wheel cradles. Please consult your dealer on the specifics of your application.
SECURING THE MOBILITY DEVICE
Depending on the lift model and the type of securement device it uses, the platform may be raised halfway by pressing the toggle switch UP. By raising the platform, the straps will be easier to attach or will be easier to raise the mobility device’s armrest out of the way of the hold-down arm. See Figure 3-4.

NOTES FOR AL015, AL100, AL100HD, AL100-DE, AL160 AND AL300-FULL MODELS
NOTICE
Ensure that the securement system (whether it’s a hold-down arm, hold-down foot or straps) has enough tension to secure the device.
On some scooters, it may be necessary to temporarily move the steering tiller forward to clear the hold-down foot as it lowers into the lock-down position.
NOTICE
Some scooters have pneumatic (air-inflated) tires. If your scooter has this type of tire, be sure the tires are properly inflated. Improper inflation will change the deck height of the scooter and therefore change the amount of clamping force the hold-down foot places on the scooter. The scooter can fall off the lift if not properly secured.
RAISING THE LIFT
- When the mobility device is secure, use the UP toggle switch to continue raising the lift.
- Stop raising the lift when it reaches the top of travel and when you hear the clicking or ratcheting sound.
- Remove the key. See Figure 3-5.

UNLOADING THE MOBILITY DEVICE
- Insert the key and turn the switch to the ON position.
- Press DOWN on the toggle switch to lower the lift.
- Release/move the hold-down devices that are not automatic.
- Guide the chair off the platform carefully.
NOTE: Always walk the mobility device off of the platform. When the mobility device is clear of the platform, press the UP toggle switch to raise the platform.
STOWING THE PLATFORM
When the mobility device is unloaded, press UP on the toggle switch and the platform will automatically fold (excludes AL010 and AL050). The AL010 and AL050 requires the platform to be manually lifted upright until it reaches the locking position when the lift is completely raised. See Figure 3-6.
NOTICE
DO NOT leave the lift’s platform on the ground. Keep the platform in the upright and stowed position when not in use or when leaving the vehicle.

SWING-AWAY
The Swing-Away allows the lift to be swung away from the back of the vehicle for convenient access to the trunk/cargo area. If the lift does not have a Swing-Away, the Swing-Away can be purchased from an authorized dealer and installed at any time.
NOTICE
NEVER open the Swing-Away with the mobility device on the lift. Opening the Swing-Away with the mobility device on the lift will damage the Swing-Away and the lift and will potentially damage the vehicle and the mobility device. Any of these actions will VOID the warranty. See Figure 3-7.

WARNING
ONLY open the Swing-Away on level ground.
Failure to open the Swing-Away on level ground may result in losing control of the lift, resulting in personal injury or damage to property. See Figure 3-8.

OPENING THE SWING-AWAY
- Remove the safety pin. See Figure 3-9.

- Pull the T-handle. Grasp the lift firmly and swing it out, away from the vehicle. See Figure 3-10
The Swing-Away opens up from the closed position to allow full access to the vehicle’s cargo area.
NOTE: On the AL105L model, the platform must be pushed down and away from the vehicle to release the latching mechanism. See Figure 3-11.
CLOSING THE SWING-AWAY
- Close the Swing-Away by returning it to the stowed position. See Figure 3-12.

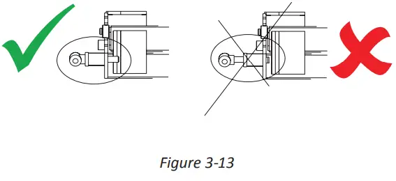
- When the Swing-Away is fully closed, the
T-handle will be fully retracted. See Figure 3-13.
- Install the safety pin. See Figure 3-14.
WARNING
Be sure to stay clear of the latching mechanism to avoid personal injury. See Figure 3-13. Safety Pin must be installed before transit to avoid damage and injury. See Figure 3-14.

SECTION 4 MAINTENANCE
This Outside Vehicle Lift is designed to be as trouble free as possible. However, some basic maintenance will ensure that it continues to offer reliable use for years to come.
- Oil pivot points on all moving parts every Six (6) months.
- Grease the inside vertical square tube once a year (every six [6] months under hard conditions or extreme weather). Lower the platform to the ground and clean the tube with mineral spirits, WD-40® or a good solvent. When clean, grease the square vertical tube shaft with high-grade water-resistant grease such as boat trailer wheel-bearing grease. See Figure 4-1.
- Check for paint chips and touch up bare metal.
Use a good black enamel or lacquer to inhibit rust. You may need to do this more frequently if your lift is subject to salt air or road salt during the winter.

SECTION 5 TROUBLESHOOTING
If the lift does not have power when the key is turned on:
- Make sure the lift harness and vehicle harness are connected.
- Make sure the self-resettable circuit breaker onthe red wire by the battery is good.
- Try starting the car to see if the battery is weak.
If the lift makes a ratcheting noise as it is being raised. - Unplug the lift, take the round black plug off the top of the motor cover and use a 3/8″ socket to manually lower the lift. (See manual override instructions.)
- • If the actuator just spins and doesn’t move down or up, take the lift to a dealer.
MANUAL OVERRIDE
In the event of a power failure (for example, if the car battery dies), the lift can still be raised or lowered using the manual override system.
WARNING
Always disconnect the power from the lift by unplugging the lift harness from the vehicle harness before attempting to use the manual override to avoid electrical shock or accidental activation.
- Unplug power to the lift. See Figure 5-1.

- Using a coin or key, remove the cap on the top of the motor cover. See Figure 5-2.

- Insert a 3/8″ socket wrench into the actuator and rotate the hex shaft. See Figure 5-3.
• Turn the hex shaft counterclockwise to lower the platform.
• Turn the hex shaft clockwise to raise the platform.
SECTION 6 MOTOR COVER WIRING SCHEMATIC

SECTION 7 3-YEAR TRANSFERABLE WARRANTY
The lift came with a separate warranty form on page 17. To register the lift, the warranty form must be returned within ten (10) days of installation. This warranty policy page must remain in the owner’s manual for future reference. Do not tear out this page.
Dealer/Installer Name:———————————————-
Address:————————————————-
Phone:——————————————
E-Mail:—————————————————-
The installation date and serial # of the lift will be required for the dealer to receive factory information for service or warranty work.
Installation Date:———————–
Serial # of the Lift:——————————————–
Harmar Mobility warrants its lift products against defects in material, mechanical and electrical component (parts), excluding labor costs, batteries, paint and covers, for a period of three (3) years from date of retail purchase, provided that the products have been installed, maintained and operated properly. This warranty does not cover defects in vehicles on which Harmar products are installed or defects in Harmar products caused by defects in any part of the vehicle upon which the product is installed. This warranty does not cover maintenance or adjustments. Harmar will not be charged for labor, consequential damage or repair expenses. Harmar will not, under any circumstances, be liable for the loss of the use of its products or loss of time. This warranty becomes null and void if the product has been lost, damaged by accident, over stressed, misused and/or neglected, or if the product has been modified in any way. Defective parts must be returned, prepaid, to Harmar at the address listed above, for inspection prior to credit, repair or replacement, at Harmar’s option. Harmar’s sole obligation and the exclusive remedy under this warranty is limited to such credit, repair or
replacement.
THIS EXPRESS WARRANTY IS IN LIEU OF ALL OTHER WARRANTIES OR CONDITIONS, INCLUDING ALL IMPLIED WARRANTIES OR MERCHANTABILITY OR FITNESS FOR A PARTICULAR PURPOSE, AND THERE ARE NO WARRANTIES THAT EXTEND BEYOND THE DESCRIPTION OF THE LIMITED WARRANTY DESCRIBED HEREIN. THIS WARRANTY GIVES YOU SPECIFIC LEGAL RIGHTS AND YOU MAY ALSO HAVE OTHER LEGAL RIGHTS WHICH VARY FROM STATE TO STATE.
PLEASE FILL OUT ALL FIELDS AND RETURN WITHIN TEN (10) DAYS OF PRODUCT INSTALLATION.
Fax completed form to 1-866-234-5680 or mail to:
Harmar, ATTN Warranty Department, 1500 Independence Blvd., Suite 220, Sarasota FL 34234.
PRODUCT INFORMATION
Model:——————————————————-
Serial Number:—————————————
Purchase Date:—————————————-
Installation Date:———————————-
INSTALLER INFORMATION
Company Name:—————————————————-
Contact Name:————————————————-
Address:——————————————————-
Phone:——————————————————
Fax:—————————————————
Email:————————————————
APPLICATION INFORMATION
Scooter Power Wheelchair
Wheelchair N/A
Year:—————————————————–
Manufacturer:————————————-
Model:—————————————————
PURCHASER INFORMATION
Name:———————————————————-
Address:———————————————
Phone:———————————————-
Email:———————————————–
ADDITIONAL INFORMATION
How did you hear about Harmar?
- Harmar Dealer
- Internet
- Magazine Which:
- Friend or Acquaintance
- Saw Harmar product somewhere
- Other:
I purchased my Harmar lift because of: - Style/Appearance
- Harmar Representative
- Previous Experience
- Ease of Use
- Recommendation
- Price/Value
1500 Independence Blvd. Suite 220
Sarasota, FL 34234 800-833-0478
www.harmar.com




The Swing-Away opens up from the closed position to allow full access to the vehicle’s cargo area.




• Turn the hex shaft counterclockwise to lower the platform.

















