WHITE-RODGERS Universal Integrated Furnace Control Installation Guide

DESCRIPTION
The 50A55-843 is an automatic gas interrupted ignition control that employs a microprocessor to continually monitor, analyze, and control the proper operation of the gas burner, inducer, and fan.
These controls incorporate system fault analysis for quick gas flow shut-off, coupled with automatic ignition retry upon sensing a fault correction.
Signals interpreted during continual surveillance of the thermostat and flame sensing element initiate automatic ignition of the burner, sensing of the flame, and system shut-off during normal operation.

PRECAUTIONS
Installation should be done by a qualified heating and air conditioning contractor or licensed electrician.
If in doubt about whether your wiring is millivolt, line, or low voltage, have it inspected by a qualified heating and air conditioning contractor or licensed electrician. Do not exceed the specification ratings. All wiring must conform to local and national electrical codes and ordinances. This control is a precision instrument, and should be handled carefully. Rough handling or distorting components could cause the control to malfunction.
Following installation or replacement, follow manufacturer’s recommended installation/service instructions to ensure proper operation.
CAUTION
Do not short out terminals on gas valve or primary control. Short or incorrect wiring may damage the thermostat.
| ||
![]() | ![]() | ![]() |
| Failure to comply with the following warnings could result in personal injury or property damage. | ||
FIRE HAZARD
- Do not exceed the specified voltage.
- Protect the control from direct contact with water (dripping, spraying, rain, etc.).
- If the control has been in direct contact with water, replace the control.
- Label all wires before disconnection when servicing controls.Wiring errors can cause improper and dangerous operation.
- Route and secure wiring away from flame.
SHOCK HAZARD
- Disconnect electric power before servicing.
- Ensure proper earth grounding of appliance.
- Ensure proper connection of line neutral and line hot wires.
EXPLOSION HAZARD
- Shut off main gas to appliance until installation is complete.
SPECIFICATIONS
| ELECTRICAL RATINGS | @ 77°F (25°C) |
| Input Voltage: | 25 VAC 50/60 Hz |
| Max. Input Current @ 25 VAC | 0.45 amp |
| Relay Load Ratings: | |
| Valve Relay: | 1.5 amp @ 25 VAC 50/60 Hz 0.6 pf |
| Igniter Relay: | 6.0 amp @ 120 VAC 50/60 Hz (resistivity) |
| Inducer Relay: | 2.2 FLA–3.5 LRA @ 120 VAC |
| Circulate Relay: | 14.5 FLA–25.0 LRA @ 120 VAC |
| Flame Current Requirements: | Minimum current to insure flame detection: 1 µa DC* Maximum current for non-detection: 0.1 µa DC* Maximum allowable leakage resistance: 100 M ohms *Measured with a DC micrometer in the flame probe lead |
| OPERATING TEMPERATURE RANGE: | -40° to 175°F (-40° to 80°C) |
| HUMIDITY RANGE: | 5% to 93% relative humidity (non-condensing) |
| MOUNTING: | Surface mount multi poise |
| Timing Specs: | (@ 60 Hz**) |
| Flame Establishing Time: | 0.8 sec |
| Flame Failure Response Time: | 2.0 sec **At 50 Hz, all timing specifications should be increased by 20% |
| Gases Approved: | Natural, Manufactured, Mixed, Liquefied Petroleum, and LP Gas Air Mixtures are all approved for use. |
TIMING SPECIFICATIONS
(All times are in seconds, unless noted otherwise)
50A55-843 | |
| PRE-PURGE | 30 |
| INITIAL IGNITOR WARM-UP (1st 64 attempts) | 17 |
| MINIMUM IGNITOR WARM-UP | 5 |
| MAXIMUM IGNITOR WARM-UP | 21 |
| IGNITION ACTIVATION PERIOD | 1 |
| TRIAL FOR IGNITION PERIOD | 4 |
| RETRIES | 2 times |
| VALVE SEQUENCE PERIOD | 12 |
| INTERPURGE | 60 |
| POST-PURGE | 15 |
| LOCKOUT TIME | 300 |
| HEAT DELAY-TO-FAN-ON* | 30, 45 |
| HEAT DELAY-TO-FAN-OFF* | 60/90/120/180 |
| COOL DELAY-TO-FAN-ON | 5 |
| COOL DELAY-TO-FAN-OFF* | 45, 90 |
| AUTO RESET | 60 minutes |
| HUMIDIFIER | YES |
| ELECTRONIC AIR CLEANER | YES |
- These times will vary depending on option switch position. The control is factory-set at 30 seconds heat delay-to-fan-on, 180 seconds heat delay-to-fan-off and 45 seconds cool delay-to-fan-off. See OPERATION section for further information.
INSTALLATION
| ||
![]() | ![]() | ![]() |
FIRE HAZARD
SHOCK HAZARD
EXPLOSION HAZARD
| ||
CAUTION
Do not short out terminals on gas valve or primary control. Short or incorrect wiring may damage the thermostat.
MOUNTING AND WIRING
All wiring should be installed according to local and national electrical codes and ordinances.
The control must be secured to an area that will experience a minimum of vibration and remain below the maximum ambient temperature rating of 175°F. The control is approved for minimum ambient temperatures of -40°F.
When mounting the control, any orientation is acceptable. Choose a location that will not damage, obstruct or place stress on the control’s terminations, system wiring harness or system components. After finding a suitable location, drill four (4) 1/8″ holes for mounting control. To ensure proper mounting hole locations, there is a mounting hole template on page 8 of this instruction sheet. Detach the page with the template from the instruction sheet and apply it to the mounting location. When drilling the holes, take care so that the transformer, wiring harness or other system components are not damaged. Four (4) #8 sheet metal screws are provided to complete the installation.
Refer to the wiring diagram and wiring table when connecting the 50A55 control to other components of the system.
UL approved, 105°C rated 18 gauge, stranded, 2/64″ thick insulation wire is recommended for all low voltage safety circuit connections.Refer to 50A55 specification sheet for recommended terminals to mate with those on the control.
UL approved 105°C rated 16 gauge min., stranded, 4/64″ thick insulation wire is recommended for all line voltage connections. Refer to 50A55 specification sheet for recommended terminals to mate with those on the control.
After installation or replacement, follow appliance manufacturer’s recommended installation or service instructions to ensure proper operation.
The 50A55 has only one serviceable partan automotive type fuse, which protects the low voltage transformer from damage if its output is short-circuited. If the fuse has opened up, remove whatever caused the short circuit and replace the fuse with only a 3 Amp automotive type fuse. If the fuse is not the cause of the control’s problem, replace the entire 50A55 control. There are no other user serviceable parts.
Additional jumper wires are included in this package and should be used if the original wiring does not reach the control after mounting. Refer to the furnace wiring diagram for proper connection of the wires.
Amana/Goodman application – An additional wiring harness (WR 115-0223) is included in this package. If the control being replaced has a 2-pin (inducer/ignitor) connector, this wiring harness will adapt the furnace wiring to the 4-pin connector of the replacement control.
Trane application – Jumper wire 151-2906 (provided with control) must be installed on the furnace from R01 to R02 of the 12-pin connector.
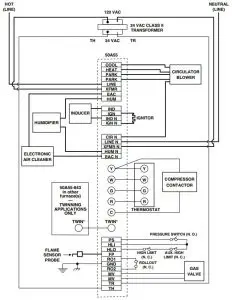
TYPICAL SYSTEM WIRING DIAGRAM

NOTE:
If ROLLOUT is part of the HIGH LIMIT circuit, jumper wire 151-2906 (provided with control) must be installed on the furnace from R01 to R02 of the 12-pin connector.
Legend |
| _______ Low Voltage (24 VAC) _______ Line Voltage (120 VAC) N.C = Normally closed switch N.O = Normally open switch |
TYPICAL SYSTEM WIRING TABLE
| 50A55 TERMINAL | TERMINAL TYPE | SYSTEM COMPONENT CONNECTION |
| W GR YC Twin* | ![]() | low voltage thermostat W terminal (or equivalent) low voltage thermostat G terminal (or equivalent) low voltage thermostat R terminal (or equivalent) low voltage thermostat Y terminal (or equivalent) (2nd wire from Y terminal goes to 24 VAC HOT side of compressor contactor coil) 24 VAC COMMON side of compressor contactor coil one wire twinning terminal |
| MV (2 terminals) TR TH RO1 RO2 FP PS HLI HLO GND (unused terminal) | ![]() | gas valve (both gas solenoids are connected in parallel) 24 VAC transformer (low voltage COMMON side) 24 VAC transformer (low voltage HIGH side) rollout switch OUTPUT** rollout switch INPUT** flame sensor probe* pressure switch INPUT high limit INPUT high limit OUTPUT MUST BE RELIABLY GROUNDED TO CHASSIS |
| IND IGN INDN IGN N | ![]() | inducer HOT side igniter HOT side inducer NEUTRAL side igniter NEUTRAL side |
| COOL | spade terminal | circulator blower COOL SPEED terminal |
| HEAT | spade terminal | circulator blower HEAT SPEED terminal |
| PARK (2 Terminal) | spade terminal | unused circulator blower terminals |
| LINE | spade terminal | input voltage (120 VAC) HOT side |
| XFMR | spade terminal | 24 VAC transformer line voltage HOT side |
| EAC (Optional) | spade terminal | electronic air cleaner HOT side |
| HUM (Optional) | spade terminal | humidifier HOT side |
| CIR N | spade terminal | circulator blower NEUTRAL terminal |
| Line N | spade terminal | input voltage (120 VAC) NEUTRAL side |
| XFMR N | spade terminal | 24 VAC transformer line voltage NEUTRAL side |
| EAC N (Optional) | spade terminal | electronic air cleaner NEUTRAL side |
| HUM N (Optional) | spade terminal | humidifier NEUTRAL side |
- The twinning feature is available only on models with six screw terminals; one of these terminals will be designated “TWIN”.
All 50A55-843 controls used in twinning applications must have the “TWIN” terminal. Maximum recommended flame probe wire length is 36 inches. - If ROLLOUT is part of the HIGH LIMIT circuit, jumper wire 151-2906 (provided with control) must be installed on the furnace from R01 to R02 of the 12-pin connector.
OPERATION
OPTION SWITCHES
The option switches on the 50A55-843 control are used to determine the length of the cool delay-to-fan-off, heat delayto-fan-on and heat delay-to-fan-off periods. The following table shows the time periods that will result from the various switch positions.
OPTION SWITCH POSITIONS
| COOL delay to-fan-off: | Set switch # 1 |
| 45 sec.* 90 sec. | On Off |
| HEAT delay to-fan-on: | Set switch # 2 |
| 30 sec.* 45 sec. | On Off |
| HEAT delay to-fan-off: | Set switch # 3 # 4 |
| 60 sec. 90 sec. 120 sec. 180 sec.* | On On Off On On Off Off Off |
- Factory Setting
HEAT MODE
In a typical system, a call for heat is initiated by closing the thermostat contacts. This starts the 50A55 control’s heating sequence. The inducer blower and optional humidifier are energized and the ignitor is powered within one second.
This controller has an adaptive algorithm that adjusts the dura-tion of the ignitor warm-up, to extend ignitor life.Upon initial application of power, the warm-up time is 17 seconds. The ignitor on-time will then be increased or decreased depending on whether or not flame is achieved.The warm-up time is limited to a maximum of 21 seconds. During the first 64 warm-up periods following power-up, the warm-up time may not be less than 17 seconds.
Upon a call for heat, if the warm-up time has not been locked, it will be decreased by one second. This reduction of the ignitor on-time will continue until flame fails to be achieved (resulting in a retry).
In the event of a retry, the warm-up time will be increased by two seconds and locked in at that duration. Once the warm-up time is locked, it remains fixed until another call for heat results in a retry, in which case the warm-up time is again increased by two seconds and remains locked.
In the event of two successive retry attempts, the warm-up time will be unlocked and set to 21 seconds. If flame is then achieved, the warm-up time will begin adapting again with the next call for heat. If, however, this third attempt fails to achieve flame, the control will go into system lockout.
At the end of the ignitor warm-up time, both valves in the 36E manifold gas valve are opened. Flame must be detected within 4 seconds.
If flame is detected, the delay-to-fan-on period begins. After the delay-to-fan-on period ends, the optional electronic air cleaner is energized and the circulator fan is energized at heat speed. When the thermostat is satisfied, the gas valve is de-energized. After proof of flame loss, the heat delay-to-fan-off period begins and the inducer blower remains energized to purge the system for 15 seconds. When the purge is complete, the inducer blower and humidifier are de-energized. After the delay-to-fan-off pe-riod ends, the circulator fan and electronic air cleaner are de-energized.
If flame is not detected, both valves are de-energized, the ignitor is turned off, and the 50A55 control goes into the “retry” sequence.The “retry” sequence provides a 60-second wait following an unsuccessful ignition attempt (flame not detected). After this wait, the ignition sequence is restarted with an additional 2 seconds of ignitor warm-up time. If this ignition attempt is unsuccessful, one more retry will be made before the control goes into system lockout.
If flame is detected, then lost, the 50A55 control will repeat the initial ignition sequence for a total of four “recycles”. After four unsuccessful “recycle” attempts, the control will go into system lockout.
If flame is established for more than 10 seconds after ignition, the 50A55 controller will clear the ignition attempt (or retry) counter.If flame is lost after 10 seconds, it will restart the ignition sequence. This can occur a maximum of five times before system lockout.
During burner operation, a momentary loss of power of 50 milliseconds or longer will de-energize the main gas valve.When power is restored, the gas valve will remain de-energized and a restart of the ignition sequence will begin immediately.
A momentary loss of gas supply, flame blowout, or a shorted or open condition in the flame probe circuit will be sensed within 2.0 seconds. The gas valve will de-energize and the control will restart the ignition sequence. Recycles will begin and the burner will operate normally if the gas supply returns, or the fault condition is corrected, before the last ignition attempt. Otherwise, the control will go into system lockout.
If the control has gone into system lockout, it may be possible to reset the control by a momentary power interruption of one second or longer.
Refer to SYSTEM LOCKOUT FEATURES.
COOL MODE
In a typical system, a call for cool is initiated by closing the thermostat contacts. This energizes the 50A55 control and the compressor. The cool delay-to-fan-on period begins. After the delay period ends, the optional electronic air cleaner is energized, and the circulator fan is energized at cool speed. After the thermostat is satisfied, the compressor is de-energized and the cool mode delay-to-fan-off period begins. After the delay-to fan-off period ends, the circulator fan and electronic air cleaner (optional) are de-energized.
MANUAL FAN ON MODE
If the thermostat fan switch is moved to the ON position, the circulator fan (cool speed) and optional electronic air cleaner are energized. When the fan switch is returned to the AUTO position, the circulator fan and electronic air cleaner (optional) are de-energized.
TROUBLESHOOTING
TWINNING INTERFACE
If the control has six screw terminals, one of which is designated TWIN, the control is equipped with a single wire twinning interface. If twinning is used, either control will process a call for heat, cool or fan as described above. However, after the heat-, cool-, or fan-on delay time expires, both units will energize the circulator blowers at the same time. Likewise, after the heat-, cool-, or fanoff delay time expires, both units will de-energize the circulator blowers at the same time. This allows for proper air flow to be obtained.To assure proper control operation, both controls must share a common transformer ground (TR).
To enable twinning, do the following.
- Power supplied to both furnaces must be from the same phase of the incoming 120 VAC power.
- Connect the TWIN screw terminals on the 50A55-843 of the furnaces to be twinned to each other using a single wire (14-22 AWG.).
SYSTEM LOCKOUT AND DIAGNOSTIC FEATURES SYSTEM LOCKOUT FEATURES
When system lockout occurs, the gas valve is de-energized, the circulator blower is energized at heat speed, and, if flame is sensed, the inducer blower is energized. The diagnostic indicator light will flash or glow continuously to indicate system status.(System lockout will never override the precautionary features.)
To reset the control after system lockout, do one of the following:
- Interrupt the call for heat or cool at the thermostat for at least one second but less than 20 seconds (if flame is sensed with the gas valve de-energized, interrupting the call for heat at the thermostat will not reset the control).
- Interrupt the 24 VAC power at the control for at least one second.You may also need to reset the flame rollout sensor switch.
- After one hour in lockout, the control will automatically reset itself.
DIAGNOSTIC FEATURES
The 50A55-843 control continuously monitors its own operation and the operation of the system. If a failure occurs, the LED will indicate a failure code as shown below. If the failure is internal to the control, the light will stay on continuously. In this case, the entire control should be replaced, as the control is not field-repairable.
If the sensed failure is in the system (external to the control), the LED will flash in the following flash-pause sequences to indicate failure status (each flash will last approximately 0.25 seconds, and each pause will last approximately 2 seconds).
1. Flash, then pause System lockout
2. Flashes, then pause Pressure switch stuck closed
3. Flashes, then pause Pressure switch stuck open
4. Flashes, then pause Open limit switch
5. Flashes, then pause Open roll out switch
6. Flashes, then pause 115 Volt AC power reversed/Im- proper ground
7. flashes, then pause Low flame sense signal Flame has been sensed when no flame should be present
(no call(no pause) Continuous flashing for heat)
The LED will also flash once at power-up.
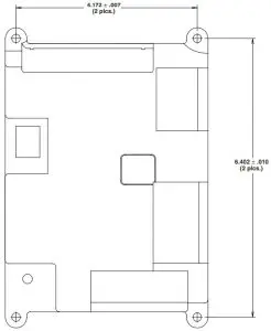
MOUNTING HOLE TEMPLATE

Refer to page 3 of the installation instructions for proper installation.
TECHNICAL SUPPORT: 1-888-725-9797
emerson.com/white-rodgers
Warning
























