BLAUPUNKT 359795 1800W Log Effect Medium Grey Stove

IMPORTANT: PLEASE READ ALL OF THE INSTRUCTIONS CAREFULLY AND RETAIN FOR FUTURE REFERENCE.
IMPORTANT SAFETY INSTRUCTIONS
- When using electrical appliances, basic safety precautions should always be followed to reduce the risk of fire, electric shock and injury to persons.
- Check the voltage indicated on the rating plate corresponds with that of the local network before connecting the appliance to the mains power supply.
- CAUTION: Some parts of this appliance can become very hot and can cause burns. Particular attention has to be given where children and vulnerable people are present.
- Children younger than 3 years old should be kept away from the appliance unless continuously supervised.
- Children aged from 3 years and less than 8 years should only switch on/off the appliance, provided that it has been placed or installed in its intended operating position and they have been given supervision or instruction concerning the use of the appliance in a safe way and understand the hazards involved.
- Children aged from 3 years and less than 8 years shall not plug in, regulate and clean the appliance or perform user maintenance.
- This appliance can be used by children aged from 8 years and above and persons with reduced physical, sensory or mental capabilities or lack of experience and knowledge if they have been given supervision or instruction concerning use of the appliance in a safe way and understand the hazards involved.
- Children should be supervised to ensure they do not play with the appliance.
- This appliance is not a toy.
- Children should not carry out cleaning or user maintenance without supervision.
- This appliance contains no user serviceable parts. If the power supply cord, plug or any part of the product is malfunctioning or if it has been dropped or damaged, only a qualified electrician should carry out repairs. Improper repairs may place the user at risk of harm.
- Keep the appliance and its power supply cord out of the reach of children.
- Keep the appliance and its power supply cord away from heat or sharp edges that could cause damage.
- Keep the power supply cord away from any parts of the appliance that may become hot during use.
- Keep the appliance away from other heat emitting products.
- Keep furniture, curtains and other flammable material at least one metre away from the appliance.
- Do not run the supply cord under carpets, rugs etc. or anywhere where it may present a trip hazard.
- Do not immerse the appliance or plug in water or any other liquid.
- Do not operate the appliance with wet hands.
- Do not use this appliance in the immediate surroundings of a bath, a shower or a swimming pool.
- This appliance must not be located immediately below a socket-outlet.
- Always unplug the appliance when not in use.
- Do not leave the appliance unattended whilst connected to the mains power supply or when in use.
- Do not remove from the mains power supply by pulling on the cord; switch off and remove by the plug.
- Do not use this appliance for extended periods of time.
- Do not use this appliance for anything other than its intended use.
- For indoor use only.
- This appliance is intended for domestic use only. It should not be used for commercial purposes.
- Do not block any air intake of the appliance; place in an open, well ventilated space.
- Do not attempt to move the appliance while it is in use.
- Do not put objects into any openings.
- Do not use the appliance with a programmer, timer, separate remote-control system or any other device that will switch the product on automatically, as there is a risk of fire if the appliance is covered or positioned incorrectly.
- In order to avoid a hazard due to inadvertent resetting of the thermal cut-out, this appliance must not be supplied through an external switching device such as a timer or connected to a circuit that is regularly switched on and off by the utility.
- This appliance should be used on a stable, heat-resistant surface.
- Do not place this appliance on a carpet with a deep pile.
- Always unplug the appliance after use and before any cleaning or maintenance.
- Use of an extension cord with the appliance is not recommended.
- Never use accessories that are not recommended or supplied by the manufacturer. It could cause danger to the user and damage the appliance.
- HOT SURFACE: Do not touch the hot section or heating components of the appliance.
- WARNING: In order to avoid overheating, do not cover the appliance.
PLACEMENT
This heater is designed to be placed on a hard, level surface. When positioning, please keep the following points in mind:
- If you are placing the heater in an alcove, make sure that there is at least 150mm of space on all sides to ensure good air circulation.
- The heater must not be located over a fixed electrical socket. The socket must always be accessible in order to disconnect the heater from the electrical supply for maintenance or when replacing a lamp.
- Keep hearth rugs and other soft furnishings away from the front of the heater. They could obstruct the free flow of hot air from the fan and damage both soft furnishings and heater.

CONTROLS
Never cover the heater or obstruct the opening at the base of the heater, this could cause overheating and consequently risk of fire.
LOCATION OF CONTROLS
The following switches are located under the front door of heater.

- Thermostat dial Adjust to maintain room temperature
- Flame dimmer dial Adjust to set flame intensity
- Flame switch Turn on/off for flame/fuel effect
- Heater switch Turn on/off for one of 900W heat setting
- Heater switch Turn on/off for one of 900W heat setting
OPERATION INSTRUCTIONS
- Insert plug into mains socket
- Open the front door.
- Select the desired functions:
- Flame/fuel effect on/off (3)
- Low heat setting 900W (3 + 4)
- High heat setting 1800W (3 + 4+ 5)
- Heating and Flame effect (1 + 2 + 3 + 4 + 5)
- Increase or decrease flame intensity by clockwise or anti-clockwise rotates the flame dimmer dial (2).
- Rotate thermostat dial (1) clockwise or anti-clockwise to increase or decrease desired room temperature setting.
Notice: Heater will only work if flame switch (3) is on and thermostat is set above current room temperature.
SAFETY CUT-OFF
This appliance is fitted with a safety cut-off which will operate if the fire overheats (e.g. Due to blocked air vents). For safety reasons, the fire will NOT automatically reset. To reset the appliance, disconnect the appliance from the mains supply for at least 15 minutes. Reconnect the supply to the mains and switch on the appliance.
BULB REPLACEMENT
The bulbs inside the heater are LEDs and not replaceable.
CLEANING AND CARE
- Before cleaning, always remove the plug from the electrical socket. Ensure that the unit is cool enough to work on.
- Do not use harsh chemicals or solvents to clean this product and avoid using abrasive cleaning agents.
- The heater and glass parts need only to be wiped clean with a dry, soft cloth; do not use polishes or abrasive materials.
- Do not immerse in water or any liquid when you clean it.
- Use a slightly damp, lint-free cloth to clean this appliance.
TROUBLESHOOTING
No heat or light: Check the wall socket by plugging in a working appliance. If socket is functional, and the cord or plug of the heater is suspected to be faulty, have it checked by an electrician.
Light but no heat: Check that the Thermostat on the stove is set above the current room temperature. Alternatively, the thermal cut-off may have engaged – see thermal cut-off section.
ERP Table

2-CORE PLUG
WARNING: Do not connect either wire to the earth terminal.
This symbol indicates that this 2-core appliance is Class II and does not require an earth connection.
The wire coloured blue must be connected to the terminal marked with the letter Nor coloured black.
The wire coloured brown must be connected to the terminal marked with the letter Lor coloured red.

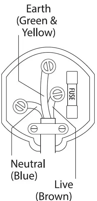
3-CORE PLUG
WARNING: This appliance must be earthed.
The wire coloured green and yellow must be connected to the terminal marked with the letter E, or by the earth symbol, or coloured green or green and yellow.
The wire coloured blue must be connected to the terminal marked with the letter N or coloured black.
The wire coloured brown must be connected to the terminal marked with the letter Lor coloured red.

TECHNICAL SPECIFICATION
Model Number: 359795
Voltage: 220-240 V – 50 Hz
Total heat power: 1800W
Bulbs: LED’S
This appliance complies with the below listed EU Directives
2014/30/ EU Electromagnetic Compatibility Directive
2014/35/ EU Low Voltage Directive
2011/65/ EU Restriction of Hazardous Substances
The complete declaration of conformity is available upon request for relevant enquiries
CUSTOMER SUPPORT
For all product support, please email: [email protected]
GUARANTEE
This product is guaranteed for twelve months from the date of original purchase. If any defect should occur due to faulty materials or workmanship, please return it to the store it was purchased from.
You will need to have your receipt of purchase to hand. The guarantee is subject to the following provisions:
- It is only valid within the boundaries of the country of purchase.
- The product must be correctly installed and operated in accordance with the instructions contained in the User Manual.
- The product must be used solely for domestic purposes.
- The guarantee will be rendered invalid if the product is re-sold or has been damaged by inexpert repair.
- The manufacturer disclaims any liability for incidental or consequential damages.
- The guarantee is in addition to, and does not diminish, your statutory or legal rights.
Information on Waste Disposal for Consumers of Electrical & Electronic Equipment
This mark on a product and/or accompanying documents indicates that when it is to be disposed of, it must be treated as Waste Electrical & Electronic Equipment (WEEE).
Any WEEE marked waste products must not be mixed with general household waste, but kept separate for the treatment, recovery and recycling of the materials used.
For proper treatment, recovery and recycling; please take all WEEE marked waste to your Local Authority Civic waste site, where it will be accepted free of charge.
If all consumers dispose of Waste Electrical & Electronic Equipment correctly, they will be helping to save valuable resources and preventing any potential negative effects upon human health and the environment, of any hazardous materials that the waste may contain.


















