
High-Efficiency Wood Stove- Large
![]() | |
Model Series: | Model Series: |
SAFETY NOTICE: IF THIS WOOD-BURNING APPLIANCE IS NOT PROPERLY INSTALLED, OPERATED, AND MAINTAINED, A HOUSE FIRE MAY RESULT. TO REDUCE THE RISK OF FIRE, FOLLOW THE INSTALLATION INSTRUCTIONS. FAILURE TO FOLLOW THE INSTALLATION INSTRUCTIONS MAY RESULT IN PROPERTY DAMAGE, BODILY INJURY OR EVEN DEATH. CONTACT LOCAL BUILDING OFFICIALS ABOUT RESTRICTIONS AND INSTALLATION INSPECTION REQUIREMENTS IN YOUR AREA.
WARNING
BEFORE LIGHTING YOUR FIRST FIRE, REMOVE PLASTIC FILM OFF TRIM AND CLEAN THE PLATED SURFACES WITH DENATURED ALCOHOL OR A GOOD QUALITY, NON-ABRASIVE LIQUID GLASS CLEANER. APPLY WITH A VERY SOFT, CLEAN CLOTH. DO NOT USE PAPER TOWELS TO CLEAN THE PLATED PARTS. FAILURE TO CLEAN ALL MARKS AND FINGERPRINTS FROM THE PLATED SURFACES WILL CAUSE PERMANENT DAMAGE. NOTE: Some states and provinces do not allow the exclusion or limitation of incidental or consequential damages. The above limitations may not apply to you.
This manual describes the installation and operation of the Model PH2200WS, PH2200WS-B, HWS-2200, HWS-2200-8, PWS-2200-B, SWS-2200, SWS-2200-13 WSL-2200, WSL-2200-B, WS-2200, WS-2200-B, LWS-2200, GWS-2200, GWS-2200-B non-catalytic wood heater. This wood heater needs periodic inspection and repair for proper operation. It is against federal regulations to operate this wood heater in a manner inconsistent with operating instructions in this manual.
CAUTION
After reading these instructions, if you have any doubt about your ability to complete your installation in a professional manner you should obtain the services of an installer versed in all aspects as to the correct and safe installation. Do not use temporary makeshift com-promises during installation.
BEFORE INSTALLATION OF YOUR APPLIANCE
- Check with the building inspector’s office for compliance with local codes; a permit may be required.
- The room heater must be connected to 1) a chimney complying with the requirements for Type HT chimneys in the standard for Chimneys, Factory-Built, Residential Type and Building Heating Appliance, UL 103, or in Canada CAN/ULC-S629 Standard for 650 degrees C Factory-Built Chimneys and applicable building codes or 2) a code-approved masonry chimney with a flue liner.
- A 6″ (152mm) diameter, 24 gauge Black Steel flue is required for proper performance.
- Always connect this unit to a chimney and NEVER vent to another room or inside a building.
- DO NOT connect this unit to any ductwork to which another appliance is connected such as a furnace.
- DO NOT CONNECT THIS UNIT TO A CHIMNEY FLUE SERVING ANOTHER APPLIANCE.
- The connector pipe and chimney should be inspected periodically and cleaned if necessary.
- Remember the clearance distances when you place furniture or other objects within the area. DO NOT store wood, flammable liquids or other combustible materials too close to the unit. Refer to the certification label on the back of your unit for required clearances.
- Contact your local municipal or provincial fire authority for information on how to handle a chimney fire. Have a clearly understood plan to handle a chimney fire. In the event of a Chimney fire, turn air control to the closed position and CALL THE FIRE DEPARTMENT.
- DO NOT tamper with combustion air control beyond normal adjustment.
- DO NOT INSTALL THESE UNITS IN A MOBILE HOME OR TRAILER. THESE UNITS ARE NOT MOBILE HOME APPROVED. 12. DO NOT CONNECT TO ANY AIR DISTRIBUTION DUCT OR SYSTEM.
- When installing a solid fuel appliance, it is also recommended to install Smoke and Carbon Monoxide Detectors on every level of the house. During the initial firing of the appliance, some smoke or odor may occur due to paint curing. You may want to keep some windows open for ventilation during the first few hours of burning to prevent smoke detector activation. Test your smoke and carbon monoxide detectors regularly.
OPERATION
WHY THE CORRECT FLUE SIZE IS IMPORTANT – 6″ Draft is the force that moves air from the appliance up through the chimney. The amount of draft in your chimney depends on the length of the chimney, local geography, nearby obstructions, and other factors. Too much draft may cause excessive temperatures in the appliance. An uncontrolled bum or a glowing red part or chimney connector indicates excessive draft. The inadequate draft may cause back puffing into the room and “plugging” of the chimney and/ or cause the appliance to leak smoke into the room through appliance and chimney connector joints. Today’s solid fuel appliances are more efficient than in the past. The units are designed to give you controlled combustion, and maximum heat transfer, using less fuel to do so. The design of your new appliance is such that the exhaust smoke is now at lower temperatures than in the past, therefore requiring proper chimney size to give adequate draft. If your chimney is too large, the heating appliance will have a difficult time raising the chimney flue temperature to give adequate draft, therefore causing a smoke backup, poor burn, or both. Should you experience such a problem call in a local chimney expert. With the door closed, the rate of burning is regulated by the amount of air allowed to enter the unit through the air control. With experience, you will be able to set the control for the heat and burning time desired. Once the required chimney draft is obtained, operate only with doors closed and open doors slowly when refueling. (This will reduce or eliminate smoke from entering the room). Attempts to achieve higher output rates that exceed heat-er design specifications can result in permanent damage to the heater. The recommended wood load is level with the top of the firebricks. Overloading may prevent sufficient air from entering the heater to properly fuel the fire. Operate this heater only with the door closed. DO NOT BURN GARBAGE OR FLAMMABLE FLUIDS, SUCH AS GASOLINE, NAPHTHA, OR ENGINE OIL DO NOT USE CHEMICALS OR FLUIDS TO START THE FIRE.
ALWAYS PROVIDE A SOURCE OF FRESH AIR IN THE ROOM WHERE THE UNIT IS INSTALLED. FAILURE TO DO SO MAY RESULT IN AIR STARVATION OF OTHER FUEL-BURNING APPLIANCES AND THE POSSIBLE DEVELOPMENT OF HAZARDOUS CONDITIONS.
HOT WHILE IN OPERATION. KEEP CHILDREN, CLOTHING, AND FURNITURE AWAY. CONTACT MAY CAUSE SKIN BURNS.
OPTIONAL BLOWER: MODEL PBAR-2427,
120 VOLTS, 60Hz, 1.0 AMPS, 2900 RPM
DANGER: RISK OF ELECTRIC SHOCK.
DISCONNECT POWER BEFORE SERVICING THE UNIT.
IMPORTANT: FOR OPTIMUM HEATER PERFORMANCE AT A LOW BURN RATE, OPERATE THE FAN AT LOW SPEED.
IMPORTANT: It is highly recommended that the wood stove and chimney be installed by a qualified installer. (A qualified installer is a person or entity who regularly installs wood heating products and chimneys, in the ordinary course of their regular business.)
WARNING This product and the fuels used to operate this product (charcoal or wood), and the products of combustion of such fuels, can expose you to chemicals including carbon black, which is known to the State of California to cause cancer, and carbon monoxide, which is known to the State of California to cause birth defects or other reproductive harm. For more information go to www.p65Wamings.ca.gov
Pedestal Base and Leg Installation
Before Installing Stove, Follow These Steps for Pedestal Base and leg Installation.
Model: HWS-230292 Large Wood Stove w/Pedestal Base
The pedestal base is pre-installed at the factory. No action is required.
Model: PH2200WS Large Wood Stove w/Pedestal Base and Legs
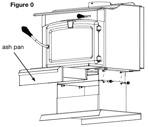
Remove the Ash pan and (4) bolts that secure the stove body to the pedestal as shown in Figure 0.
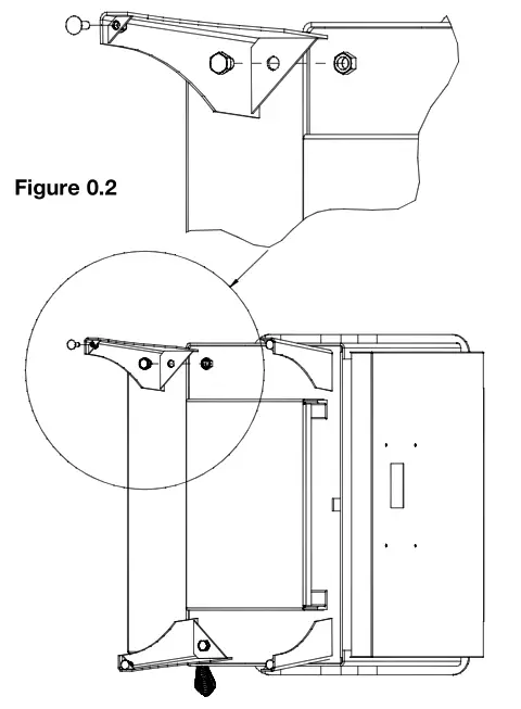
With assistance, lift the stove off of the pedestal and lay the stove on its side on a safe, elevated, padded, and level platform that is about 6″ off the ground. Using the bolts that were removed in step 1, bolt each leg to the bottom of the stove as shown in Figure 0.2.
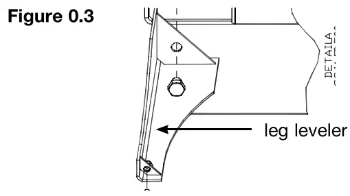
With assistance, lift the stove off of the raised platform, set it upright on the legs, and re-install the ash pan. When the stove is in place for installation, make sure the stove is level by adjusting the leg levelers shown in Figure 0.3.
Model: LWS-2200 Large Wood Stove w/Legs
Remove ash pan and (4) bolts in angle iron bracket as shown in Figure 0.1. With assistance, lift the stove off of a wooden pallet and lay stove on its side on a safe, elevated, padded, and level platform that is about 6″ off the ground. Using the bolts that were removed in step 1, bolt each leg to the bottom of the stove as shown in Figure 0.2. With assistance, lift the stove off of the raised platform, set it upright on the legs, and re-install the ash pan. When the stove is in place for installation, make sure the stove is level by adjusting the leg levelers shown in Figure 0.3.

INSTALLATION
Contact your local building inspector prior to installation. A permit may be required in your area.
- Remove all parts from inside the stove body.
- Select the proper location for the stove. These appliances must not be installed any closer than the minimum clearance to combustible materials shown in Brick pattern (Figure 1). The stove must be installed on a noncombustible surface as shown in Figure 1.

A minimum clearance of 18″ (457 mm) to the chimney connec-tor may be required by the authority having jurisdiction.
| From Heater | From Chimney Connector |
| A. Sidewall 23″ (584mm) | D. Sidewall 33″ (838mm) |
| B. Back Wall 16″ (406 mm) | E. Back Wall 19″ (483mm) |
| C. Corner 14″ (356mm) | F. Corner 24.5″ (622mm) |
| Minimum height to ceiling | 53.375″ (1356mm) |
| *16″ (406 mm) US | “18” (457 mm) Canada |
We recommend Placing the Stove on non-combustible floor protection equivalent to 1″ millboard. Floor protector must have a min. R-value of 2″. Consult your local building authorities for further information.
3. If noncombustible materials have been installed on the walls, obtain the minimum clearances from either the manufacturer of these materials or the local building inspector’s office.
4. Install the stovepipe INSIDE the flue collar on the top of the stove between the stove and chimney.
5. DO NOT use a grate to elevate the fire.
STOVE PIPE
- A clearance of 18 inches (457mm) between the stovepipe and combustible materials may be required. Check with authorities having jurisdiction in your area.
- All pipe sections must be connected with the male end (crimped end) toward the stove.
- Fasten the stove pipe to the flue collar by the use of three sheet metal screws. Do the same at each additional joint to make the entire installation rigid.
- Maintain the required diameter flue for the entire installation.
- If you are connecting the stove to an old masonry flue, be sure to have it inspected for cracks and general condition. Resizing with a stainless steel liner may be required.
- It is recommended that no more than two (2) 90° bends be used in the stove pipe installation. More than two (2) 90° bends may decrease the amount of draw and possibly cause smoke spillage.
- A damper is not required in this installation. Remove the damper plate in the chimney or secure in the OPEN position.
- Single wall flue pipe assemblies must not exceed 10 feet (3 m) in overall length.
CAUTION: DO NOT open fire door to a point where it would be in contact with the combustible sidewall.
CAUTION: Brick for ash drawer must be installed before operation of a wood heater.
CAUTION: DO NOT alter the primary air damper range
Optional Fan – An optional heat exchange blower is available for this wood-burning appliance. To order please see the local dealer where you purchased the appliance.
FLOOR PROTECTION
INSTALLATION ON A CONCRETE FLOOR
An appliance installed on a concrete floor does not require floor protection. If carpeting or any other combustible floor covering is installed, clearance around the stove must be maintained equivalent to the size of the floor protector described in the following section.
INSTALLATION ON A COMBUSTIBLE FLOOR
If the appliance is to be installed on a combustible floor or floor covering, a floor protector must be inserted under the stove and project beyond the front of the stove a minimum of 16″ (406mm) in the US or 18″ (457mm) in Canada and 8″(203mm) on all other sides. In the US the floor protector must also be positioned under any horizontal chimney run and project beyond the pipe a minimum of 2″ (51mm) on both sides. The floor protector must be a durable noncombustible material with a minimum thickness of 1.0″ and an R-value of “2”. To determine a material’s suitability use the following formulas; 1. If the material has an R (Thermal resistance) rating use the designated thickness and no conversion is needed. R values can be added for multi-layered materials. 2. If the material has a k (Thermal conductivity) rating convert this to an R rating using the formula R = 1/k x t (t = thickness in inches) 3. If the material has a C (Thermal conductance) rating convert this to an R rating using the formula R = 1/C.
CHIMNEY
CONTACT YOUR LOCAL BUILDING AUTHORITY FOR APPROVED METHODS OF INSTALLATION
- This appliance requires a masonry or pre-manufactured chimney listed to CAN/ULC-S629 (Canada) and UL103HT (USA) sized correctly.
- If a masonry chimney is used it is advisable to have your chimney inspected for cracks and check the general condition before you install your unit. Relining may be required to reduce flue diameter to the appropriate functional size.
- To help ensure a good draft, the top of the chimney should be at least 3 feet (914mm) above the point of penetration through the roof, and be at least 2 (610mm) feet higher than any point of the roof within 10 feet (3M).
- The chimney connector shall not pass through an attic, roof space, closet, concealed space, floor, ceiling, wall, or any partition of combustible construction.
- The minimum overall height of your chimney should be 15 feet (5 m) from the floor (Figure 3).
- Do not use makeshift compromises during installation.

REFER TO THE CHIMNEY MANUFACTURER’S INSTRUCTIONS FLUE DRAFT CONSIDERATIONS
The location of the appliance and chimney will affect performance. The chimney should:
- Penetrate the highest part of the roof. This minimizes the effects of wind turbulence and downdrafts.
- Consider the appliance location in order to avoid floor and ceiling attic joists and rafters. Exterior conditions such as roof line, surrounding trees, prevailing winds and nearby hills can influence stove performance. Your local dealer is the expert in your geographic area and can usually make suggestions or discover solutions that will easily correct your flue problem. NOTE: These are guidelines only, and may vary somewhat for individual installations.
IMPORTANT: It is highly recommended that the wood stove and chimney be installed by a qualified installer. (A qualified installer is a person or entity who regularly installs wood heating products and chimneys, in the ordinary course of their regular business.)
VENTING SYSTEMS
The venting system consists of a chimney connec-tor (also known as stove pipe) and a chimney. These get extremely hot during use. Temperatures inside the chimney may exceed 2000°F (1100°C) in the event of a creosote fire. To protect against the possibility of a house fire, the chimney connector and chimney must be properly installed and maintained. An approved thim-ble must be used when a connection is made through a combustible wall to a chimney. A chimney support pack-age must be used when a connection is made through the ceiling to a prefabricated chimney. These accesso-ries are absolutely necessary to provide safe clearances to combustible wall and ceiling material. Follow venting manufacturer’s clearances when installing venting sys-tem.
TOOLS AND SUPPLIES NEEDED
Before beginning the installation be sure that the follow-ing tools and building supplies are available.
| Reciprocating saw Pliers Hammer Phillips Head Screwdriver Flat Blade Screwdriver Plumb Line Level Tape Measure | Framing Material Hi-Temp Caulking Material Gloves Framing Square Electric Drill & Bits (1/4″) Safety Glasses 1/2 in. – /4 in. length, #6 or #8 self drilling screws (need per pipe section connection) |
WARNING
Ad Asphyxiation Risk.
* Do NOT connect this unit to a chimney flue servicing another appliance.
* Do NOT connect to any air distributon duct or system.
May allow flue gases to enter the house.
WARNING
Fire Risk.
Inspect appliance and components for damage.
Damaged parts may impair safe operation.
* Do NOT install damaged components.
* Do NOT install incomplete components.
* Do NOT install substitute components.
Report damaged parts to dealer.
This stove is listed by OMNI-Test Laboratories
of Portland, Oregon to meet UL1482 for the US – –
and ULC-S627 for Canada.
TESTED TO: UL UL 1482-2011 (R2015VULC-S627-00
REPORT NO. 0418WS018S/ 0418WS018E
Do Not Discard This Manual: Retain for Future Use
Questions, problems, missing parts? Before returning to your retailer, call our
customer service department at 877-447-4768 8:30 a.m. – 4:30 p.m. CST,
Monday – Friday or e-mail us at [email protected].
6440 W. Howard St.
Niles, IL 60714-3302 60-10-001
877-447-4768 10/25/2021




















