Skiddaw 4.9 kW Ecodesign Wood Burning Stove
Instruction Manual
BS EN 13240:2001 + A2:2004
Tested as intermittent appliances burning wood logs![]()
Installation & Operation Manual
Before we start
Thank you and congratulations, you are now the proud owner of one of the most environmentally friendly and efficient wood burning stoves available in the market today.
Your new stove is fully compliant with all European and UK laws and meets all the criteria of EcoDesign2022.
Please take a moment to study some of the key points that should be taken into consideration before you start using your new stove.
At Mi-Fires we believe the best way to enjoy the maximum benefit from your new stove is that it should be installed by a fully trained competent stove installer that can identify the optimal way to install and commission your new appliance.
You can find a list of fully approved and trained stove and chimney installers on the HETAS website or take advice from a registered competent person. WWW.HETAS.CO.UK
PLEASE NOTE: It is a LEGAL requirement under England, Scotland, N.I. and Wales building regulations that the installation of the stove is carried out under local authority building control approval or installed by a competent person registered with a government approved scheme.
MI-Fires are CE approved, Defra smoke exempt and can be used in smoke controlled zones only when the stop is in place and installed in accordance with the current building control regulations.
PLEASE NOTE: this is a WOOD ONLY stove, your new stove has been specifically designed for the combustion of wood and approved wood bricks. The use of other mineral fuels are not allowed.
The appliance should not be used as an incinerator for house hold waste or any unapproved fuels.
This appliance does get hot whilst running. It is recommended that a suitable guard is used to protect children and the elderly or infirm.
Please do not make any unauthorised changes or modifications to your appliance.
WARNING: Take care, the stove surfaces reach extremely high temperatures. To minimise the effects to the environment a few keys rules should be remembered.
ALWAYS ENSURE:
- The Correct Stove
- The Correct Installation
- The Correct Fuel
- The Correct Operation
- The Correct Sweeping and Maintenance
These few rules when followed will give you years of heat and enjoyment from your new stove.
Production Number
The wood stove has a production number on the rating plate on the back of the stove.
We recommend that you note down this number in the box below before mounting the wood stove.
For the purposes of the guarantee and for other enquiries, it is important that you are able to quote this number.
Compliance
Dimensions

Grisedale

Technical data
This appliance designed for intermittent operation only
| LOUGHRIGG | SKIDDAW | GRISEDALE | ||
| Nominal Heat Output | kW | 4.9 | 5 | 5 |
| Flue outlet diameter | mm | 125 | 125 | 125 |
| Measurements (LxWxH) | mm | 494 x 446 x 332 | 530 x 410 x 332 | 590 x 490 x 332 |
| Weight | KG | 65 | 64 | 76 |
| Materials | Steel body, cast-iron door | Steel body, cast-iron door | Steel body, cast Iron door | |
| Fuel | Wood & wood briquettes | Wood & wood briquettes | Wood & wood briquettes | |
| Max wood length | mm | 250 | 250 | 300 |
| Radiant Stove | Yes | Yes | Yes | |
| One Control, Primary, secondary and tertiary air | Yes | Yes | Yes | |
| Air-wash system | Yes | Yes | Yes | |
| Energy efficiency class | A+ | A+ | A+ | |
| Total Efficiency % | % | 82.7 | 85.1 | 80.4 |
| Mean CO Emission (at 13 % O2) | % | 0.09 | 0.08 | 0.1 |
| Mean Flue Gas Temperature | ºC | 231 | 218 | 249 |
| Flue Gas Mass Flow | g/s | 4 | 3.6 | 4.4 |
| Mean ChM Emission (at 13 % O2) | Nmg/m³ | 65 | 70 | 79 |
| Mean NOx Emission (at 13 % O2) | Nmg/m³ | 103 | 98 | 127 |
| DIN Plus Particulates (at 13 % O2) | Nmg/m³ | 18 | 13 | 14 |
| Distance to Combustible (Back)* | mm | 300 | 250 | 250 |
| Distance to Combustible (Sides)* | mm | 400 | 400 | 400 |
| Distance to Furniture (Front)* | mm | 1075 | 1075 | 1075 |
| Minimum Hearth Distance (Front) | mm | 400 | 400 | 400 |
The results stated were obtained when burning wood logs.
Transportation
When taking your wood burning stove home, please ensure that it travels in an upright position. If you wish to lay it flat, it is important that you remove all loose parts from the combustion chamber.
Your new wood stove is optimally protected against damage by the packaging. However, damages to the stove or accessories may have occurred during the transport despite this.
For this reason, it is necessary to check your wood stove for damages and completeness after unpacking. Immediately report any defects to your specialist stove dealer!
Note: This appliance is heavy and must be handled with care. Adequate facilities must be available for loading, unloading and site handling.
Installation of the stove
Pre-Installation
It is a LEGAL requirement under England and Wales building regulations that the installation of the stove is carried out under local authority building control approval or installed by a competent person registered with a government approved scheme.
It is important to ensure that all local rules and regulations, including ones relating to national and European standards, are complied with when installing this device.
Your dealer can also provide you with installation advice.
Remember, it is your responsibility that rules in force are complied with.
More information can be found out by consulting
British Standards BS 8303. BS EN 152871:2010 Building Regulation Approved Document J for England and Wales Building Regulations Part F for Scotland Building Regulations/1997 Technical Guidance Approved Document J-Heat Producing Appliances for the Republic of Ireland
Registered Body: HETAS (GB only) INFO (Ireland)
Health and Safety Precautions: Special care must be taken when installing the stove such that the requirements of the Health and Safety at Work Act are met.
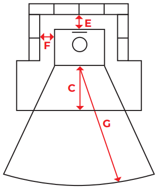
DISTANCES TO COMBUSTIBLES AND RECOMMENDATIONS TO NON-COMBUSTIBLES MATERIALS.
| LOUGHRIGG | SKIDDAW | GRISEDALE | ||
| Back wall (Combustibles) | A | 300mm | 250mm | 250mm |
| Side wall (Combustibles) | B | 400mm | 400mm | 400mm |
| Hearth projection front | C | 400mm | 400mm | 400mm |
| Hearth projection side | D | 150mm | 150mm | 150mm |
| Back wall (Noncombustible) | E | 50mm | 50mm | 50mm |
| Side wall (Noncombustible) | F | 75mm | 75mm | 75mm |
| Distance to furniture (front) | G | 1075mm | 1075mm | 1075mm |
Position of the stove / Distance requirements
The wood burning stove must be installed in a suitable and physically possible position. You need to be sure that the position complies with local regulations.
Please ensure if the stove is placed in a fireplace recess it is advised that there is at least 50mm clearance at the back and 75mm at the sides of the stove to non-combustible materials, the ideal distance is 150mm for better convection around the body of the stove in a non-combustible chamber.
Great attention must be paid to the distance to combustible material as stated below in freestanding area and within a fire place chamber.
| Recommended distances to combustibles | Recommended distances to non-combustibles |
![]() | ![]() |
MI-Fires freestanding stoves do not require a constructional hearth beneath them as they do not cause the floor temperature to exceed 100 degrees C.
Your hearths must be generally level. In all instances a non-combustible superimposed hearth extending fully underneath the stove and forming an apron of at least 400mm at the front of the stove and 150mm on either side must be provided.
The superimposed hearth must not be less than 12mm thick and must have a clearly defined edge (change of level) to discourage placing of any combustible materials on or partially over it.
The appliance shall be installed on a floor with adequate load-bearing capacity. If the existing construction does not meet this requirement, suitable measures (e.g. load distributing plate) should be provided to achieve it.
WARNING: Extra fuel should not be stored on or next to the appliance. Only keep enough fuel for immediate use nearby and never leave the appliance unattended for long periods with any combustible material in close proximity.
Flue Requirements
Please ensure that all local rules and regulations are complied with, including CE marking of the flue pipe. Additionally, distance requirements to flammable material for the pipe must be respected.
The optimum combustion is achieved at a constant chimney draft of 10-14 Pascal (Pa) measured in the flue pipe above the stove.
However, with natural draft the draft in the chimney will be between 18-25 Pa when conditions are optimum.
There are many factors that affect the chimney draft, including the outside temperature, wind strength, and surrounding buildings.
The minimum flue height requirement is 4.5 metros, if this cannot be achieved you will have to seek the advice of a flue and chimney specialist to carry out a BS EN13384 Chimney Calculation to see if the chimney will work.
If the stove is being fitted into a brick chimney or clay / concrete chimney it must be swept before installation and checked for soundness and suitability.
The chimney must also be free from cracks and blockages. We advise you take the advice of a registered chimney sweep on this matter.
In all cases we recommend the use of a stainless steel MI-Flex liner when retro fitting into an existing fire place, as this will help give you the optimal flue draft required to operate your stove correctly.
If the stove is fitted in place of an open fire and no flue liner is fitted then the chimney should be swept one month after installation to clear any soot falls which may have occurred due to the difference in combustion between the stove and the open fire.
The connection to the existing chimney can be made with CE marked BS EN 18562 connecting pipe made from vitreous enamel or 316 stainless steel with a minimum thickness of 0.6mm.
If no chimney is present the use of an EN1856part 1 chimney system is required.
Example: MI-Flues TopPro.
The chimney and connecting flue pipe must not narrow to less than the size of the outlet socket of the stove at any point.
This appliance must not be used in a shared flue system The minimum flue draft is 12 Pascal’s at nominal output.
Ventilation / fresh air supply
In order for the wood burning stove to function at optimum efficiency, air is needed for the combustion process. There must be sufficient fresh air coming into the room containing the wood burning stove. In very well-insulated houses, or houses with powerful cooker hoods and/or air conditioning systems, a vacuum can be created around the wood burning stove, leading to smoke leakage and poor combustion.
In normal scenarios this stove complies with the guidance given in approved Document J of the Building Regulations that states that purpose provided ventilation is not required in England and Wales unless the appliance nominal rated output is greater than 5kW.
Extractor Fan Warning: There must not be an extractor fan fitted in the same room as the stove as this can cause the stove to emit fumes into the room. If unavoidable the appliance must be checked with Approved Document (A.D.) 1.21 and necessary action taken
Action may have to be taken if other heating appliances are in the same dwelling to make sure the correct ventilation applies.
The Clean Air Act 1993 and Smoke Control Areas
Under the Clean Air Act local authorities may declare the whole or part of the district of the authority to be a smoke control area. It is an offence to emit smoke from a chimney of a building, from a furnace or from any fixed boiler if located in a designated smoke control area. It is also an offence to acquire an “unauthorised fuel” for use within a smoke control area unless it is used in an “exempt” appliance (“exempted” from the controls which generally apply in the smoke control area).
In England appliances are exempted by publication on a list by the Secretary of State in accordance with changes made to sections 20 and 21 of the Clean Air Act 1993 by section 15 of the Deregulation Act 2015.
In Scotland appliances are exempted by publication on a list by Scottish Ministers under section 50 of the Regulatory Reform (Scotland) Act 2014.
In Northern Ireland appliances are exempted by publication on a list by the Department of Agriculture, Environment and Rural Affairs under Section 16 of the Environmental Better regulation Act (Northern Ireland) 2016.
In Wales appliances are exempted by regulations made by Welsh Ministers.
Further information on the requirements of the Clean Air Act can be found here: https://www.gov.uk/smoke-control-arearules
Your local authority is responsible for implementing the Clean Air Act 1993 including designation and supervision of smoke control areas and you can contact them for details of Clean Air Act requirements.
The Grisedale, Loughry & Skiddaw Stove have been recommended as suitable for use in smoke control areas when burning wood logs. These appliances have been fitted with a modification to the air controls at the correct minimum position to comply with the smoke control requirements. The Grisedale, Loughry & Skiddaw stoves are factory fitted with the smoke control modification in place.
Commissioning
Check all internal parts are fitted correctly and there are no gaps between the firebricks and baffles and the log retainer is secure.
During transportation, it may happen that the baffle plate in steel falls out of place.
Therefore, before using the stove, please make sure that the baffle plate is properly placed (on the hooks or fastened to the bolts depending on the model)
Make sure the flue connection if secure and sealed.
Check all the levers are operating fully and freely.
CO Alarm: Building Regulations require that whenever a new or replacement fixed solid fuel or wood/biomass appliance is installed in a dwelling a carbon monoxide alarm must be fitted in the same room as the appliance. Further guidance is available in BS EN50292:2002 and from the alarm manufacturer’s instructions. Provision of an alarm must not be considered a substitute for either
Lighting and using the stove
Important safety information
- The wood burning stove will become warm during use and therefore it should be treated with all necessary caution.
- Never keep easily combustible fluids such as petrol in the vicinity of the wood burning stove.
- Never use easily combustible fluids to light the fire in the wood burning stove.
- Never empty the ashes when the wood burning stove is warm. Embers may still be found in the ash for up to 24 hours after the fire has gone out. Please wait to empty the ash until you are sure that there are no embers in the ash.
- The door should be kept closed while the wood burning stove is in use. While lighting the fire, the door can stand ajar for the first few minutes.
- In the event of a chimney fire: Close all the dampers on the wood burning stove and call the firefighting service.
- Your installer should have fitted a CO alarm in the same room as the appliance.
If the alarm sounds unexpectedly, leave the premises immediately and contact installer. Let the fire go out. - The control and handles will get warm when the wood burning stove is in use.
Please use the glove provided when you operate the wood burning stove.
The first time a fire is lit
The first few times the wood burning stove is used, there may be some smoke and unpleasant odours from the wood burning stove, which is fairly normal. This is caused by the heat-resistant paint hardening. Make sure there is sufficient ventilation during this stage. It is also important not to let the fire burn too fiercely the first 2-3 times, so that the wood burning stove has time to expand slowly.
You should also be aware that the stove may make some clicking sounds as it heats up and cools down – like pouring boiling water into a sink. These are caused by the great differences in temperature to which the materials are being exposed.
During the first firing, which should be carried out using approximately 1 kg of wood, the stoking door must be left slightly open and must not be closed until the stove is cold. This is to prevent the sealing rope sticking to the stove.
The Stove Air Controls
Your Mi-Fire stove is fitted with a very simple one lever air control, this allows you to regulate the amount of combustion air that enters your wood burning stove, the simple fact is that the more oxygen that enters the stove the hotter the stove will burn. The down side to this is that the faster combustion happens in the stove the quicker the wood will burn away. Your air control will help you regulate the effect of the stove and the heat output generated.
When the air control is pulled fully out all the air dampers are open in the stove and maximum amount or air is entering the combustion area.
When pushed fully in all the air channels are closed and you we visually see the flames in the stove reduce. In-between these two positions you will find the perfect combustion zone.

How should I use my wood burning stove?
The wood burning stove is intended for intermittent combustion. This means that each stoking should burn down to embers before new logs are added.
To obtain the best possible combustion, you should regulate the effect/heat output with the fuel and Air.
Burning small logs provides more powerful combustion than burning large logs as the surface area is greater and more gas is released. The amount of wood in the combustion chamber is another factor that affects combustion.
The optimum combustion is achieved by placing two logs in the stove. If you want an enhanced effect, you can add more logs.
The ideal heat output is reached by burning approx. 1,5 kg per hour.
Lighting a fire in the wood burning stove
The fire lighting method is very important for starting combustion quickly and efficiently.
- Open the Air control under the door fully.
- Place a small log of wood crosswise in the combustion chamber and put 2 firelighters close to the log. Put a new small log close to the firelighters and place several sticks of kindling at an angle above it in a cross hatch shape. Air must be able to reach the firelighters, but the logs should be touching to “warm” each other.
Light the firelighters with a match. - Keep the door approx. 1cm ajar, until the glass is too hot to touch. Then close the door. When there are distinct, visible flames and the fire has taken hold.
WARNING: The control and handles will get warm when the wood burning stove is in use. Please use the glove provided when you operate the wood burning stove. - Once the first charge of wood has burnt away leaving a glowing bed of embers slowly open the stove door using the glove provided and re-stoke the fire with the desired amount of wood. Close the door and open the air control to maximum (towards you) for a few minutes to allow the new wood to catch fire then slowly push the air control back into the stove until the desired effect is reached.
In order to avoid the quenching of the stove fire by use of oversized logs we recommend a maximum wood fuel size of 4” (10cm) diameter by 10” (25cm) length split seasoned logs, with a maximum moisture content of 20%.
This appliance is designed to operate with the door closed, except for lighting and reloading, failure to close the door during operation can result in fume spillage.
WARNING: Properly installed, operated and maintained this appliance will not emit fumes into the dwelling. Occasional fumes from re-fueling may occur. However, persistent fume emission is potentially dangerous and must not be tolerated. If fume emission does persist, the following immediate actions should be taken:
- Open doors and windows to ventilate room then leave the premises.
- Let the fire go out or eject and safely dispose of fuel from the appliance.
- Check for flue or chimney blockage, and clean if required.
- Do not attempt to relight the fire until the cause of the fume emission has been identified and corrected.
If necessary seek expert advice.
Important Information for Wood Burning
With a full load of wood and burning near nominal output the stove will need to be refueled approximately every 1-1.5 hours. One or two large logs will burn longer than a number of smaller ones. Care must be taken that logs do not touch the baffle or the glass panel. Do not stack logs above the level of the tertiary air inlet profiling in the rear vermiculite firebox liners at the back of the stove.
Always make sure that flames are visible above the wood after re-fueling for cleanest burning. Burning without flames above the fuel will create unnecessary smoke. After refueling open the primary air control fully for 3 minutes or until the logs are fully blackened to achieve full flames above the fuel.
Wood burns best on a bed of ash and it is therefore only necessary to remove surplus ash from the stove occasionally. Burn only dry, well-seasoned wood, which should have been cut, split and stacked – under cover from rain – for at least 12-24 months with free air movement around the sides of the stack to enable it to dry out.
Burning wet or unseasoned wood will create tar deposits in the stove and chimney and will not produce a satisfactory heat output. Wood that is not properly dry (‘dry’ is considered to be less than 20% internal moisture content) uses up energy from the burn process to evaporate the water inside the wood thus creating very poor conditions for combustion.
The main cause of burning problems with wood stoves is due to excessively damp wood.
Wood can appear perfectly dry on the outside but still contain 40-50% water on the inside.
A moisture meter can be purchased from stove and equipment suppliers if you wish to check your wood source is correct. Split a log and check the inside as well as the outside.
Refueling on to a low fire bed if there is insufficient burning material in the fire bed to light a new fuel charge, excessive smoke emission can occur. Refueling must be carried out onto a sufficient quantity of glowing embers and ash so that the new fuel charge will ignite in a reasonable period. If there are too few embers in the fire bed, add suitable kindling to prevent excessive smoke.
Fuel overloading the maximum amount of fuel specified in this manual should not be exceeded, overloading can cause excess smoke.
Operation with door left open Operation with the door open can cause excess smoke and spillage into the room. The appliance ‘Must Not’ be operated with the appliance door left open.
Dampers Left Open: Operation with the air controls or appliance dampers open can cause excess smoke. The appliance must not be operated with air control, appliance dampers or door left open except as directed in the instructions.
Cleaning and Maintenance
Chimney Sweeping
Ensure your stove and chimney is swept at least once a year by a professional accredited chimney sweep. Use the HETAS find a chimney sweep tool.
www.hetas.co.uk/find-chimney-sweep/
The top baffle must also be cleaned once a year at least to remove any build-up of ash or residue from the chimney.
Combustion chamber
The fireproof tiles in the combustion chamber eventually wear out and should be replaced when the cracks are more than 0.5 cm. The durability of the tiles depends on how often and how intensively the stove is used.
Spare parts are available from MI-Fires directly or from your local Mi-Fires dealer.
Glass
Wet wood, unsatisfactory chimney draft, and wrong use of the stove can leave soot stains on the glass pane. They can easily be removed using a damp cloth that you dip in cold ash and rub on the sooty glass.
Special cleaning agents are also available to remove soot from glass, e.g. the Trollull Stove Glass Cleaner. The pad neither scratches or damages the glass and is for multiple usages.
Water or other cleaning agents are not necessary.
It is common maintenance to tighten the glass fittings shortly after the stove has been installed as well as to check if the gaskets are properly placed.
4.4 Gaskets
With time, gaskets around glass and door will wear. We recommend that you inspect them regularly. If leakages appear, they must be replaced.
4.5 Ash
Empty the ash bed before it gets completely full. Always leave a layer of ashes in the stove because it insulates and makes it easier to light a fire.
4.6 Cleaning the stove
The stove’s surface is treated with a heat resistant Stenotherm® paint, which will stay at its best just by being vacuumed with a small, soft mouthpiece or dusted with a soft, dry cloth. Do not use spirit or other solvents, as they will remove the paint. MI-Fire stoves are painted with a heat-resistant paint that can withstand temperatures up to 500 degrees. If the surface of the stove gets scratched or worn, it can easily be renewed using this type of paint. The paint is available in black metallic from your local dealer.
4.7 Spare Parts
All spare parts and consumable items are available directly from MI-Fires or can be purchased from your local stove specialist.
Warranty & Recording
MI-Fires Stoves Warranty
Terms & Conditions
The Firebox of your MI-Fires Stove is Guarantee against manufacturing and material defects for a minimum period of 12 months from the date of purchase, you can however extend the warranty period in a number of ways.
- Completing and returning the warranty registration form will increase the warranty to two years*
- Installing the stove with an “MI-Flues” flue liner or chimney system can extend the warranty to ten years**
The Warranty commences on the date of purchase.
This warranty will only cover consumable parts if the purchaser can prove that they were damaged upon receipt of the stove.
The warranty is non-transferable and is only available to the original purchaser.
This warranty does not affect your statutory rights.
In the unlikely event of any failure we will replace any defective part free of charge, labour cost excluded.
The Stove and Flue system must be inspected, serviced and cleaned on an annual basis by a suitably qualified engineer, certificates and receipts must be retained as proof of maintenance.
Exclusions & Limitations
The warranty will be void if the appliance is not installed by a suitably qualified person, or is not installed in accordance with the current building regulations.
The warranty will be void if the appliance is modified in any way or assembled incorrectly.
MI-Flues Ltd will not be responsible for any incidental or consequential loss, damage or injury however caused.
The following parts are considered as consumable items and as such are not covered by any warranty:
- Glass
- Vermiculite insulation panels
- Vermiculite baffle
- Secondary steel baffle
- Door and glass rope seals
- Paint finish
It is a condition of the warranty that the stove is only used in accordance with the installation instructions, and is not subjected to misuse or neglect, including the use of non-recommended fuels.
* The Warranty registration form is found at the rear of the Installation instruction Manual.
** For the context of the warranty, an MI-Flues flue liner or chimney system is described as a complete flue system purchased from MI-Flues Ltd or one of its distributors. The complete system must comprise exclusively of the correct components taken from the MI-Flues product range.

THE BEST STOVE GLASS CLEANING SPONGE
Perfect dry cleaning for all stove glass
- Fast Clean
- Scratch Free
- Clear View
Available on-line at www.mi-fire.com or from all good retailers
Installer details and hand over checklist
Dealers Contact Details
| HETAS Number | Date of Purchase |
Installers Contact Details
| HETAS Number | Date of Installation |
Appliance serial number
Flue draft test complete? YES
NO
Pascal Rating
Type of Flue System
Unlined Masonry Diameter Manufacturer
Installation instructions left with customer YES
NO![]()
Lined Masonry
Diameter
Manufacturer
Installation instructions left with customer YES
NO ![]()
Clay Pot Diameter
Manufacturer ![]()
Installation instructions left with customer YES
NO ![]()
Insulated Twin Wall System Diameter
Manufacturer ![]()
Installation instructions left with customer YES
NO ![]()
Annual service / Sweeping record
| DATE | ENGINEER/SWEEP | NAME | CERTIFICATE RETAINED |
Warranty registration
To validate and start your warranty please fill out this form and return it to: MI-Flues Ltd
MI-Fires Warranty Registration
Taymin Business Park, Mitcham Road, Blackpool, Lancashire, FY4 4QN
YOUR DETAILS
Name………………………………………………………
Address……………………………………………………..
Postcode……………………………………………………..
Contact Number……………………………………………………..
Email……………………………………………………..
Model name……………………………………………………..
Serial number……………………………………………………..
Installation date……………………………………………………..
Installer name……………………………………………………..
Installer HETAS Registration No…………………………………
MI-Flues Ltd
Taymin Business Park
Mitcham Road
Blackpool, Lancashire
FY4 4QN
[email protected]
[email protected]
www.mi-fires.com




















