WEST FIRE WF 44 Ecodesign Wood Burning Stove

PRODUCT SHEET
| PRODUCT | Westfire |
| Model | Westfire Uniq 44 Westfire Uniq 45 Westfire Uniq 46 |
| Energy Efficiency Class | A+ |
| Nominal Heat Output to Room Puissance thermique | 5.0 kW |
| Nominal Heat Output to Water | 0 kW |
| Seasonal Space Efficiency ( EEI ) | 107 |
| Net Efficiency | 80% |
| Specific precautions when installed or maintained | See the Instructions |
This manual refers to the stove type listed above, which has been tested in accordance with EN 13240.
Congratulations on your purchase of a new wood-burning stove from Westfire. Please read this manual carefully in order to ensure that you get maximum enjoyment from your new stove and to prevent any problems. Please note that “all local regulations, including those referring to national and European Standards, need to be complied with when installing this appliance”.
For further information on installing and using fireplaces and wood-burning stoves, please see the relevant building regulations that apply to the country in which UNIQ44/ UNIQ45/ UNIQ46 has been
approved, as well as the relevant documents on the correct use of wood-burning stoves available from your local stove supplier or your Chimney sweep.
These instructions cover the basic principles to ensure the satisfactory installation of the UNIQ44/ UNIQ45/ UNIQ46 wood stoves, although the detail may need slight modification to suit particular local site conditions. In all cases, the installation must comply with current Building Regulations, Local Authority Byelaws, and other specifications or regulations as they affect the installation of the stove. It should be noted that the Building Regulations requirements may be met by adopting the relevant recommendations given in British Standards BS 8303, BE EN15287-1:2007 design, installation, and commissioning of chimneys.
HEALTH AND SAFETY PRECAUTIONS
Special care must be taken when installing the stove such that the requirements of the Health and Safety at Work Act are met.
Handling
Adequate facilities must be available for loading, unloading, and site handling.
Fire Cement
Some types of fire cement are caustic and should not be allowed to come into contact with the skin. In case of contact, wash immediately with plenty of water.
Asbestos
This stove contains no asbestos. If there is a possibility of disturbing any asbestos in the course of installation then please seek specialist guidance and use appropriate protective equipment.
Metal Parts
When installing or servicing this stove care should be taken to avoid the possibility of personal injury.
C0 Alarms
Building regulations require that whenever a new or replacement fixed solid fuel or wood/biomass appliance is installed in a dwelling a carbon monoxide alarm must be fitted in the same room as the appliance. Further guidance on the installation of the carbon monoxide alarm is available in BS EN 50292:2002 and from the alarm manufacturer’s instructions. The provision of an alarm must not be considered a substitute for either installing the appliance correctly or ensuring regular servicing and maintenance of the appliance and chimney system.
Stove paint aerosols
Paint aerosols are flammable and therefore dangerous to use around a lit stove. Be sure to allow aerosol spray paints to dry and ventilate the room well before lighting the stove. The use of any aerosol around lit stove is dangerous and care must be taken in handling aerosols.
UNIQ 44 / UNIQ45 / UNIQ46 dimensions
| UNIQ 44 | UNIQ 45 / UNIQ 46 | |
| Height | 736 mm | 950 mm |
| Width | 477 mm | 477 mm |
| Depth | 374 mm | 374 mm |
| Closed combustion | yes | Yes |
STOVE PERFORMANCE & TESTING
Westfire UNIQ44/ UNIQ45/ UNIQ46 have been approved in accordance with EN 13240
| Stove model | Weight | Nominal heat output | |
| Wood | Smokeless fuels | ||
| UNIQ 44 | 80 kg | 5.0 KW | N/A |
| UNIQ 45 / UNIQ 46 | 90 kg | 5.0 KW | N/A |
PREPARATORY WORK AND SAFETY CHECKS
IMPORTANT WARNING
This stove must not be installed into a chimney that serves any other heating appliance. There must not be an extractor fan fitted in the same room as the stove as this can cause the stove to emit fumes into the room.
Chimney
Chimney Connection: Flue Diameter 125 mm
IMPORTANT: Once the stove is unpacked and checked it is necessary to remove the central bar from the flue collar of the stove before installation. To remove and unbolt the collar remove the bar and replace the collar. In order for the stove to perform satisfactorily, the chimney height must be sufficient to ensure an adequate draught so as to clear the products of combustion and prevent smoke problems in the room. Minimum draft: UNIQ44/ UNIQ45/ UNIQ46 stoves have been tested with a draft of 12 Pa. Maximum draft 25 Pa. Flue gas flow 4.5 g/sec.
Flue gas temperature 249°C. approximately 12 Pa
NOTE: A chimney height of not less than 4.5 meters measured vertically from the outlet of the stove to the top of the chimney should be satisfactory. Alternatively, the calculation procedure given in BS 5854:1980 may be used as the basis for deciding whether a particular chimney design will provide sufficient draught.
The outlet from the chimney should be above the roof of the building in accordance with the provisions of Building Regulations Approved Document J.
If the installation is into an existing chimney then it must be sound and have no cracks or other faults which might allow fumes into the house. Older properties, especially, may have chimney faults or the cross-section may be too large i.e. more than 160 mm x 160 mm. Remedial action should be taken, if required, seeking expert advice, if necessary. If it is found necessary to line the chimney then a flue liner suitable for solid fuel must be used in accordance with Building Regulations Approved Document J.
Any existing chimney must be clear of obstruction and have been swept clean immediately before installation of the stove. If the stove is fitted in place of an open fire then the chimney should be swept one month after installation to clear any soot falls which may have occurred due to the difference in combustion between the stove and the open fire.
If there is no existing chimney then either a prefabricated block chimney in accordance with Building Regulations Approved Document J or a twin-walled insulated stainless steel flue to BS 4543 can be used. These chimneys must be fitted in accordance with the manufacturer’s instructions and Building Regulations.
A single wall metal flue pipe is suitable for connecting the stove to the chimney but is not suitable for use for the complete chimney. The chimney and connecting flue pipe must have a minimum diameter of 150 mm and its dimension should be not less than the size of the outlet socket of the stove.
Any bend in the chimney or connecting flue pipe should not exceed 45°. 90° bends should not be used.
If it is found that there is excessive draught in the chimney then either an adjustable flue damper or alternatively a draught stabilizer should be fitted. The adjustable flue damper should not close off the flue entirely but should in its closed position leave a minimum continuous opening-free area of at least 20% of the total cross-sectional area of the flue or flue pipe. Adequate provision e.g. easily accessible soot door or doors must be provided for sweeping the chimney and connecting the flue pipe.
Distance to Combustible materials
Combustible materials should not be located where the heat dissipating through the walls of fireplaces or flues could ignite it. Therefore when installing the stove in the presence of combustible materials due account must be taken of the guidance on the separation of combustible material given in Building Regulations Approved Document J and also in these stove instructions.
| WESTFIRE WF UNIQ 44 / UNIQ 45 / UNIQ 46 | |
| Distance to combustible materials rear | 100 mm |
| Distance to combustible materials side | 300 mm |
| Distance to flammable | 900 mm |
Hearth
The hearth should be able to accommodate the weight of the stove and its chimney if the chimney is not independently supported.
The Westfire UNIQ44/ UNIQ45/ UNIQ46 wood stoves has been tested and is suitable to be installed on a 12 mm noncombustible plate such as Westfire 12 mm glass plates or 20 mm slate plates. Installation of all hearths should comply in size and construction so that it is in accordance with the provisions of the current Building Regulations Approved Document J.
The clearance distances to combustible material beneath, surrounding or upon the hearth and walls adjacent to the hearth should comply with the guidance on the separation of combustible material given in Building Regulations Approved Document J and also in these stove instructions. If the stove is to be installed on a wooden floor, it must be covered with a non-combustible material at least 12 mm thick, in accordance with Building Regulations Approved Document J, to a distance of 30 cm in front of the stove and 15 cm to each side measuring from the door of the combustion chamber.
Combustion air supply
In order for the stove to perform efficiently and safely there should be an adequate air supply into the room in which the stove is installed to provide combustion air. This is particularly necessary if the room is double-glazed or a flue draught stabilizer is operating in the same room as the appliance. The provision of air supply to the stove must be in accordance with current Building Regulations Approved Document J. An opening window is not appropriate for this purpose. Air inlets must be positioned in such a way that they cannot be blocked. An air inlet may be a vent (the vent must be open and the capacity of the vent sufficient when the stove is lit) or a fresh air system linked to the stove.
There are no European rules regarding the minimum distance to non-flammable walls, Westfire recommends leaving a gab of at least 10 cm behind and to sides of stove.
Westfire Insulated chambers
The Westfire UNIQ44/ UNIQ45/ UNIQ46 wood-burning stoves is lined with heat deflection panels and baffles, these panels are designed to ensure maximum efficiency and are an integral part of the clean burn process of the stove. These baffles should not be removed apart from for cleaning the stove. Any defective panels should be replaced.
Connection to chimney
Westfire UNIQ44/ UNIQ45/ UNIQ46 wood stoves have both rear and top flue connector that allows connection to either a masonry chimney or a prefabricated factory-made insulated metal chimney in accordance with the instructions for “Connection to chimney” given in the instruction booklet.
Commissioning and handover
Ensure loose parts are fitted in accordance with the instructions, page 16. ‘Vermiculite fire brick installation sequence’ before handover. The operation of primary and secondary air control sliders must be fully explained. On completion of the installation allow a suitable period of time for any fire cement and mortar to dry out, when a small fire may be lit and checked to ensure the smoke and fumes are taken from the stove up the chimney and emitted safely to the atmosphere. Do not run at full output for at least 24 hours. On completion of the installation and commissioning ensure that the operating instructions for the stove are left with the customer. Ensure to advise the customer on the correct use of the appliance with the fuels likely to be used on the stove and warn them to use only the recommended fuels for the stove. Advise the user what to do should smoke or fumes be emitted from the stove. The customer should be warned to use a fireguard to BS EN 8423:2002 in the presence of children, aged and/or infirm persons.
Operating your stove – WF44/ WF45/ WF46
WARNING; CO Alarm
Your installer should have fitted a CO alarm in the same room as the appliance. If the alarm sounds unexpectedly, follow the instructions given under “Warning Note” above. Use a fireguard in the presence of children, and old and/or infirm people. The fireguard should be manufactured in accordance with BS 8423:2002, Fireguards for use with solid fuel appliances. Initial lighting The heat-resistant paint on your stove will cure and harden the first time you light your appliance. The curing process produces a good deal of smoke and odor, it is therefore important that the first time you light your stove the room should be well-ventilated. During the process, it is important to open and close the stove door periodically (every 30 mins) during the first couple of firings, therefore, preventing the door seal cord around the door from sticking and coming away from the door. Once the Heat-resistant paint has hardened; the stove door must be kept closed except when lighting the stove, adding firewood or removing ash in order to prevent flue gas from escaping.
Lighting your appliance
Quality Firelighters should be used when lighting the stove. (Never use mentholated spirit, petrol or other flammable liquids). Lighting your stove with fire lighters will be more reliable and easier than paper.
To light your stove
- Place a few smaller pieces of dry wood (kindling) in the stove on top of the nontoxic firelighters.
- Open the Secondary air by sliding the lever above the door to the left and open the primary air lever by sliding to the left.
- Light the firelighters and close the door.
- Once the fire has caught, add two pieces of wood measuring approx 15 cm with a combined weight of approx 1.2 kg and close the door.
- After approximately 3 minutes when the fire is burning brightly shut the primary air lever.
- After approximately another 3 minutes close the secondary air slider by 36%, for the stove to burn cleanly plenty of secondary air is needed, do not be tempted to shut the fire down too early as this may cause smoke.
At nominal heat output, expect to refuel your stove approximately once an hour. WF44 / WF45/ WF46 models are all equipped with air control levers for secondary and primary air and they are designed to ensure a plentiful supply of oxygen during firing. When lit, the stove will get very hot and due care must therefore be exercised. Please use a glove when operating handles and air control levers.
RE-FUELING
To re-fuel in the cleanest way. Before refueling open the secondary air lever fully, also open the primary air lever fully and leave for 5 minutes. The open the door gently, add two pieces of wood measuring approx 15 cm with a combined weight of approx 1.2 kg and close the door. Leave the air lever open for 3 minutes to allow the fire to reach a good temperature. Then close the primary air lever and slide the secondary air lever by 36%. In the event of a chimney fire: Close the primary and secondary air sliders and the stove door, and call 999 or your local fire department. If your stove is overheating close the Primary and secondary air sliders and ensure the door is firmly closed, and left until the stove has returned to nominal temperatures.
Basic Positions of air sliders during Operation
You will need to become familiar with your stove in order to be able to regulate the secondary air intake correctly, as factors such as the quality and height of your chimney, the quality of your fuel and the external conditions play a large role in your stove performance. It is easy to see whether the stove is functioning correctly; however incomplete combustion may lead to a build-up of hard, shiny soot on the inside of your stove and glass.To prevent sooting of the chamber and glass introduce secondary air, also check that your wood is dry. It is important to check the draft conditions before lighting your stove. This may be done, for instance, by crumpling a piece of newspaper, placing it in the combustion chamber and lighting it. The draft conditions are good if the smoke is drawn away through the chimney.Operational Position of air sliders during operation and in adverse conditions
You need to become familiar with your stove in order to be able to regulate the air controls (sliders) correctly, as outside factors such as the quality and height of your chimney, the quality of your fuel and the external weather conditions can alter the stoves operational settings and performance. Very damp weather can affect the draw of the stove and therefor more secondary air may be needed to adjust. Very still cold clear days induce more draught and the setting for secondary air may be less than nominal settings. Such accommodations will become normal once you are familiar with your stove. It is easy to see whether the stove is functioning correctly; incomplete combustion will be shown by
- The inside of the fire chamber firebricks having a black dusty build up,
- A build-up of hard shiny soot on the inside of the glass
- Smoking chimney
To prevent sooting of the chamber and glass introduce more secondary air, also check that your wood is dry.
CONTROLS ON WESTFIRE UNIQ44/ UNIQ45/ UNIQ46
Door operation
When opening the door of your Westfire stove always wear the glove that is provided to protect your hand from possible heat. The handle pulls out right away from the fire. When shutting the door push the door closed and push the handle until the handle firmly closes.
WOOD FUEL
IMPORTANT: Never use toxic wood such as chipboard, impregnated or painted wood. Good quality wood is the most important factor in your stove working efficiently and cleanly. Always use dry firewood. The dryness of the firewood plays an important role since the use of wet wood results in poor fuel economy and may cause a tarry sooty film on the internals of the stove. Newly cut wood contains 60-70% water, making it totally unsuitable for use as firewood. Newly cut wood should be stacked and air-dried under cover for two years before being used as firewood.
SMOKELESS COAL, HOUSE COAL, AND PETROLEUM COKE ARE NOT SUITABLE FOR USE ON THIS STOVE; THEIR USE WILL INVALIDATE THE GUARANTEE
SOLID SMOKELESS FUELS – WEST FIRE Uniq 44/ 45/ 46 models are NOT suitable for use with smokeless fuels and have not been tested to the relevant European standard. Only use wood for these stoves.
PETROLEUM COKE IS NOT SUITABLE FOR USE ON THIS STOVE; ITS USE WILL INVALIDATE THE GUARANTEE
Overnight burning
Westfire stoves are wood stoves, wood burns more efficiently and cleanly if is burnt hotter. Westfire do not recommend that their stoves are burnt overnight for this reason. As a nighttime regime, we recommend that the fire is loaded when hot and burnt for five minutes with the secondary air valve fully open until the new wood has taken and is burning, then close the secondary air valve to its operational position. On returning to the stove in the morning the fire will burn out, reload with some paper or firelighter and some kindling and open all the values fully open and the stove will relight quickly. Beware as the ash bed will have hot embers.
Use of operating tools
Always use the operating tools provided when handling parts likely to be hot when the stove is in use.
Maintenance
UNIQ44 / UNIQ45 / UNIQ46 wood stoves need to have the ash removed from the stove at regular intervals. Make sure the stove is completely cold before cleaning out ash (embers can remain hot for over 24 hours ). To clean the outside of the stove use a dry cloth.
The Clean Air Act 1993 and Smoke Control Areas
Under the Clean Air Act, local authorities may declare the whole or part of the district of the authority to be a smoke control area. It is an offense to emit smoke from a chimney of a building, from a furnace or from any fixed boiler if located in a designated smoke control area. It is also an offense to acquire an “unauthorized fuel” for use within a smoke control area unless it is used in an “exempt” appliance(“exempted” from the controls which generally apply in the smoke control area). In England, appliances are exempted by publication on a list by the Secretary of State in accordance with changes made to sections 20 and 21 of the Clean Air Act 1993 by section 15 of the Deregulation Act 2015. In Scotland, appliances are exempted by publication on a list by Scottish Ministers under section 50 of the Regulatory Reform (Scotland) Act 2014. Similarly, In Northern Ireland appliances are exempted by publication on a list by the Department of Agriculture, Environment and Rural Affairs under Section 16 of the Environmental Better Regulation Act (Northern Ireland) 2016. In Wales, appliances are exempted by regulations made by Welsh Ministers. Further information on the requirements of the Clean Air Act can be found here:
https://www.gov.uk/smoke-control-area-rules
Your local authority is responsible for implementing the Clean Air Act 1993 including designation and supervision of smoke control areas and you can contact them for details of Clean Air Act requirements.
The WEST FIRE Uniq 44/ 45/ 46 SE stoves have been recommended as suitable for use in smoke control areas when burning wood logs. The appliances have been fitted with a modification to fix the air controls at 56% open for WEST FIRE Uniq 44/ 45/ 46 model in its minimum position.Only specific SE models are suitable for smoke control areas, alterations should not be attempted.
Westfire smoke control stoves should not be burnt with the door left open.
The refueling procedure: – allow the newly charged fuel to burn with the secondary air control set at maximum for up 3 to 4 minutes. After this period, with flames from the logs fully established, close the secondary air supply to the low output setting. When operating at high output (secondary air set fully open) the new refuel charge does not require any boost air to establish combustion.
RE-FUELLING WHEN BURNING WOOD BURNING WOOD IN A SMOKE CONTROL AREA
To re-fuel your stove in the cleanest way only refuel your stove when flames have died down and you have glowing embers. Before refueling, open air controls fully and slide. Unlatch door to equalize pressure with the room. Open door gently, add one piece of wood and close the door. Once the flames from the logs are fully established move air control to nominal position. The stove is only suitable for intermittent use only: do not run overnight or for long periods unattended. Experience will determine the settings that produce best results. Use a flue thermostat to check the stove is not overheating. Flue thermostats should be placed directly above collar of the stove on a non-insulated section of pipe. (efficient operating temperature range is between 200c and 400c)
| Stove | Log length & weight |
| WF44 / WF45 / WF46 | 2 pieces approx 15 cm, 1.2 kg |
SE MODELS – smoke exemption modification
Smoke-exempt models are factory fitted with a air stop on the air control slider:
Refueling onto a low fire bed
If there is insufficient burning material in the fire bed to light a new fuel charge, excessive smoke emission can occur. Refueling must be carried out onto a sufficient quantity of glowing embers and ash that the new fuel charge will ignite in a reasonable period. If there are too few embers in the fire bed, add suitable kindling to prevent excessive smoke.
Operation with the door left open
Operation with the door open can cause excess smoke. The appliance must not be operated with the appliance door left open except as directed in the instructions.
Dampers left open
Operation with the air controls or appliance dampers open can cause excess smoke. The appliance must not be operated with air controls, appliance dampers or door left open except as directed in the instructions.
Fuel Overloading
The maximum amount of fuel specified in this manual should not be exceeded, overloading can cause excess smoke.
Annual service
The inside of the stove should be serviced /cleaned once a year. To clean the inside, remove all ash, soot and tar residue from the combustion chamber. Remove insulated chamber panels and baffle, dirt and soot will collect behind it and this must be cleaned out. Insulated panels may crack if hit too hard by a piece of firewood. This has no effect on the function of the stove (this is not the case with the smoke plate). The Insulated panels will only need to be replaced once they become very worn and are no longer whole, or if they crack in several places. Check glass is correctly positioned, replace stove door rope cord in the door.
Check glass is correctly positioned.
The stove, the flue pipe connection and the chimney should be checked regularly by a qualified engineer. The chimney should also be checked for blockages before relighting the stove if it has not been used for an extended period of time.The paint/ lacquer can wear thin in exposed places due to overheating. This, and other lacquer damage, may be repaired using a Westfire Senotherm paint/lacquer spray available from your Westfire dealer. Ash must be stored in a non-combustible container and must not be mixed with other combustible waste.
TROUBLESHOOTING, CHECK THE FOLLOWING
- Fire Will Not Burn – check
- the air inlet is not obstructed in any way,
- that chimneys and flue ways are clear,
- that a suitable fuel is being used,
- that there is an adequate air supply in the room,
- that an extractor fan is not fitted in the same room as the fire.
- Fire Blazing Out Of Control – check
- the doors are tightly closed,
- the air control is turned down to the minimum setting,
- the air inlet damper is closed and that it is not prevented from closing completely by a piece of ash,
- a suitable fuel is being used,
- the door seals are in good condition.
- the chimney draft may be too strong
- check ash pan seal and
- check for ash below ash pan causing pan to not seat correctly and clean out.
- Soot forms on the window
- The firewood may be too wet
- the intake of secondary air may be insufficient
- fire not hot enough
- The stove fails to heat fully
- the firewood may be too wet
- the intake of secondary air may be insufficient
- Smoke or odor
- Weak chimney draft
- check for blockages in the flue pipe/chimney
- check the height of the chimney in relation to the surroundings
- Soot in the chimney
- The firewood may be too wet
- intake of secondary air may be insufficient
Chimney Fires
If the chimney is thoroughly and regularly swept, chimney fires should not occur. However, if a chimney fire does occur turn the air control setting to the minimum, and tightly close the doors of the stove. This should cause the chimney fire to go out in which case the control should be kept at a minimum setting until the fire in the stove has gone out. The chimney and flue ways should then be cleaned. If the chimney fire does not go out when the above action is taken then the fire brigade should be called immediately. After a chimney fire the chimney should be carefully examined for any damage. Expert advice should be sought if necessary.
Permanent air vent
The stove requires a permanent and adequate air supply in order for it to operate safely and efficiently. In accordance with current Building Regulations, the installer may have fitted a permanent air supply vent into the room in which the stove is installed to provide combustion air. This air vent should not under any circumstances be shut off or sealed.
WARNING NOTE
Properly installed, operated and maintained this stove will not emit fumes into the dwelling. Occasional fumes from de-ashing and re-fuelling may occur. However, persistent fume emission is potentially dangerous and must not be tolerated. If fume emission does persist, then the following immediate action should be taken:
- Open doors and windows to ventilate the room
- Let the fire out or eject and safely dispose of fuel from the appliance
- Check for flue or chimney blockage and clean if required
- Do not attempt to relight the fire until the cause of the fume emission has been identified and corrected. If necessary seek expert advice.
The most common cause of fume emission is flue way or chimney blockage. For your own safety, these must be kept clean at all times.
IMPORTANT NOTES
General
Before lighting the stove check with the installer that the installation work and commissioning checks described in the installation instructions have been carried out correctly and that the chimney has been swept clean, is sound, and free from any obstructions. As part of the stove’s commissioning and handover, the installer should have shown you how to operate the stove correctly.
Use of fireguard
When using the stove in situations where children, aged and/or infirm persons are present a fireguard must be used to prevent accidental contact with the stove. The fireguard should be manufactured in accordance with BS EN 8423: 2002.
Chimney cleaning
The chimney should be swept at least once a year for smokeless fuels and a minimum of twice a year for wood and other fuels. It is important that the flue connection and chimney are swept prior to lighting up after a prolonged shutdown period.If the stove is fitted in place of an open fire then the chimney should be swept one month after installation to clear any soot falls which may have occurred due to the difference in combustion between the stove and the open fire. In situations where it is not possible to sweep through the stove the installer will have provided alternative means, such as a soot door. After sweeping the chimney the stove flue outlet and the flue pipe connecting the stove to the chimney must be cleaned with a flue brush.
HETAS Ltd Approval
This appliance has obtained HETAS Ltd approval on a safe and fit-for-purpose level (single-tick approval) for burning wood logs only as detailed in list of recommended fuels. Approval does not cover the use of other fuels either alone or mixed, nor does it cover instructions for the use of other fuels.
GUARANTEE
Your new stove is covered by a five-year guarantee against manufacturing defects. Your receipt documents the date of purchase. The guarantee does not cover damage caused by faulty operation such as overheating or the stove being incorrectly connected or damage that occurs as a result of external physical force.
The guarantee does not cover damage to replaceable parts, transport costs associated with repairs under warranty or the installation/dismantling of the stove in connection with repairs under warranty.
Warning! Any unauthorized modification of the appliance is forbidden. Only replacement parts recommended by Westfire should be used for repairs.
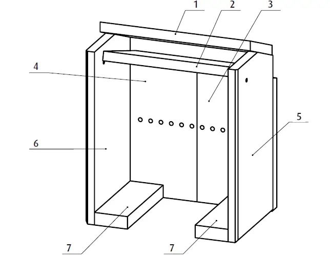
| Number | Code | Description |
| 1 | 101471 | Upper baffle brick |
| 2 | 101472 | Lower baffle brick |
| 3 | 101473 | Rear right brick |
| 4 | 101474 | Rear left brick |
| 5 | 101475 | Right side brick |
| 6 | 101476 | Left side brick |
| 7 | 101477 | Base right/left brick |
- Clean fire chamber.

- Place rear brick – right.
- Place rear brick – left.
- Place inner baffle on brackets
- Place right-side brick
- Place left side brick. Make sure that the inner baffle is placed in its rigtht position on top of the side brics.

- To fit baffle lift baffle into position over baffle support stick (left and right).
- . Place bottom brick – right.
- Place bottom brick – left.

- Fit cast iron base grate. Place log retainer.

- VARDE OVNE
- POTTEMAGERVEJ 1
- DK-7100 VEJLE
- WWW.VARDEOVNE.DK
- WWW.WESTFIRE.DK
- E-MAIL: [email protected]





















