CIARRA CBCB4850 Smart Island Cooker Hood 48cm

Dear customer
Congratulations on purchasing this device. This instruction manual is designed to provide you with all required instructions related to the installation, use and maintenance of the appliance. In order to operate the unit correctly and safety, please read this instruction manual carefully before installation and usage. The cooker hood use high quality materials, and is made with a streamlined design. Equipped with large power electric motor and centrifugal fan, it also provides strong suction power, low noise operation, non-stick grease filter and easy assembly installation. Scan the QR code to get access to contact CIARRA Amazon Service if you have any question.
E-mail: [email protected]

Scan to contact CIARRA Amazon Service
WARNING
TO REDUCE THE RISK OF FIRE, ELECTRIC SHOCK, OR INJURY TO PERSONS, OBSERVE THE FOLLOWING:
Use this unit only in the manner intended by the manufacturer. If you have questions, contact the manufacturer at the address or telephone number listed in the warranty.
Before servicing or cleaning unit, switch power off at service panel and lock the service disconnecting means to prevent power from being switched on accidentally. When the service disconnecting means cannot be locked, securely fasten a prominent warning device, such as a tag, to the service panel.- Installation work and electrical wiring must be done by a qualified person(s) in accordance with all applicable codes and standards, including fire-rated construction.
- Sufficient air is needed for proper combustion and exhausting of gases through the flue (chimney) of fuel burning equipment to prevent back drafting.
- When cutting or drilling into wall or ceiling, do not damage
electrical wiring and other hidden utilities - Ducted fans must always be vented to the outdoors.
- Do not use this unit with any additional solid-state speed control device.
- This unit must be grounded.
- When applicable local regulations comprise more restrictive installation and/or certification requirements, the aforementioned requirements prevail on those of this document and the installer agrees to conform to these at his own expense.
TO REDUCE THE RISK OF A RANGE TOP GREASE FIRE
Never leave surface units unattended at high settings. Boilovers cause smoking and greasy spillovers that may ignite. Heat oils slowly on low or medium settings.
Always turn hood ON when cooking at high heat or when flam being food.- Clean ventilating fan frequently. Grease should not be allowed to accumulate on fan, filters or in exhaust ducts.
- Use proper pan size. Always use cookware appropriate for the size of the surface element.
WARNING
TO REDUCE THE RISK OF INJURY TO PERSONS IN THE EVENT OF A RANGE TOP GREASE FIRE, OBSERVE THE FOLLOWING*:
- SMOTHER FLAMES with a close-fitting lid, cookie sheet or metal tray, then turn off the burner. BE CAREFUL TO PREVENT BURNS. IF THE FLAMES DO NOT GO OUT IMMEDIATELY, EVACUATE AND CALL THE FIRE DEPARTMENT.
- NEVER PICK UP A FLAMING PAN — You may be burned.
- DO NOT USE WATER, including wet dishcloths or towels — This could cause a violent steam explosion.
- Use an extinguisher ONLY if:
- You own a Class ABC extinguisher and you know how to operate it.
- The fire is small and contained in the area where it started.
- The fire department has been called.
- You can fight the fire with your back to an exit.
CAUTION
- For indoor use only.
- For general ventilating use only. Do not use to exhaust hazardous or explosive materials and vapors.
- To avoid motor bearing damage and noisy and/or unbalanced fan blade, keep drywall spray, construction dust, etc. off range hood
- Your hood motor has a thermal overload which will automatically shut off the motor if it becomes overheated. The motor will restart when it cools down. If the motor continues to shut off and restart, have the hood serviced.
- Always follows the cooking equipment manufacturer’s requirements regarding the ventilation needs.
- To reduce the risk of fire and to properly exhaust air, be sure to duct air outside — Do not exhaust air into spaces within walls or ceiling or into attics, crawl space or garage.
- When installing, servicing or cleaning the unit, it is recommended to wear safety glasses and gloves.
- Please read specification label on product for further information and requirements.
Specifications

- Voltage: 220V-240V~ 50Hz
- Power of Motor: 1 x 85W
- Power of lamps: 2x1W+2.5W(UV)
- Cable length: 1.5M
- Appliance Dimension: 482*318*332mm (W x D x H)
Note: The manufacturer reserves the right to change any technological improvement or modification without prior notice.
Components

Installation
Prepare for installation
- If you have an outlet to the outside, your cooker hood can be connected as below picture by means of an extraction duct (enamel, aluminum, flexible pipe or inflammable material with an interior diameter of 150mm). Choose a straight, short duct run to allow the hood to perform most efficiently. Long duct runs, elbows and transitions will reduce the performance of the hood. Use as few of them as possible. When possible, use at least 2 foot straight runs before any turns. Larger ductwork may be mrequired for best performance with longer duct runs.

- Before installation, turn the unit off and unplug it from the outlet.

- The cooker hood should be placed at a distance of 65~75cm above the cooking plane for best effect.

Recommended Tools for Installation
- Measuring tape
- Phillips screwdriver no. 2
- Flat blade screwdriver (to open knockout holes)
- Drill, 1/8” drill bit and 1½” hole saw (to mark holes for ducting and cut electrical access hole)
- Wood shims (2) and wood screws (4) (required for standard installation to framed cabinet)
- Saw (to cut holes for ducted application)
- Sheet metal shears (ducted installation only, for duct adjustment)
- Pliers (ducted installation only, for duct adjustment)
- Metal foil duct tape (for ducted applications)
- Scissors (to cut metal foil duct tape)
- Pencil
- Wire stripper
- Strain relief, 1/2” diameter (to secure house wiring cable to the hood)
CAUTION: Before proceeding to the installation, check the contents of the box. If items are missing or damaged, contact the manufacturer. Observe all governing codes and ordinances. Have a qualified technician install the range hood. It is the installer’s responsibility to comply with installation clearances specified on the model/serial rating plate. The manufacturer declines all responsibility for improper installation and does not accept responsibility for appliance warranty in the event of damage caused by incorrect installation.
Attention: Observe the warning in the instruction sheet concerning the operation of the appliance when air is discharged from the room. When the range hood and appliance supplied with energy other than electricity are simultaneously in operation, the negative pressure in the room must be not exceed 4 Pa (4×10-5 Bar).
Install the Hood
- If present, remove all protective poly film from the hood and/or parts.
- Below is the hole drilling installation drawing:

- According to the 1:1 hole drawing, Drill 4*Ø8mm holes to accommodate the hanging plate, tighten the bracket onto the ceiling with the expansion bolt holes provided.
Attention: If the ceiling is made of wood, there is no need to drill holes, and the hanging plate are directly fixed on the ceiling with 4pcs 6*40mm self-tapping screws.
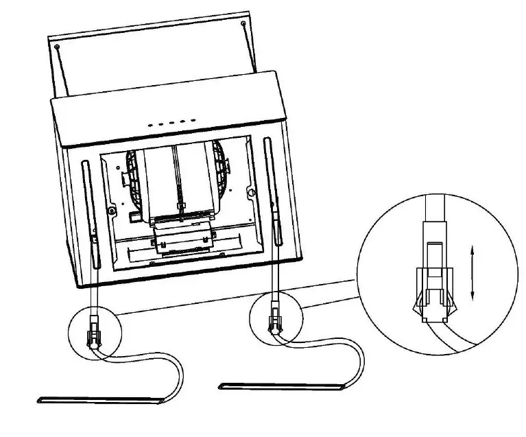
- Put the four steel cables and the power cord through the decorative plate.

- Lift the hood (At least two persons), Pass the four steel cables through the corresponding cable holder on the hanging plate. Adjust the height of the hood according to the actual scene, and the cable will be automatically locked by the cable holder.

NOTE: The cables only can be adjusted when the cable holder tips are pressed.
- Connect the power cord of the hood.
If there is a power connector on the ceiling, you need to pass the power cord through the decorative plate, and connect the power cable to the power connector on the ceiling. If there is no power connector on the ceiling, connect the power cable to the power connector without going through the decorative plate.
Attention:
Qualified electricians are required to install the power cord. Please pay attention to personal safety to prevent electric shock - Push the decorative plate up so that it is attached to the magnets of the hanging plate.

Activated Carbon Filter Installation
- Activated carbon filter can be used to trap odors. In order to install the activated carbon filter, the grease filter should be detached first. Press the lock and pull it downward.

- Plug the activated carbon filter into the unit and turn it in clockwise direction. Repeat the same on the other side.

- Install the grease filter. If replacement, please turn it in anti-clockwise direction.
NOTE
- Make sure the filter is securely locked. Otherwise, it would loosen and cause dangerous.
- When activated carbon filter attached, the suction power will be lower.
- The activated carbon filter should be changed every 3 months depending on the conditions of us.
Operation
- Always turn your hood on before you begin cooking to establish an air flow in the kitchen.
Electronic button
Operate the hood as follows
STANDBY MODE
After plug in, When the buzzer makes a sound and all the indicator lights are on for 1S then go out, the hood enters the standby mode. The [1] button indicator light continues to flash regularly. If there is no operation for 60s, the hood enters into sleep mode; If you need to operate, press any button briefly to start up the cooker hood. Press the [1] button for more than 1S, the hood will enter the working mode. Press the corresponding function button to start the corresponding function mode, and press again to turn off the corresponding function mode.
Low Speed button
- It is suitable for simmering and cooking which do not make much steam.
Medium Speed button
- Airflow speed is ideally for ventilation in standard cooking operation.
High Speed button
- When high density of smoke or steam produced, press high-speed button for highest effective ventilation.
Booster button
- Depress this button to enter into highest speed.
Light button
- When lights are OFF, push once on this button to turn ON the lights. Push this button again to turn OFF the lights.
caution
- UV lamp can not be touched by naked hands and can not be taken off.
- When the front panel is open, UV lamp can not be turned on. This appliance contains a UV emitter, Don’t look straight at the light to prevent eyes damage.
- The UV lamp may start slowly in low temperature environment. Please wait patiently. The lamp will return to normal operation after the temperature rises.
UV lamp is mainly used for sterilization and disinfection. It is recommended to turn on the UV lamp when the cooker hood is working (especially when using the activated carbon internal circulation mode). In the working mode, long press the [3] button and [B] button at the same time to turn on UV lamp, and the light button indicator light starts to flash; Long press the [3] button and [B] button at the same time to turn off the UV lamp, and the light button indicator will stop flashing.
Smart Life APP
Download and Intallation of Smart Life APP
- You must use Android phone or iPhone to download and use this APP.
- Search “Smart Life” in the Googel Play store for Android or 1OS App Store to download and install the APP.

Cooker Hood and Smart Life APP pairing
- When you log in to Smart Life APP for the first time, you need to create a new account. When creating a new account, follow the app prompts to register.
- If you already have an account, you can use existing account to log in.
- After logging in successfully, follow the steps below to connect the cooker hood (the operating procedures of Android and IOS systems are the same)
OPERATION
- Open the smart life app, Click Add Device.
- Choose kitchen appliances from the menu bar on the left.
- Choose kitchen hood.

- Enter WiFi hotspot and password, then click Confirm.
- When enter this interface, choose AP Mode on the top right corner.
- Click “Confirm the indicator is blinking slowly” and chick “Next”.

- After clicking “Reconnect”, long press the light key for dialing on the display interface of the cooker hood. The dialing process will flash for 2 minutes. If the dialing is successful, “smartlife-xxxx” will appear in the WiFi setting of the mobile phone.
- Access your phone’s WLAN Settings, Choose SmartLife-xxxx and connect.

- After connecting to SmartLife-xxxx, then return to APP.
- Connecting to WIFi hotspot within 1minutes.
- Displaying this interface means connecting successfully.

- Click “Done” shown as Step 11. Return to the home interface. If kitchen hood add in the list of “All Devices”, it means connection is succeful.
- Click “Kitchen Hood” enter the operation interface.

About operation interface
ON/Off Button
Purify ON/off
Light Button
When lights are OFF, push once on this button to turn ON the lights.
Push this button again to turn OFF the lights.
Fan Speed Button
You can control the corresponding gears of 1-2-3-P on the cooker hood.
Quick Delay Off
When cooker hood working, could set delay function. Push this button, the cooker hood will stop working in 5 minutes.
Cleaning and Maintenance
Proper maintenance of the Range Hood will assure proper performance of the unit.
MOTOR
The motor is permanently lubricated and never needs oiling. If the motor bearings make excessive or unusual noise, replace the motor with the exact service motor. The fan blade should also be replaced.
GREASE FILTERS
The grease filters should be cleaned frequently. Use a warm dishwashing detergent solution. Grease filters are dishwasher safe. Clean all-metal filters in the dishwasher using a non-phosphate detergent. Discoloration of the filters may occur if using phosphate detergents, or as a result of local water conditions – but this will not affect filter performance. This discoloration is not covered by the warranty. To minimize or prevent discoloration, hand wash filters using a mild detergent.
FAN BLADE
The fan blade should be cleaned frequently. Use a clean cloth soaked with warm detergent solution.
ACTIVATED CARBON FILTER
The activated carbon filter should be changed every 3 months depending on the conditions of use. Replace more often if your cooking style generates extra grease, such as frying and wok cooking.These filters are not washable and cannot be restored. Refer to installation instructions included with activated carbon filter.
STAINLESS STEEL CLEANING Do
- Regularly wash with clean cloth or rag soaked with warm water and mild soap or liquid dish detergent.
- Always clean in the direction of original polish lines.
- Always rinse well with clear water (2 or 3 times) after cleaning. Wipe dry completely.
- You may also use a specialized household stainless steel cleaner.
- Use any steel or stainless steel wool or any other scrapers to remove stubborn dirt.
- Use any harsh or abrasive cleansers.
- Allow dirt to accumulate.
- Let plaster dust or any other construction residues reach the hood. During construction/ renovation, cover the range hood to make sure no dust sticks to the stainless steel surface.
Avoid when choosing a detergent
- Any cleaners that contain bleach will attack stainless steel.
- Any products containing: chloride, fluoride, iodide, bromide will deteriorate surfaces rapidly.
- Any combustible products used for cleaning such as acetone, alcohol, ether, benzol, etc., are highly explosive and should never be used close to a range.
PAINTED FINISH CLEANING
Clean with warm water and mild detergent only. If discoloration occurs, use a finish polish such as automotive polish. (DO NOT use rough abrasive cleaner or porcelain cleaner.)
LED REPLACEMENT
- Circular/ Rectangle LED lamp

- If need to replacement the LED lamp, the grease filter should be detached first. Press the lock and pull it downward.

- Push the LED lamp holder out from the cabinet by hand, pull out the LED lamp and the wire together, open the power protection cover, pull out the plug and replace the LED lamp of the corresponding model.

CAUTION
Before cleaning or repairing and replacing accessories, please make sure to shut down the power before operation, so as to avoid electric shock, damage to human body and even endanger life safety!
Troubleshooting


If problem persists after the above checks, please contact CIARRA Customer Care Centre for assistance.
Environmental protection
Waste electrical products should not be disposed of with household waste. Please recycle where facilities exist. Check with your Local Authority or retailer for recycling advice.
This appliance is marked according to the European directive 2012/19/EU on Waste Electrical and Electronic Equipment (WEEE). By ensuring this product is disposed of correctly, you will help prevent potential negative consequences for the environment and human health, which could otherwise be caused by inappropriate waste handling of this product. The symbol on the product indicates that this product may not be treated as household waste. Instead it shall be handed over to the applicable collection point for the recycling of electrical and electronic equipment. Disposal must be carried out in accordance with local environmental regulations for waste disposal. For more detailed information about treatment, recovery and recycling of this product, please contact your local city office, your household waste disposal service or the shop where you purchased the product. www.ciarra.store





















