electriQ 90cm LED Island Cooker Hood User Manual

SAFETY PRECAUTIONS
Whilst this product is compliant with all safety requirements, incorrect or inappropriate use can lead to both personal injury and potential damage to property. Please read the contents of this instruction booklet thoroughly before fitting or using this appliance.
- The cooker hood must be installed in accordance with the installation instructions and all measurements followed.
- All installation work must be carried out by a competent person or qualified electrician.
- The unit must be connected to an earthed power supply.
- If venting externally, make sure the ducting has no bends sharper than 90 degrees as this will reduce the efficiency of the cooker hood.
- The cooker hood is for domestic use only and is not designed for commercial use. It should only be used for the purpose it was intended to extract vapours and cooking odours.
- Do not flambé or use an open flame under the cooker hood.
- Do not try to use the cooker hood without the grease filters or if the filters are excessively greasy. They should be cleaned regularly (see “Maintenance”) or replaced as necessary.
- The extraction fan must be level to avoid grease collection at one end, as this could cause a potential fire risk.
- Do not leave frying pans unattended during use because overheated fat or oils might catch fire.
- If the cooker hood is damaged, do not attempt to use it.
- If the supply cord is damaged, it must be replaced by the manufacturer, its service agent or a similarly qualified person in order to avoid a hazard.
- This appliance can be used by children aged from 8 years and above and persons with reduced physical, sensory or mental capabilities or lack of experience and knowledge if they have been given supervision or instruction concerning use of the appliance in a safe way and understand the hazards involved.
- Children shall not play with the appliance. Cleaning and user maintenance shall not be made by children without supervision.
- Children should be supervised to ensure that they do not play with the appliance. It is not a toy.
- The plug must be accessible after installation for isolation in case of an emergency or an appropriate fused switch if the unit is hardwired to the mains via a spur.
- The minimum distance between the surface of the hob and the lowest part of the hood should be at least 65cm. A distance of between 65cm and 75cm gives peak efficiency.
- The air must not be discharged into a flue that is used for exhausting fumes from appliances burning gas or other fuels.
- When the hood is vented externally and used with appliances which burn fuel (e.g. gas, oil, wood) the area must be sufficiently ventilated to ensure safe operation. Fresh air must be allowed to freely enter the room to prevent a partial vacuum.
- A partial vacuum can starve the heating appliance of oxygen, impairing combustion. It can also prevent toxic fumes from leaving the room, or can cause fumes to be sucked into the room from outside.
- Safe operation is only possible when the partial vacuum within the working area does not exceed 4 Pa (0.04 mbar). This can be achieved by ensuring air is able to enter the room from outside through a suitable sized opening which cannot be sealed during operation. A number of alternative solutions are available to ensure this. If in any doubt, professional advice should be sought.
- Regulations concerning the discharge of air have to be fulfilled.
- There is a potential fire risk if cleaning is not carried out in accordance with the instructions.
- Clean your appliance periodically by following the method given in the chapter MAINTENANCE
- If used in recirculation mode, the charcoal filters trap odours and must be replaced at least once a year depending on how frequently the cooker hood has been used.
- For safety reasons, please use only the same size of fixing or mounting screw, which are recommended in this instruction manual.
- Warning: Failure to install the screws or fixing device in accordance with these instructions may result in electrical hazards
CAUTION: Accessible parts of the hood can become very hot during use with cooking appliances, whether in use or not, due to heat rising from the hob. Sufficient time should be allowed for the unit to cool before touching either the housing or the grease filters
INSTALLATION (VENT OUTSIDE)
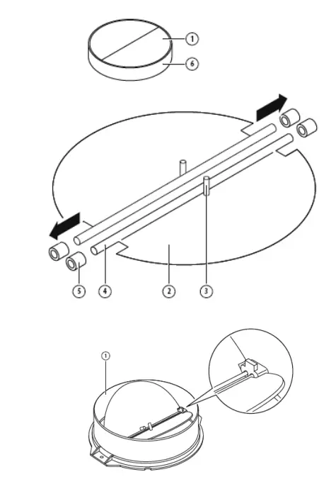
MOUNTING OF THE V-FLAP
If the cooker hood does not have an assembled V-flap 1, you should mount the half parts to its body. The images only show an example of how to mount the V-flap, the outlet may be various according to different models and configuration. To mount the V-flap 1 you should:
- Mount two half-parts “2” into the body “6”
- A pin 3 should be top oriented
- The axis “4” should be inserted in the holes “5” on body
- Repeat all the operations for the 2nd half-part

OPTIONS FOR VENTILATION
This hood can be set up for either external venting or recirculation of the air. The type of setup should be decided before commencing installation.
EXTERNAL VENTING
If you have an outlet to the outside, your cooker hood can be connected as shown in the diagram using any suitable extraction duct (enamel, aluminium, flexible pipe or inflammable material with an interior diameter of 150mm) can be used. An adaptor is supplied to enable you to connect your hood to pre-existing 120mm diameter ducting. If this is the chosen installation method consideration to the route of the vent pipe should be made prior to installation.

- Before installation, turn the unit off and unplug it from the outlet.

- The cooker hood should be placed at a distance of 65-75cm from the cooking surface for best effect. See below.

- The ceiling must can bear at least 120kgs weight, and the thickness of the ceiling must be 30MM, drill 1*170mm round hole in the ceiling.

- According to the hanging board, drill 12 holes in the ceiling, see pic 2, 12pcs of ST6*40mm big flat screws will be used to fix the hanging board on the ceiling, and then 8pcs of M4*10 screws and M4 nut with gasket will be used to connect the angle iron into the hanging board, see pic 1, calculated the length of the angle iron, and 16pcs M4*10 big flat screws and M4 nut with gasket will be used to connect the angle iron and another angle iron ( the overlap length of angle iron can not less 100MM)

- Let the one side of the expansion pipe go outside through the hole of 170MM.
- 4pcs ST4*8 big flat screws will be used to connect the inside chimney into the hanging board, then put on the outside chimney, a hook will be used to put up the outside chimney in order to the next installation.

- Fix the v-flaps and converter onto the outlet.

- Hold up the hood, 16pcs M4*10 big flat screws will be used to connect the hood body into angle iron.

- Put the expansion pipe on the converter; after ensure all the things ok, put down the hook, take from the outside chimney, all the installation is finished.
Note: the expansion pipe is not included in the product.
HINTS FOR EXHAUST DUCT INSTALLATION
The following rules must be strictly followed to obtain optimal air extraction:
- · Keep expansion pipe short and straight.
- Do not reduce the size or restrict expansion pipe.
- When using expansion pipe always install the pipe pulled taut to minimize pressure loss.
- Failure to observe these basic instructions will reduce the performance and increase noise levels of the cooker hood.
- Any installation work must be carried out by a qualified electrician or competent person.
- Do not connect the ducting system of the hood to any existing ventilation system which is being used for any other appliance ,such as warmer tube, gas tube , hot wind tube.
- The angle of the bend of the expansion pipe should not be less than 120º; you must direct the pipe horizontally, or, alternatively, the pipe should go up from the initial point and should be led to an outer wall.
- After the installation ,make sure that the cooker hood is level to avoid grease collection at on end.
- Ensure the expansion pipe selected for installation complies with relevant standards and is fire retardant.

START USING YOUR COOKER HOOD

- Press the “Power” button to turn the cooker hood “on” & “off “.
- Press the “Speed” button to change between fan speeds. The LED will indicate the current fan speed. 1 being the slowest, and 3 being the fastest.
- Press the “Light” button to turn the hoods light “on” or “off”. The power button does not control the light.
- When the hood is on, press the “Timer” button and the countdown timer will begin, starting at 9 minutes. The timer will show the decrease in time on the LED display. When the timer has finished, the hood and lamp will be turned off automatically. You can exit the timer function at any time by pressing the timer button again.
TROUBLESHOOTING

NOTE:
Any electrical repairs to this appliance must conform to your local, state and federal laws. Please contact the service centre if in any doubt before undertaking any of the above. Always disconnect the unit from the power source when opening the unit.
MAINTENANCE
Before cleaning, switch the unit off and pull out the plug, or switch off at the relevant mains switch if the unit has been hard-wired in. Make sure the unit has no power being fed to it.
REGULAR CLEANING
Use a soft cloth moistened with warm mildly soapy water or household cleaning detergent. Never use metal pads, chemicals, abrasive material or a stiff brush to clean the unit.
NOTE: Do not use a steam-cleaner to clean the hood; electrical components could be damaged or short-circuit as a result.
CLEANING THE FILTERS
- Remove the filters by pulling the latch until the filter cover comes off.
- Put into a dishwasher with detergent, set the temperature below 60 degrees. Or wash by hand with warm soapy water, making sure to dry thoroughly.
- Make sure that the hood is disconnected from the mains before cleaning or maintenance.
Replacement grease filters are available from the same stockist from which you purchased the hood under the following reference: rifled

REPLACEMENT FOR ACTIVATED CARBON FILTER
These are only required in units that have been installed in recirculation mode. This filter traps odours and must be replaced ideally every 3-6 months depending on how frequently the cooker hood has been used. They are not washable or reusable. Replacements are available from the retailer the hood was purchased from under reference: eiqcf120
- Insert the carbon filter into the rectangular hole, fitting it over the motor.
- After inserting the front edge of the carbon filter into the slot on the cooker hood.
Lower the back edge of the carbon filter, until it clicks into place at the rear of the rectangular hole. Raise the two fixing bars, until they are horizontal over the carbon filter. - Place the Al. filter back to position.
- Apply reverse procedure to uninstall the carbon filter.

NOTE:
- Make sure the filter is securely locked. Otherwise, it would loosen and cause dangerous.
- When activated carbon filter attached, the suction power will be lowered.
BULB REPLACEMENT
Before changing the bulb, ensure the hood is turned off and the power is disconnected before attempting to change the bulb. Wait until the flitting has cooled down before commencing replacement.
- Open the LED light plate assembly and take away the grease filter. See pic 1.
- Find the light wire at the back of the wire outlet. Then slightly pull the light connecting wire out, and dismantle the terminal of the light connecting wire. See pic 2.
- Remove 4pcs screws on the hinge of light plate assembly, take out the light plate assembly and pull out the light wire. If the light wire cannot be pulled out, it can be cut directly with scissors.
- Apply the reverse procedure to install the light back.
ILCOS D code for this lamp is: DSS-22/65-S-505/295

INFORMATION FOR DISMANTLING
Do not dismantle the appliance in any way which is not shown in the user manual. The appliance must not be dismantled by an unqualified person. At the end of its life, the appliance should not be disposed of with general household waste. Check with your Local Authority or retainer for recycling advice.
electriQ UK SUPPORT
www.electriQ.co.uk/support
Call: 0330 390 3061
Office hours: 9AM – 5PM Monday to Friday
www.electriQ.co.uk
Unit J6, Lowfields Business Park Lowfields Way, Elland
West Yorkshire, HX5 9DA
Recycling facilities are now available for all customers at which you can deposit your old electrical products. Customers will be able to take any old electrical equipment to participating sites run by their local councils. Please remember that this equipment will be further handled during the recycling process, so please be considerate when depositing your equipment. Please contact the local council for details of your local household waste recycling centers.
PRODUCT FICHE




























