electriQ Cooker Hood

IMPORTANT SAFETY INFORMATION
Please read this instruction manual carefully and retain for future reference. It contains important information concerning the safe operation, installation and maintenance of the appliance.
- There must be adequate ventilation of the room when the hood is used at the same time as appliances burning gas or other fuels.
- This cooker hood is only designed for domestic use, and should not be used in a commercial environment.
- Never use the hood for any purpose other than its intended use.
- Do not check the status of the filters during operation of the cooker hood.
- Do not touch the light bulb within 30 minutes of use.
- Do not flambé or excessively flame under the hood.
- Never leave frying food unattended as it can be a serious fire hazard.
- If the supply cord is damaged, it must be replaced by the manufacturer, its service agent or a similarly qualified person in order to avoid a hazard.
- The socket outlet for the hood must be located so it is easily accessible for the user after installation.
- Ensure the mains supply voltage corresponds with that of the appliance.
- There is a fire risk if cleaning is not carried out in accordance with the instructions.
- Ensure that the socket used provides adequate earthing of the appliance, if unsure professional advise must be sought.
- This appliance can be used by children aged from 8 years and above and persons with reduced physical, sensory or mental capabilities or lack of experience and knowledge if they have been given supervision or instruction concerning use of the appliance in a safe way and understand the hazards involved.
- Children must not play with the appliance.
- Cleaning and user maintenance must not be carried out by children without supervision.
- When the hood is being maintained, cleaned or filters changed, make sure it is switched off at the mains supply.
- The exterior of the hood should be cleaned with mild detergent on a warm damp sponge or cloth.
- The air must not be discharged into a flue that is used for exhausting fumes from appliances burning gas or other fuels.
- Regulations concerning the discharge of air have to be fulfilled.
- The minimum distance between the supporting surface for the cooking vessels on the hob and the lowest part of the hood must be at least 65 cm.
- When the cooker hood is used in conjunction with appliances supplied with energy other than electric, the negative pressure in the room must not exceed 0,04 mbar to prevent fumes being drawn back into the room by the cooker hood.
- Failure to install the hood in accordance with these instructions may result in electrical hazards.
CAUTION:
Accessible parts may become hot when used with cooking appliances. Deep fat fryers must be continuously monitored during use: overheated oil can burst into flames.
PARTS

THE COOKER HOOD
- Main Body
- Venting Control
- Filter Assembly
- V-Flap
- Screws 5mm x49mm
- Wall Plugs
DIMENSIONS
INSTALLATION
BEFORE INSTALLING YOUR CANOPY HOOD:
- Please read the instructions carefully.
- Unpack the hood and check that all functions are working. Ensure that the voltage (V) and the frequency (Hz) indicated on the serial plate match the voltage and frequency at the installation site.
- Check that the area behind the installation surface to be drilled is clear of any electrical cables or pipes, etc.
- The surfaces of the canopy are very easily damaged during installation if grazed or knocked by tools. Please take care to protect the surfaces during installation.
- Protect the cooktop surface below with cardboard, or similar, to prevent damage occurring whilst the hood is being installed above.
- The manufacturer shall not be liable for any failure to observe all safety regulations in force for the correct and normal operation of electrical products.
CHANGING THE VENTILATION METHOD
INFORMATION
- Sufficient air is needed for proper combustion and exhaustion of gases through the flue (chimney) of fuel burning equipment to prevent back drafting. Ductless fans must always be vented to the outdoors.
- When assessing the air pressure, the entire ventilation system in the house/apartment must be taken into account.
- All legal regulations must be observed for the conveyance of exhaust air. If the extractor hood is used in recirculating mode with the optional carbon filter, there are no operating restrictions.
- Make sure the vent option knob is set correctly (page 6).
PREPARING FOR INSTALLATION:
Ensure the power has been turned off at the mains before beginning installation. Connection to the mains supply must be in an accessible location. To install this hood you will require two assistants. You may need the following tools to complete this installation:
- Drill appropriate for your wall
- Phillips Screwdriver
- Tape Measure
- Hand Saw or Jig Saw

Electrical wiring must be done by a qualified person in accordance with all applicable codes and standards, including fire rated construction. Do not discharge the exhaust air into a flue from other appliances burning gas or other fuels. The cooker hood must be placed at a minimum distance of 65cm above the cooking surface of a hob.
CUPBOARD MOUNTING INSTALLATION:
- Drill a 130mm diameter and four 3.5mm diameter holes as shown in the diagram.
NOTE: If your cooker hood is to be used in recirculating air mode, it is not necessary to cut the 130mm diameter hole.
- Attach the one way valve and then use 4 screws to fix the cooker hood to the underside of the kitchen cupboard. Check that your fixings are correctly located, by temporarily fitting the cooker hood. If correct, fit the unit into position. Tighten the screws as necessary.

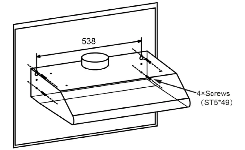
WALL MOUNTING INSTALLATION:
- Drill two 10mm diameter holes in the correct position on the wall when compared to the hanging holes on the rear of the hood. Make sure the hood is aligned directly over the hob, a minimum of 65cm above the hob surface.
- Insert two plastics wall plugs into the holes.
- Insert two screws into the wall plugs and tighten them leaving around 3mm protruding from the wall.
- Mount the cooker hood onto the two screws and mark the bottom two screw positions.
- Remove the hood and drill the bottom two screw holes and insert the plastic wall plugs.
- Mount the hood on the top screws, insert the bottom screws and fully tighten all the screws.
Information
The air must not be discharged into a flue that is used for exhausting fumes from appliances burning gas or other fuels.
OPERATION

|
| MOTOR OFF BUTTON: Press on this switch to stop operation of the motor. |
|
| LOW SPEED BUTTON: Press to run the motor at LOW speed. |
|
| MEDIUM SPEED BUTTON: Press to run the motor at MEDIUM speed. |
|
| HIGH SPEED BUTTON: Press to run the motor at HIGH speed. |
|
| LIGHT ON/OFF BUTTON: Press to turn on the lights, press again to turn them off. |
REPLACING THE BULB
- Switch off the extractor hood and ensure it is also switched off at the mains supply.
- Remove the grease filter.
- Unclip the lamp holder using the spring clip on the rear of the holder.

- Disconnect the wiring connector on the lead running to the lamp holder.
- Replace the holder and lamp with identical unit available from the retailer/manufacturer.

- Remember to switch on at the mains once installation is completed and the hood has been fully reassembled.
Information
Clean ventilation fans frequently. Grease should not be allowed to accumulate on fan or filter.
Note: The filter is available from the same retailer as the hood under reference eiqgf5712. eiqvissteel60 takes grease filter eiqgf7048
INSTALLING THE OPTIONAL CARBON FILTER:
- Remove the grease filter
- The carbon filter is located at the end of the motor. To fit, rotate the filter clockwise onto the motor housing; to remove, rotate filter anti-clockwise until it is unscrewed.

Warning: the carbon filter cannot be washed or recycled. It should be replaced after approximately 2-3 months of use.
Note: The optional carbon filter is available from the same retailer as the hood under reference eiqc3846.
CLEANING AND MAINTENANCE
Disconnect range hood from power supply before cleaning or servicing.
- Clean the hood surface frequently using mild detergent and a warm damp sponge or cloth.
- Do not use harsh alkalis or abrasives.
- Avoid the use of scouring powers or dishwasher compounds.
- If the optional carbon filter is being used, these cannot be cleaned and require replacing every 2-3 months depending on frequency of use. They are available from the retailer who supplied your hood.
Information
Cleaning water must be kept away from the motor, control switch and all electrical components. It is recommended that the grease filter is cleaned every two to three months by carrying out the following instruction:
- Remove the grease filter from the cooker hood and wash it in a solution of warm water and neutral liquid detergent, leaving to soak.
- Rinse thoroughly with warm water and allow to dry thoroughly before refitting.
- The metallic filter may alter in colour after several washes.
There is a fire risk if cleaning is not carried out in accordance with the instructions.
TROUBLESHOOTING
| Fault | Cause | Solution |
| Light on, but fan does not work | The fan blade is jammed. | Switch off the unit. Repair to be carried out by qualified service personnel only. |
| The motor is damaged. | ||
| Both light and fan do not work | Power cord loose | Plug in to the power supply again. |
|
Excessive Vibration | The fan blade is damaged. | Switch off the unit. Repair to be carried out by qualified service personnel only. |
| The fan motor is not fixed tightly. | Switch off the unit. Repair to be carried out by qualified service personnel only. | |
| The unit is not hung properly on the bracket. | Take down the unit and check whether the bracket is in proper location. | |
|
Suction performance not good | 1. Grease filters clogged 2. Distance between the unit and the cooking plane too great. | 1 Clean or replace grease filters. 2 Adjust the distance to between 70cm and 80cm. |
SPECIFICATION
| Model Identification | eiQTOPVWHITE eiQTOPVBLACK eiQTOPVSTEEL | ||
| Symbol | Value | Unit | |
| Annual Energy Consumption | AEChood | 41.6 | kWh/A |
| Standard Annual Energy Consumption | SAEChood | 52.1 | kWh/a |
| Time increase factor | F | 1.7 | |
| Fluid Dynamic Efficiency | FDEhood | 8.6 | |
| Energy Efficiency Index | EEIhood | 79.8 | |
| Measured air flow rate at best efficiency point | QBEP | 103.9 | m3/h |
| Measured air pressure at best efficiency point | PBEP | 196 | Pa |
| Maximum air flow | Qmax | 177.4 | m3/h |
| Measured electric power input at best efficiency point | WBEP | 103.9 | W |
| Nominal power of the lighting system | WL | 1.5W*1 | W |
| Measured power of the lighting system | WL | / | W |
| Measured value of the Lighting Efficiency | LEhood | 69 | Lux/W |
| Average illumination of the lighting system on the cooking surface | Emiddle | 83 | lux |
| Measured power consumption in standby mode | Ps | N/A | W |
| Measured power consumption off mode | Po | 0 | W |
| Tested according to EN 50564:2011 | |||
| Sound power level | LWA | Minimum speed:55 Maximum speed: 65 | dB |
| Tested according to EN 60704-2-13:2011, EN 60704-1:2010 + A11:2012 | |||
The following shows how to reduce total environmental impact (e.g. energy use) of the cooking process).
- Install the cooker hood in a proper place where there is efficient ventilation.
- Clean the cooker hood regularly so as not to block the airway.
- Remember to switch off the cooker hood light after cooking.
- Remember to switch off the cooker hood after cooking.
Recycling facilities are now available for all customers at which you can deposit your old electrical products. Customers will be able to take any old electrical equipment to participating sites run by their local councils. Please remember that this equipment will be further handled during the recycling process, so please be considerate when depositing your equipment. Please contact the local council for details of your local household waste recycling centres.
electriQ UK SUPPORT
www.electriQ.co.uk/support
Call: 0871 984 4416
Office hours: 9AM – 5PM Monday to Friday
www.electriQ.co.uk
Unit J6, Lowfields Business Park
Lowfields Way, Elland
West Yorkshire, HX5 9DA
























