User Manual

Angled 60cm Cooker Hood
eiQCHC60W
Thank you for choosing electriQ
Please read this user manual before using this
product and keep it safe for future reference.
Visit our page www.electriQ.co.uk for our entire product range
SAFETY PRECAUTIONS
Whilst this product is compliant with all safety requirements, incorrect or inappropriate use can lead to both personal injury and potential damage to property. Please read the contents of this instruction booklet thoroughly before fitting or using this appliance.
- The cooker hood must be installed in accordance with the installation instructions and all measurements followed.
- All installation work must be carried out by a competent person or qualified electrician.
- The unit must be connected to an earthed power supply.
- If venting externally, make sure the ducting has no bends sharper than 90 degrees as this will reduce the efficiency of the cooker hood.
- The cooker hood is for domestic use only and is not designed for commercial use. It should only be used for the purpose it was intended – to extract vapors and cooking odors.
- Do not flambé or use an open flame under the cooker hood.
- Do not try to use the cooker hood without the grease filters or if the filters are excessively greasy. They should be cleaned regularly (see “Maintenance”) or replaced as necessary.
- The extraction fan must be level to avoid grease collection at one end, as this could cause a potential fire risk.
- Do not leave frying pans unattended during use because overheated fat or oils might catch fire.
- If the cooker hood is damaged, do not attempt to use it.
- If the supply cord is damaged, it must be replaced by the manufacturer, its service agent, or a similarly qualified person in order to avoid a hazard.
- This appliance can be used by children aged from 8 years and above and persons with reduced physical, sensory or mental capabilities or lack of experience and knowledge if they have been given supervision or instruction concerning the use of the appliance in a safe way and understand the hazards involved.
- Children shall not play with the appliance. Cleaning and user maintenance shall not be made by children without supervision.
- Children should be supervised to ensure that they do not play with the appliance. It is not a toy.
- The plug must be accessible after installation for isolation in case of an emergency – or an appropriate fused switch if the unit is hard-wired to the mains via a spur.
- The minimum distance between the surface of the hob and the lowest part of the hood should be at least 65cm. A distance of between 65cm and 75cm gives peak efficiency.
- The air must not be discharged into a flue that is used for exhausting fumes from appliances burning gas or other fuels.
- When the hood is vented externally and used with appliances which burn fuel (e.g. gas, oil, wood) the area must be sufficiently ventilated to ensure safe operation. Fresh air must be allowed to freely enter the room to prevent a partial vacuum.
A partial vacuum can starve the heating appliance of oxygen, impairing combustion. It can also prevent toxic fumes from leaving the room or can cause fumes to be sucked into the room from outside.
- Safe operation is only possible when the partial vacuum within the working area does not exceed 4 Pa (0.04 bar). This can be achieved by ensuring air is able to enter the room from outside through a suitably sized opening that cannot be sealed during operation. A number of alternative solutions are available to ensure this. If in any doubt, professional advice should be sought.
- Regulations concerning the discharge of air have to be fulfilled.
- There is a potential fire risk if cleaning is not carried out in accordance with the instructions.
- Clean your appliance periodically by following the method given in the chapter MAINTENANCE
If used in recirculation mode, the charcoal filters trap odors and must be replaced at least once a year depending on how frequently the cooker hood has been used.
- For safety reasons, please use only the same size of fixing or mounting screw, which are recommended in this instruction manual.
- Warning: Failure to install the screws or fixing device in accordance with these instructions may result in electrical hazards
CAUTION: Accessible parts of the hood can become very hot during use with cooking appliances, whether in use or not, due to heat rising from the hob. Sufficient time should be allowed for the unit to cool before touching either the housing or the grease filters
PRODUCT OVERVIEW – PARTS SUPPLIED
| Description | Illustration | Qty. |
| Cooker hood | 1 | |
| Chimney | 2 | |
| Exhaust Pipe | 1 | |
| Adaptor |
| 1 |
| cable tie |
| 1 |
| Plate I | 1 | |
| Plate II | 1 | |
| Screw (4mm x 40mm) | 4 | |
| Wall plug | 8 | |
| Screw (4mm x 8mm) | 6 | |
| Screw (4mm x 30mm) | 4 | |
| Air Flaps | 2 |
EXTERNAL VENTING
If you have an outlet to the outside, your cooker hood can be connected as shown in the diagram using any suitable extraction duct (enamel, aluminum, flexible pipe, or inflammable material with an interior diameter of 150mm) can be used.
An adaptor is supplied to enable you to connect your hood to pre-existing 120mm diameter ducting.
If this is the chosen installation method consideration to the route of the vent pipe should be made prior to installation.

RECIRCULATION
This cooker hood also supports the recirculation of air once it has passed through the filters. The filtered air is then expelled through the vent holes in the side of the chimney.
When setting the unit up in this configuration, carbon filters should also be used to remove odors from the air. Details of sourcing and fitting the filters can be found in the Carbon filter section.
When setting up for recirculation the installation instructions should be followed, but a vent pipe should not be attached, and instead, the air can be routed back into the room through the top of the unit.

UNPACKING YOUR APPLIANCE
- Please take great care when unpacking; a sharp blade should not be used to open the box, as it may go deep enough inside to damage components. Components damaged or marked by careless unpacking are not covered under the guarantee.
- Carefully unpack the contents and check against the section below (Parts) and the next section (Product overview).
- Packaging materials should be recycled in accordance with local regulations
INSTALLATION
- Before installation, ensure you have not connected the appliance to the main supply.
- The cooker hood should be placed at a distance of 65~75cm above the cooking plane for best effect.

- Install the hanging screw in a suitable place once the installation height is fixed, and keep it in line. The fixed position of the inside chimney bracket is the place of the chimney. Also, install the safety hole in the wall. Total drill 8 holes and insert the Wall plug.

- Put 2 x Screws (4mm x30mm) into hanging hood position and keep it away from wall distance 3-4mm, screw and tighten the bracket onto the wall with the screws (4mm x 40mm) and wall plugs provided.

- The 2 x air flaps should be installed at this stage, as access is easier before the unit is wall mounted. On the top of the Hood Unit itself, where the air outlet vent is located, the 2 x flaps should be carefully installed, bending very slightly so the lugs at each end locate into the holes, enabling flaps to pivot upwards when the unit is in operation, opening up the outlet fully for the air to pass through. Please note: the small spindles/lugs at each end of each flap locate into the holes on the housing, not the grooves above them.

- Hang on the cooker hood on wall.

- Attach the exhaust pipe onto the one-way valve as shown below, and fix the pipe on the valve by a cable tie. The adaptor can be used at this stage if you already have existing smaller diameter venting in place to connect.

- Adjust the height of the chimney to approximately the required height. Then install plate I on the chimney. Two screws (4mm x 8mm) are used.
i Put the inner chimney into the outer chimney. Then pull the inner chimney upwards. Adjust to reach the approximate height required. Fine height adjustment is done later. ii. Install plate I on the chimney
NOTE: Remember not to fix the screw too tightly, so that later height adjustment can be done more easily.
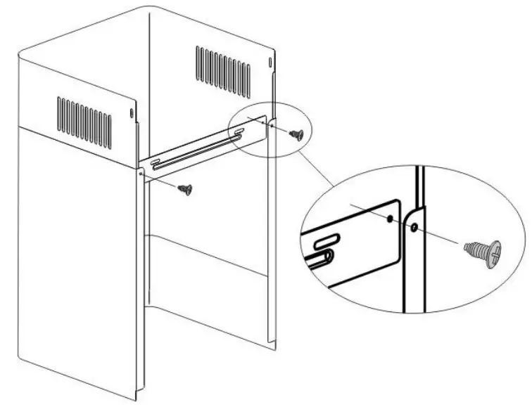
- Fix the chimney set into the chimney bracket and fix with 2 x Screws (4mmx8mm), then fix the outer chimney bracket into a wall with 2 x screws (4mm x 40mm), pull out the exhaust pipe to outside.

- Pull up the inner chimney and fix it into the inner chimney bracket with 2 x screws (4mm x 8mm).

- Take out the Aluminum filter and fix the safety hole with 2 x screws (4mm x30mm).

- Before usage, read all the instructions and make sure that the voltage (V) and the frequency (Hz) indicated on the identification plate (found inside the cooker hood) and all the data inside the appliance are exactly the same as the voltage and frequency in your home. Then plug the power lead into the power socket (or if connecting directly to the main via a switched spur, ensure the work is carried out by a competent, qualified person) and the cooker hood is then ready for use.
CARBON FILTER(OPTIONAL)
Activated carbon filters should be used to trap odors (optional – available from the same stockist you purchased the hood from) and must be used if the hood is not vented to the outside. Reference:
eiQCF110 Carbon Filter Pack– fits model eiQCHC60W
In order to install the activated carbon filters, the aluminum filter should be removed first. Press the lock and pull it down as below:

Put the activated carbon filter onto the end of the motor unit and turn it in an anticlockwise direction. Repeat the same on the other side (see diagram)

- NOTE:
- Make sure the filter is securely locked. Otherwise, it could loosen and cause damage to the unit.
- When the activated carbon filters are attached, the suction power will be lowered.
- The charcoal filter cannot be washed or recycled. It should be changed at three or six months according to the amount of use the hood receives. Replacements are available from the stockist you purchased the hood from.
- Push the stop button and the motor will stop.
- Push the Low button, and the motor runs at low speed.
- Push the high button, and the motor runs at mid-speed.
- Push the High button, and the motor runs at high speed.
- Push the light button and the two lights will come on. Push it again and the light will turn off.

MAINTENANCE
Before cleaning, switch the unit off and pull out the plug, or switch off at the relevant mains switch if the unit has been hard-wired in. Make sure the unit has no power being fed to it.
I. Regular Cleaning
Use a soft cloth moistened with hand-warm mildly soapy water or household cleaning detergent. Never use metal pads, chemicals, abrasive material, or a stiff brush to clean the unit.
Note! Do not use a steam cleaner to clean the hood; electrical components could be damaged or short-circuit as a result.
II. Monthly Cleaning for metallic anti-grease filter
ESSENTIAL NOTE: Clean the filter every month; an excessive build-up of grease can become a fire hazard. The filter collects grease, smoke, and dust…… so the filter directly affects the efficiency of the cooker hood. If it’s not cleaned, the grease residue (potentially flammable) will saturate on the filter.
Remove the filter as shown in the Installation section. Clean it with a soft nylon brush in a mild solution of warm water and a small amount of washing-up liquid. Washing up liquid alone should not be used. After cleaning, allow the filter to drain and then dry thoroughly.
The grease filter may also be dishwasher cleaned; using a 60°C program, with the filter upright (short sides upright) in the lower basket. Please be aware some dishwasher cleaning agents can permanently discolor the filter, though this will not affect its performance.
Replacement grease filters are available from the same stockist from which you purchased the hood:
60cm models: eiQAL03E860 x 1
III. Replacement for Activated Carbon Filter
These are only required in units that have been installed in recirculation mode (not vented to the outside). This filter traps odors and must be replaced ideally every 3-6 months depending on how frequently the cooker hood has been used. They are not washable or reusable.
IV. Light Replacement
Important: The light fitting must be replaced by the manufacturer, its service agent, or similarly qualified persons.
Before changing the bulb, ensure the hood is turned off and the power is disconnected before attempting to change the bulb. Wait until the flitting has cooled down before commencing replacement.
Press the lamp surface and anticlockwise take out the lamp. Change a new lamp and clockwise fix the lamp back.

TROUBLESHOOTING
| FAULT | CAUSE | SOLUTION |
| Light on, but the fan does not work | The fan blade is jammed. | Switch off the unit. Repair to be carried out by qualified service personnel only. |
| The motor is damaged. | ||
| Both light and fan do not work | Halogen light bulb blown | Replace the bulb with the correct rating. |
| Power cord lose | Plug into the power supply again. | |
|
Excessive Vibration | The fan blade is damaged. | Switch off the unit. Repair to be carried out by qualified service personnel only. |
| The fan motor is not fixed tightly. | Switch off the unit. Repair to be carried out by qualified service personnel only. | |
| The unit is not hung properly on the bracket. | Takedown the unit and check whether the bracket is in the proper location. | |
| Suction performance is not good | 1 Grease filters clogged? 2 Distance between the unit and the cooking plane is too great. | 1 Clean or replace grease filters. 2. Adjust the distance between the cooking surface to the hood. . |
PRODUCT FICHE
| Symbol | Value | Unit | |
| Model identification | eiQCHC60W | ||
| Annual Energy Consumption | AEChood | 61.5 | kWh/a |
| Time increase factor | f | 1.2 | |
| Fluid Dynamic Efficiency | FDEhood | 22.8 | |
| Energy Efficiency Index | EEIhood | 67.6 | |
| Measured airflow rate at the best efficiency | QBEP | 314.8 | m³/h |
| Measured air pressure at best efficiency point | PBEP | 349 | Pa |
| Maximum airflow | Qmax | 596.2 | m³/h |
| Measured electric power input at best efficiency point | WBEP | 133.7 | W |
| Nominal power of the lighting system | WL | 4.0 | W |
| Average illumination of the lighting system on the cooking surface | Emiddle | 120 | lux |
| Measured power consumption on standby mode | PS | – | W |
| Measured power consumption on off mode | PO | 0 | W |
| Sound power level | LWA | 69 | dB |
The following shows how to reduce total environmental impact (e.g. energy use) of the cooking process).
- Install the cooker hood in a proper place where there is efficient ventilation.
- Clean the cooker hood regularly so as not to block the airway.
- Remember to switch off the cooker hood light after cooking.
- Remember to switch off the cooker hood after cooking.
INFORMATION FOR DISMANTLING
Do not dismantle the appliance in a way that is not shown in the user manual. The appliance could not be dismantled by the user. At the end of life, the appliance should not
be disposed of with household waste. Check with your Local Authority or retainer for recycling advice.
electriQ UK SUPPORT
www.electriQ.co.uk/support
Call: 0330 390 3061
Office hours: 9AM – 5PM Monday to Friday
www.electriQ.co.uk
Unit J6, Lowfields Business Park
Lowfields Way, Elland
West Yorkshire, HX5 9DA
Recycling facilities are now available for all customers at which you can deposit your old electrical products. Customers will be able to take any old electrical equipment to participate in sites run by their local councils. Please remember that this equipment will be further handled during the recycling process, so please be considerate when depositing your equipment. Please contact the local council for details of your local household waste recycling centers.



























