electriQ eiQSRG60 60cm Sloping Cooker Hood

SAFETY PRECAUTIONS
Whilst this product is compliant with all safety requirements, incorrect or inappropriate use can lead to both personal injury and potential damage to property. Please read the contents of this instruction booklet thoroughly before fitting or using this appliance.
- The cooker hood must be installed in accordance with the installation instructions and all measurements followed.
- All installation work must be carried out by a competent person or qualified electrician.
- The unit must be connected to an earthed power supply.
- If venting externally, make sure the ducting has no bends sharper than 90 degrees as this will reduce the efficiency of the cooker hood.
- The cooker hood is for domestic use only and is not designed for commercial use. It should only be used for the purpose it was intended –to extract vapours and cooking odours.
- Do not flambé or use an open flame under the cooker hood.
- Do not try to use the cooker hood without the grease filters or if the filters are excessively greasy! They should be cleaned regularly (see “Maintenance”) or replaced as necessary.
- The extraction fan must be level to avoid grease collection at one end, as this could cause a potential fire risk.
- Do not leave frying pans unattended during use because overheated fat or oils might catch fire.
- If the cooker hood is damaged, do not attempt to use it.
- If the supply cord is damaged, it must be replaced by the manufacturer, its service agent or a similarly qualified person in order to avoid a hazard.
- This appliance can be used by children aged from 8 years and above and persons with reduced physical, sensory or mental capabilities or lack of experience and knowledge if they have been given supervision or instruction concerning use of the appliance in a safe way and understand the hazards involved.
- Children shall not play with the appliance. Cleaning and user maintenance shall not be made by children without supervision.
- Children should be supervised to ensure that they do not play with the appliance. It is not a toy.
- The plug must be accessible after installation for isolation in case of an emergency – or an appropriate fused switch if the unit is hard-wired to the mains via a spur.
- The minimum distance between the surface of the hob and the lowest part of the hood should be at least 65cm. A distance of between 65cm and 75cm gives peak efficiency.
- The air must not be discharged into a flue that is used for exhausting fumes from appliances burning gas or other fuels.
When the hood is vented externally and used with appliances which burn fuel (e.g. gas, oil, wood) the area must be sufficiently ventilated to ensure safe operation. Fresh air must be allowed to freely enter the room to prevent a partial vacuum. - A partial vacuum can starve the heating appliance of oxygen, impairing combustion. It can also prevent toxic fumes from leaving the room, or can cause fumes to be sucked into the room from outside.
- Safe operation is only possible when the partial vacuum within the working area does not exceed 4 Pa (0.04 mbar). This can be achieved by ensuring air is able to enter the room from outside through a suitable sized opening which cannot be sealed during operation. A number of alternative solutions are available to ensure this. If in any doubt, professional advice should be sought.
- Regulations concerning the discharge of air have to be fulfilled.
- There is a potential fire risk if cleaning is not carried out in accordance with the instructions.
- Clean your appliance periodically by following the method given in the chapter MAINTENANCE
- If used in recirculation mode, the charcoal filters trap odors and must be replaced at least once a year depending on how frequently the cooker hood has been used.
- For safety reason, please use only the same size of fixing or mounting screw, which are recommended in this instruction manual.
- Warning: Failure to install the screws or fixing device in accordance with these instructions may result in electrical hazards
CAUTION: Accessible parts of the hood can become very hot during use with cooking appliances, whether in use or not, due to heat rising from the hob. Sufficient time should be allowed for the unit to cool before touching either the housing or the grease filters.
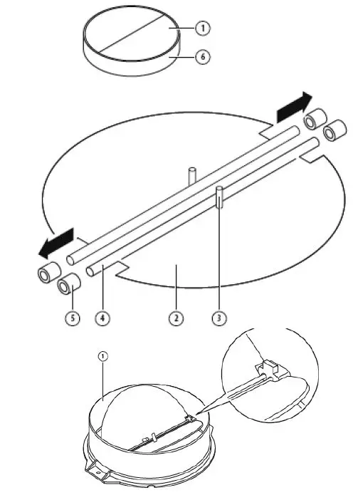
PARTS LIST 
INSTALLATION (VENT OUTSIDE)
MOUNTING OF THE V-FLAP
If the cooker hood does not have an assembled V-flap 1, you should mount the half-parts to its body. The images only show an example of how to mount the V-flap, the outlet may be various according to different models and configuration. To mount the V-flap 1 you should:
- Mount two half-parts “2” into the body “6”
- A pin 3 should be top oriented
- The axis “4” should be inserted in the holes “5” on body
- Repeat all the operations for the 2nd half-part

INSTALLATION
If you have an outlet to the outside, your cooker hood can be connected as below picture by means of an extraction duct (enamel, aluminum, flexible pipe or non-flammable material with an interior diameter of 150mm)
- Before installation, turn the unit off and unplug it from the outlet.

- The cooker hood should be placed at a distance of 65~75cm above the cooking surface for best effect.

- After decide the cooker hood height, measure the position of the holes for the hanging hood , inside chimney bracket, outside chimney bracket and safety holes. Drill 8 φ8 holes and insert wall plugs into the holes. Fix the inside chimney bracket on the wall with 2pcs ST4 x 40mm screws. Screw 2pcs ST4 x 8mm screws in the hole for hanging the hood body and the screws installed should leave for 3-5mm out of the wall to hang the hood. The fixed position of the inside chimney bracket is the highest place of the chimney. See pic 2.
- Install the converter, v-flap and expansion pipe onto the cooker hood. Fix the expansion pipe on the outlet with a cable tie. See Pic 3.
Note: The expansion pipe is not included in the product. Hang the cooker hood onto the hook. See pic 4.

- Install the outside chimney bracket onto the outside chimney with 2 ST4*8mm screws, here should be sure the inside chimney can be flexed freely. See Pic 5.
- Fix the cooker hood with 2pcs ST4*30mm safety screws. Note: The two safety vents are positioned on the back housing, with a diameter of 6mm.Put the two chimneys onto the cooker hood, fix the outside chimney on the wall with 2pcs ST4*40mm screws and lead the expansion pipe to the outside. See pic 6.

- Adjust the height of the inside chimney to the position of the inside chimney bracket and fix on it with 2pcs ST4*8mm screws. Fix the outside chimney onto the hood body with 2pcs ST4*8mm screws. See Pic 7.

HINTS FOR EXHAUST DUCT INSTALLATION
The following rules must be strictly followed to obtain optimal air extraction:
- Keep exhaust duct short and straight
- Do not reduce the size or restrict the exhaust duct
- When using the flexible duct always install the duct pulled taut to minimize pressure loss
- Failure to observe these basic instructions will reduce the performance and increase noise levels of the range hood.
- Any installation work must be carried out by a qualified electrician or competent person.
- Do not connect the ducting system of the hood to any existing ventilation system which is being used for any other appliance, such as a warmer tube, gas tube, hot wind tube.
- The angle of the bend of the ventilation pipe should not be less than 120º; you must direct the pipe horizontally, or, alternatively, the pipe should go up from the initial point and should be led to an outer wall.
- After the installation, make sure that the cooker hood is level to avoid grease collection at on end.
Ensure the exhaust ducting selected for installation complies with relevant standards and is fire retardant.
OPERATION 
- Press the “Power” button, to turn the cooker hood on and off.
- Press the “Speed” button to cycle between fan speeds, the LED display will indicate the fan speed with the numbers 1, 2 and 3.
- Press “Lamp” button to turn the hoods light on and off.
- Press the “Timer” button, and the cooker hood will start a countdown of 9 minutes (this will be shown on the display (9-8-7-6 etc.) When the timer has finished, the cooker hood and all functions will be turned off. To cancel the timer, press the timer button again.
GREASE MESH FILTERS
The mesh filters can be cleaned by hand. Soak them for about 3 minutes in water with a mild detergent and then brush it gently with a soft brush. Please do not apply too much pressure so as to avoid any damage to it. (Leave to dry naturally out of direct sun light)
Filters should be washed separately to crockery and kitchen utensils. It is advisable not to use rinse aid. Following the picture beside to dismantle the grease filter.
INSTALLING GREASE MESH FILTERS
To install filters for the following four steps:
- Angle the filter into slots at the back of the hood.
- Push the button on handle of the filter.
- Release the handle once the filter fits into a resting position.
- Repeat to install all filters.
Replacement filters can be purchased from the supplier of your cooker hood using the following code:
CARBON FILTER
(Not Supplied)
Activated carbon filter can be used to trap odors. Normally the activated carbon filter should be changed every 3 to 6 months according to your cooking habits. The installation procedure of activated carbon filter is as below:
- Before installing or replacing the carbon filters, please disconnect mains power to the unit.
- Press the filter lock and remove the mesh filter.
- Turn the carbon filter on both sides of the motor anti-clockwise. Replace the carbon filters with the new carbon filters.
- Place the mesh filter.
- Connect the power supply to the wall socket.

NOTE:
- Make sure the filter is securely locked. Otherwise, it would loosen and cause danger.
- When an activated carbon filter attached, the suction power will be lowered.
Replacement filters can be purchased from the supplier of your cooker hood using the following code: Carbon filter – eiqcf130
BULB REPLACEMENT
The bulb must be replaced by the manufacturer, its service agent or similarly qualified persons. Always switch off the electricity supply before carrying out any operations on the appliance. When handling bulb, make sure it is completely cool down before any direct contact to hands. When handling globes hold with a cloth or gloves to ensure perspiration does not come in contact with the globe as this can reduce the life of the globe. Before changing the lights, make sure that the appliance is plugged off. Protect against danger when changing lights, such as wearing gloves.
CHANGING THE LIGHTS
- Remove the grease filter.
- Put one hand into the cavity to gently push out the LED light, and use the other hand to grab the light and pull it out, and then pull out the light cable.
- After changing the lamp, plug in the lamp cable, and put the lamp into the lamp hole.
ILCOS D code for this lamp is: DSS-1.5/65-S-120/33
- LED modules– rectangle LED lamp
- Max wattage: 1×1.5W
- Voltage range: DC 12V
- Dimensions:

MAINTENANCE
Before cleaning, switch the unit off and pull out the plug, or switch off at the relevant mains switch if the unit has been hard-wired in. Make sure the unit has no power being fed to it.
REGULAR CLEANING
Use a soft cloth moistened with warm mildly soapy water or household cleaning detergent. Never use metal pads, chemicals, abrasive material or a stiff brush to clean the unit.
STAINLESS STEEL
The stainless steel must be cleaned regularly (e.g.weekly) to ensure long life expectancy. Dry with a clean soft cloth. A specialized stainless-steel cleaning fluid may be used.
NOTE: Ensure that wiping is done along with the grain of the stainless steel to prevent any unsightly crisscross scratching patterns from appearing.
CONTROL PANEL SURFACE
The inlay control panel can be cleaned using warm soapy water. Ensure the cloth is clean and well wrung before cleaning. Use a dry soft cloth to remove any excess moisture left after cleaning.
IMPORTANT
Using neutral detergents and avoid using harsh cleaning chemicals, strong household detergents or products containing abrasives,as this will affect the appliance appearance and potentially remove any printing of artwork on the control panel and will void the manufacturer warranty.
TROUBLESHOOTING
| FAULT | CAUSE | SOLUTION |
| Light on, but fan does not work | The fan blade is jammed. | Switch off the unit. Repair to be carried out by qualified service personnel only. |
| The motor is damaged. | ||
| Both light and fan do not work | Light bulb blown | Replace the bulb with correct rating. |
| Power cord loose | Plug in to the power supply again. | |
| Excessive Vibration | The fan blade is damaged. | Switch off the unit. Repair to be carried out by qualified service personnel only. |
| The fan motor is not fixed tightly. | Switch off the unit. Repair to be carried out by qualified service personnel only. | |
| Suction performance not good | 1 Grease filters clogged 2 Distance between the unit and the cooking plane too great. | 1 Clean or replace grease filters. 2. Readjust the distance to between 65cm and 75cm. |
INFORMATION FOR DISMANTLING
Do not dismantle the appliance in a way that is not shown in the user manual. The appliance could not be dismantled by user. At the end of life, the appliance should not be disposed of with household waste. Check with you Local Authority or retailer for recycling advice.
electriQ UK SUPPORT
www.electriQ.co.uk/support
www.electriQ.co.uk
Call: 0330 390 3061
Office hours: 9AM – 5PM Monday to Friday
Unit J6, Lowfields Business Park
Lowfields Way, Elland
West Yorkshire, HX5 9DA
Recycling facilities are now available for all customers at which you can deposit your old electrical products. Customers will be able to take any old electrical equipment to participate sites run by their local councils. Please remember that this equipment will be further handled during the recycling process, so please be considerate when depositing your equipment. Please contact the local council for details of your local household waste recycling centres.
PRODUCT FICHE
| Symbol | Value | Unit | |
| Model identification | eiQSRG60 | ||
| Annual Energy Consumption | AEChood | 26.3 | kWh/a |
| Time increase factor | f | 1.5 | |
| Fluid Dynamic Efficiency | FDEhood | 14.5 | |
| Fluid Dynamic Efficiency class | Class D | ||
| Energy Efficiency Index | EEIhood | 63.5 | |
| Energy Efficiency class | Class B | ||
| Maximum airflow | Qmax | 278.5 | m3/h |
| Measured airflow rate at the best efficiency | QBEP | 165.9 | m3/h |
| Measured air pressure at best efficiency point | PBEP | 145 | Pa |
| Measured electric power input at best efficiency point | WBEP | 46 | W |
| Nominal power of the lighting system | WL | 1.5 | W |
| Average illumination of the lighting system on the cooking surface | Emiddle | 73 | lux |
| Measured power consumption on off mode | PO | 0.42 | W |
| Measured power consumption on standby mode | PS | – | W |
| Sound power level | LWA | Highest setting:65 Lowest setting:60 | dB |






























