ciarra CBCS6125 60cm Wall Mount Cooker Hood

Dear customer
Thank you so much for your purchase, please read this instruction manual carefully before installation & use.
If you have any question, please contact us at: E-mail: [email protected]
Safety
WARNING
TO REDUCE THE RISK OF FIRE, ELECTRIC SHOCK, OR INJURY TO PERSONS, OBSERVE THE FOLLOWING:
- Use this unit only in the manner intended by the manufacturer. If you have questions, contact the manufacturer at the address or telephone number listed in the warranty.
- Before servicing or cleaning unit, unplug or disconnect the cooker hood from the power supply.
- This appliance is not intended for use by persons (including children) with reduced physical, sensory or mental capabilities, or lack of experience and knowledge, unless they have been given supervision or instruction concerning use of the appliance by a person responsible for their safety.
- Installation work and electrical wiring must be done by a qualified person(s) in accordance with all applicable codes and standards, including fire-rated construction.
- Sufficient air is needed for proper combustion and exhausting of gases through the flue (chimney) of fuel burning equipment to prevent back drafting.
- When cutting or drilling into a wall or ceiling, do not damage electrical wiring and other hidden utilities.
- Ducted fans must always be vented to the outdoors.
- Ensure the requirements of the local authorities are adhered to concerning the discharge of exhaust air.
- This unit must be grounded.
- When applicable local regulations comprise more restrictive installation and/or certification requirements, the aforementioned requirements prevail on those of this document and the installer agrees to conform to these at his own expense.
- Clean cooker hood frequently. Grease should not be allowed to accumulate on fans, filters or in exhaust ducts.
Warning: Failure to install the screws or fixing device in accordance with these instructions may result in electrical hazards.
WARNING: TO REDUCE THE RISK OF INJURY TO PERSONS IN THE EVENT OF A RANGE TOP GREASE FIRE, OBSERVE THE FOLLOWING*:
- 1. SMOTHER FLAMES with a close-fitting lid, cookie sheet or metal tray, then turn off the burner. BE CAREFUL TO PREVENT BURNS. IF THE FLAMES DO NOT GO OUT IMMEDIATELY, EVACUATE AND CALL THE FIRE DEPARTMENT.
- NEVER PICK UP A FLAMING PAN — You may be burned.
- DO NOT USE WATER, including wet dishcloths or towels — This could cause a violent steam explosion.
- Use an extinguisher ONLY if:
- You own a Class ABC extinguisher and you know how to operate it.
- The fire is small and contained in the area where it started.
- The fire department has been called.
- You can fight the fire with your back to an exit.
CAUTION
- For indoor use only.
- For general ventilating use only. Do not use to exhaust hazardous or explosive materials and vapors.
- To avoid motor bearing damage and noisy and/or unbalanced fan blade, keep drywall spray, construction dust, etc. off cooker hood.
- Your hood motor has a thermal overload which will automatically shut off the motor if it becomes overheated. The motor will restart when it cools down. If the motor continues to shut off and restart, have the hood serviced.
- Always follows the cooking equipment manufacturer’s requirements regarding ventilation needs.
- To reduce the risk of fire and to properly exhaust air, be sure to duct air outside. Do not exhaust air into spaces within walls or ceiling or into attics, crawl space or garage.
- When installing, servicing or cleaning the unit, it is recommended to wear safety glasses and gloves.
- Please read specification label on product for further information and requirements.
Specifications
CBCS6125
| Voltage | 220V-240V~ 50Hz |
| Power of Motor | 1 x 70W |
| Power of lamps | 1 x 2W |
| Appliance Dimension | 595*450*448~830mm (W x D x H) |
| Note: The manufacturer reserves the right to change any technological improvement or modification without prior notice. | |
Before Using the Cooker Hood
CAUTION: Before proceeding to the installation, check if items are missing or damaged, contact the manufacturer.
Observe all governing codes and ordinances. Have a qualified technician install the cooker hood. It is the installer’s responsibility to comply with installation clearances specified on the model/serial rating plate. The manufacturer declines all responsibility for improper installation and does not accept responsibility for appliance warranty in the event of damage caused by incorrect installation.
COMPONENTS
![]()
- Part 1: Wall Plug X 9
- Part 2: 4*30mm Screws X 9
- Part 3: 4*8mm Screws X 2
- Part 4: Aluminum Exhaust Pipe X 1
- Part 5: Cable Ties X 2
- Part 6: Installtion Manual X 1
- Part 7: 1:1 Installation Diagram X 1

- Part 8: Lower Chimney Bracket X 1
- Part 9: Upper Chimney Bracket X 1
- Part 10: Wall Bracket X 1
- Part 11: Cooker Hood Body X 1
- Part 12: Lower Chimney X 1
- Part 13: Upper Chimney X 1
- Part 14: Carbon Filter X 1
- Part 9: Upper Chimney Bracket X 1
- Part 10: Wall Bracket X 1
- Part 8: Lower Chimney Bracket X 1 (CBCF004)
YOU WILL BE NEEDING THESE TOOLS FOR INSTALLATION
![]()
- Protective Gloves
- Spirit Level Ruler
- Measuring Tape
![]()
- Double Sided Tape or Tape
- Cross-Head Screwdriver Set
- Electric drill and 8mm drill
Prepare for Installation
Prepare for Installation
- Ventilation Mode

- Recirculation Mode: Recirculating with carbon filter (required), the smells and odors can be filtered and vented through the top vented hole and the exhaust pipe is not required.
- Extraction Mode: You can install the 1.5m long and 150mm diameter aluminum exhaust pipe for extracting, which is included in the installation kit.

- When possible, use at least 60cm straight runs before any turns. Larger duct work may be required for best performance with longer duct runs.
- Before installation, don’t connect the power.
Installation
Install the Hood(Extraction)
- Remove all protective poly film from the hood and/or parts.
- Recommend installation height: 65~75cm above the cooktop for best extraction.
- Required height over gas hob: 750mm;
- Required height over electric hob: 650mm.

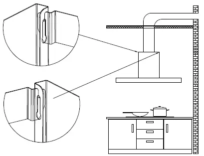
- First use a pencil to mark the installation position on the wall, then use a Measuring Tape to measure the height from the stove surface to the hood (the center point of aluminum grease filter) and use a Spirit Level Ruler to maintain the level, then use a pencil to draw a horizontal line along the level.

- Poke the 7 perforated positions on the 1:1 Installation Diagram, then align with the button line of the hood on the Installation Diagram with the horizontal line on the wall, then tape the Installation Diagram to the wall, and use a pencil to mark the perforated positions on the wall in the corresponding positions.

- Determine the maximum chimney installation height according to the actual scenario and mark the chimney installation locations along the center line of the Installation Diagram.

- Remove the Installation Diagram, drill the holes that have been marked on the wall with an Electric Drill (8mm drill), and hammer the Wall Plug into the wall.

- Use three 4*30mm Screws to fasten the Wall Bracket on the wall.

- Remove the aluminum grease filter and hang the hood on the corresponding hook of the Wall Bracket.

- Use a Spirit Level Ruler to measure whether the hood is in a horizontal level, and use two 4*30mm Screws to lock into the safety hole position of the hood (not mandatory, according to user’s wishes to choose whether to lock).

- Tear off the tape from the air outlet.

- NOTE: Make sure you remove the tape on the damper and check if the damper opens and closes freely, otherwise it make noises, and the cooker hood will be shaking.
- Use two 4*30 mm Screws to lock the Upper and Lower Chimney Brackets to the corresponding positioning holes on the wall.

- Install the Aluminum Exhaust Pipe into the air outlet and lock it with a Cable Tie; the other end of the Aluminum Exhaust Pipe will be pulled upward to outdoor and lock it with a Cable Tie (Note: This step can be ignored if use as recirculation mode with carbon filter).

- Insert the Lower Chimney into the hood (Note: The power cord needs to go through the chimney and connect the power).

- Lock the Lower Chimney on the Lower Chimney Bracket by two sides.

- Put the Upper Chimney into the Lower Chimney, and then pulled to the height of the Upper Chimney Bracket.

- Use two 4*8mm Screws to assemble the Upper Chimney on the Upper Chimney Bracket.

- Turn the LED lights on/off, and test whether the functions are working properly.

Carbon Filter Installation(Recirculation)
- Carbon filter can be used to trap odors. In order to install the carbon filter, the grease filter should be detached first. Press the lock and pull it down.

- Insert the carbon filter into the specified position of the cooker hood as shown below (Note the differences between the front and back and the direction of the carbon filter), then push inside the cooker hood. Push the two lock catches on the carbon filter into the specified position.
- If need to replace, press on the lock catches and pull the carbon filter, then follow the steps above to install a new carbon filter.
NOTE
- Make sure the carbon filter is securely locked.
- When the carbon filter is installed, the suction of the cooker hood will be reduced.
- The carbon filter should be changed every 2-4 months depending on the conditions of use.
Operation
Always turn your hood on before you begin cooking to establish an airflow in the kitchen. Let the blower run for a few minutes to clear the air after you turn off the hood. This will help to keep the entire kitchen clean and fresh.
Operate the hood as follows

Off button- It’s used to turn off the fan.
Low-Speed button- For air ventilation with barely no noise; or simmering with very little smoke and steam.
Medium Speed button- For your everyday cooking purpose.
High Speed button- High-Speed for stir-fry or cooking with lots of smoke and grease produced.
Light button- When lights are OFF, press this button once to turn ON the lights. Press this button again to turn OFF the lights.
Cleaning and Maintenance
Proper maintenance of the Cooker Hood will assure proper performance of the unit. Before cleaning unit, unplug or disconnect the cooker hood from the power supply.
GREASE FILTERS
The grease filters should be cleaned frequently. Can be cleaned in dishwasher under high temperature without using any detergent.
CARBON FILTER
The carbon filter should be changed every 2-4 months depending on the conditions of use. Replace more often if your cooking style generates lots of greases, such as stir frying. These filters are not washable and cannot be reused. Refer to installation instructions included with a carbon filter.
STAINLESS STEEL CLEANING
Do
- Regularly clean it with a cloth or rag soaked with warm water and mild soap or liquid dish detergent.
- You may also use a specialized household stainless steel cleaner.
Don’t
- Use any steel or stainless-steel wool or any other scrapers to remove stubborn dirt.
- Use any harsh or abrasive cleansers.
- Let plaster dust or any other construction residues reach the hood.
During construction/ renovation, cover the cooker hood to make sure no dust sticks to the stainless-steel surface.
Avoid when choosing a detergent
- Any cleaners that contain bleach will attack stainless steel.
- Any products containing: chloride, fluoride, iodide, bromide will deteriorate surfaces rapidly.
- Any combustible products used for cleaning such as acetone, alcohol, ether, benzol, etc., are highly explosive and should never be used close to a range.
PAINTED FINISH CLEANING
Clean with warm water and mild detergent only. If discoloration occurs, use a finish polish such as automotive polish. (DO NOT use a rough abrasive cleaner or porcelain cleaner.)
LED REPLACEMENT
- Rectangle LED lamp

CAUTION: Before cleaning or repairing and replacing accessories, please make sure to shut down the power before operation, so as to avoid electric shock, damage to human body and even endanger life safety!
- Turn off the hood and unplug the power outlet. Detach the grease filter in order for you to replace the LED lamp.

- Push the LED lamp holder out from the cabinet by hand, or use slotted screwdriver to prize up the LED lamp around the edges, pull out the LED lamp and the wire together.

- Open the power protection cover, pull out the plug and replace the corresponding model of the LED lamp.

- Turn the power on and test all blower and light functions to ensure they are operating properly. Insert the new LED light gently into the light socket, please make sure you aim at the grooves on the lighting panel when installing. Push the LED light in until it is flushed with the light panel.

- Put the grease filter back on, you are good to go.
Troubleshooting
| Problem | Possible Cause | Solution |
| Extractor hood does not turn on | No electrical supply | Make sure that range hood is plugged into powered outlet. Test outlet with other device if not working |
| My range hood has poor performance | Inadequate ventilation | Ensure that the kitchen is sufficiently ventilated to allow entry of fresh air |
| The range hood and cooktop are too far away from each other | The optimal distance is 65~75cm above the cooktop for best extraction | |
| Check and make sure the tape holding down the damper flaps at the vent hole are removed before use | Remove the tape holding down the damper | |
| Grease filters clogged with grease build-up | Clean the grease filters or replace the grease filters | |
| Carbon filters clogged with grease build-up | Replace new carbon filters | |
| Motor is running but no extraction | Please contact CIARRA Customer Care Service | |
| My range hood is noisy | Check inside the range hood for any loose debris and remove | Please contact CIARRA Customer Care Service |
| If the noise is from the motor, please contact our Customer Care Service | ||
| Lights are not working | Light is damaged | Replace with new LED lamp; remove grease filters, reach inside behind the control panel and locate the wire with clip behind the light housing. |
| The light wire terminal is loose | Reset the connection |
If problem persists after the above checks, please contact CIARRA Customer Care Centre for assistance.
Environmental Protection
Waste electrical products should not be disposed with household waste. Please recycle where facilities exist. Check with your Local Authority or retailer for recycling advice. This appliance is marked according to the European directive 2012/19/EU on Waste Electrical and Electronic Equipment (WEEE). By ensuring this product is disposed of correctly, you will help prevent potential negative consequences for the environment and human health, which could otherwise be caused by inappropriate waste handling of this product. The symbol on the product indicates that this product may not be treated as household waste. Instead it shall be handed over to the applicable collection point for the recycling of electrical and electronic equipment.
Disposal must be carried out in accordance with local environmental regulations for waste disposal. For more detailed information about the treatment, recovery and recycling of this product, please contact your local city office, your household waste disposal service or the shop where you purchased the product.











































