HOUSE OF ROHL A4817LMSTN Palladian Exposed Thermostatic Valve Instructions
Assembly Instructions
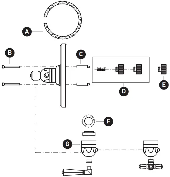
ILLUSTRATED PARTS
A4923
San Giovanni™ 3/4” Thermostatic Trim Without Volume Control

| ID | Kit Number | Finish |
| A | C7921 | N/A |
| B | C7539 | N/A |
| C | C7914 | N/A |
| D | C7913SET | N/A |
| E | C7919/820 | N/A |
| F | C7911 | N/A |
| G | C7902 | N/A |
*Finish Determined by Suffix
| Finish | Description |
| APC | Polished Chrome |
| MB | Matte Black |
| PN | Polished Nickel |
| STN | Satin Nickel |
| TCB | Tuscan Brass |
For warranty or additional information, contact:
U.S.A.
houseofrohl.com/support
1-800-777-9762
QUEBEC / MARITIMES / WESTERN CANADA
houseofrohl.ca/support
1-866-473-8442
ONTARIO
houseofrohl.ca/support
1-800-287-5354




















