seitron KTY003 Hygge Kit Class 5 WiFi Battery Powered Programmable Thermostat

TECHNICAL FEATURES
- Power supply: Battery 2×1.5V size AAA.
- Software class: A
- Size: 35x115x19 mm (LxHxD)
- Thermoregulation class: V (3%)
INSTALLATION
- Take off the battery compartment cover and correctly insert the featured batteries (according to the correct polarity).

- hygge programmable thermostat can be installed on a wall or it can be put on a flat horizontal surface (e.g. a table) with or without the provided magnetic stand.

TECHNICAL FEATURES
- Power supply: 5V through power grid plug
- Software class: A
- Size: 85x125x25 mm (LxHxD)
INSTALLATION
- Connect the provided power adapter, on the back of the device.

- The IoT Gateway is only used stable on a flat surface.
WARNING
Before placing the device on its final position, make sure that the WiFi signal is present and that the device receives the radio signals transmitted by hygge programmable thermostat correctly.
- Download the Seitron Smart app
- Start the App, sign in as a new user and make the Login by entering your email and password. Then complete the configuration of the IOT GATEWAY.
LOGIC SYSTEM DIAGRAM

WARNING
THE DEVICES INSIDE THIS KIT ARE FACTORY PRE-MATCHED: ONCE THE MECHANICAL INSTALLATION IS COMPLETE, THEY ARE READY TO USE.
TECHNICAL FEATURES
- Power supply: 85 .. 264V 47..63Hz
- Outputs: 6(3)A 250V (voltage free contacts) + Modbus® RTU RS485
- Type of action: 1.C
- Pollution degree: 2
- Software class: A
- Rated impulse voltage: 2500V
- Ball pressure test temperature: 75°C
- EMC test voltage: 230V
- EMC test current: 30mA
- Size: 78x125x30,5 mm (LxHxD)
- Thermoregulation class: V (3%)
WARNING
- Before wiring the appliance be sure to turn the mains power off.
- Before proceeding with the installation of the receiver, make sure that the radio signals transmitted by the thermostats are correctly received by the receiver.
- Installation and electrical wirings of this appliance must be made by qualified technicians and in compliance with the current standards.
Cut off mains power.
- Using a screwdriver, push the plastic flap of the bottom slot and slightly lift the cable lid up.

- Rotate the cable lid and remove it completely.

There are three options for the cable entry
- Back cable entry: Open the hole E Fig. 4, with a screwdriver.
- Side cable entry: With suitable pliers, remove the plastic teeth, as indicated by arrows in D Fig. 3.
- Bottom cable entry: Open one or both holes F Fig. 4, with a screwdriver.

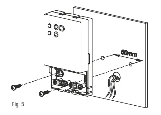
- Fix the plate onto the wall using the two screws housings with a 60 mm centre-to-centre distance (use the screws and/or dowels supplied) – Fig. 5.

WARNING!
The receiver must be installed on a wall or on a surface in order to make the back of the product inaccessible.
Make the electrical connections following the paragraph “Electrical connections “ of the complete manual.
On the side is shown a simplified connection diagram.
- Where:
- Power supply:
- L N: Power supply 85..264V 47..63Hz (Neutra lon terminal N)
- Relay contacts:
- NO: Normally Open Contact
- NC: Contact Normally Closed
- C: Common
- Communication port:
- A B: Modbus® RS485
- GND: Ground (wire shielding – optional connection)
Place the cable lid on the base and rotate it towards the base; push the cable lid until the locking plastic flap springs int7 the hole on the lower side of the cable lid
Power the receiver back on.
Visit www.seitron.com and download the complete manual CONTACT US [email protected] TALK WITH US +39 0424 567842





















