seitron Wi-Time Wall Wi-Fi Programmable Thermostat
WIRING DIAGRAM
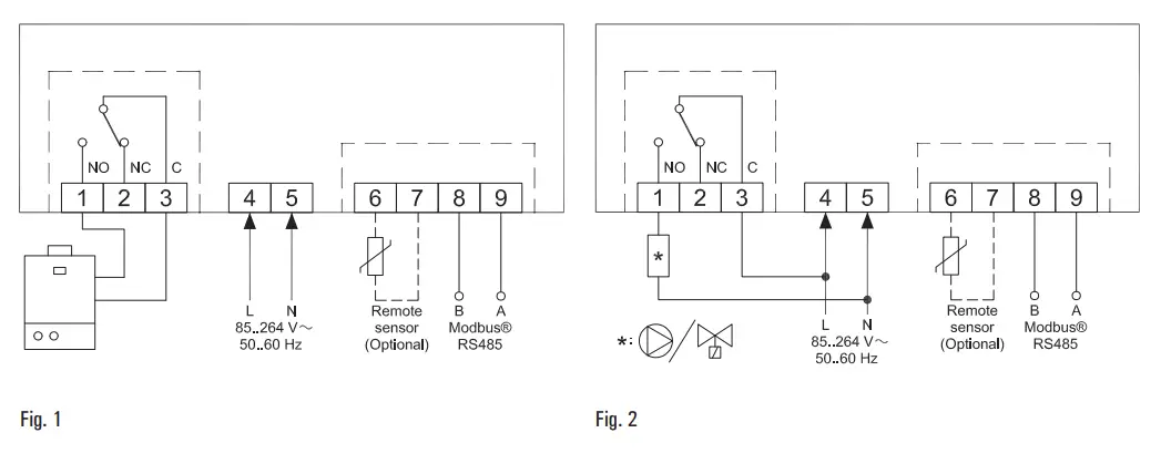
- The programmable thermostat wi-time wall can be powered at 85..264 V 50..60 Hz. The L and N terminals power the programmable thermostat at 85..264V and are to be connected to the mains voltage with the neutral on the terminal N. Terminals 1, 2 and 3 are the contacts, voltage free, type SPDT of the output relay.
- Figure 1 illustrate how to connect the programmable thermostat to a boiler. The boiler will be turned on when the programmable thermostat associated with output asks for heat (heating mode).
- On Figure 2 it is shown how to connect a load (for example a pump) which is powered when the output is active and that is when the programmable thermostat requires heat (heating) using the NA relay terminal.
- Follow the Fig. 1 or 2 connection diagram.
- The programmable thermostat has an input for connecting a remote probe (optional). In case the installation includes a remote probe mounting, it is necessary to connect a 10 kΩ NTC-type probe at 25°C to terminals 6 and 7.
- If in doubt about the type of probe to be connected, please consult the manufacturer.
- The device can be connected to a home automation control unit with which it will communicate via RS485 bus with MODBUS® RTU protocol. The RS485 bus is available at terminals 9 (A) and 8 (B).
- The signals relating to the RS485 port are insulated with double insulation in relation to the power supply terminals L and N and the output relay termin
- It is necessary to tie together the cable groups with cable ties separating the power and load wires from those of the bus to avoid a wire is accidentally disconnected, this does not reduce the electrical insulation.
- For more information on the operating mode and the communication protocol, it is necessary to contact the local dealer.
WARNING
- To adjust properly room temperature, install the programmable thermostat far from heat sources, airstreams or particularly cold walls (thermal bridges). If a remote probe is used, the note should be applied to the probe and not to the thermostat.
- If the load driven by the programmable thermostat works with mains grid power, it is necessary that the connection is performed using an omnipolar switch complying with the current standards and with a contact opening distance of at least 3 mm in each pole.
- The installation and electrical connections of the devicemust be carried out by qualified personnel and in compliance with current standards.
- Before making any connections, make sure that the power supply is disconnected.
Make the electrical connections following the appropriate diagram.
PROGRAMMABLE THERMOSTAT-APP PAIRING
After completing the steps described in the “INSTALLATION” chapter of the Quick Start Guide, you can proceed to connect and configure the device by following the step-by-step instructions and video tutorial in the Seitron Smart APP.
Device connection with App and Wi-Fi network
When the wi-time wall is associated with the App and connected to the Wi-Fi network, the display will show the “
“ icon for a few seconds; now the connected device can be remotely managed by the App.
WARNING
- It may take a few minutes for the wi-time wall thermostat to appear on the App screen.
- Verify proper connection to the Wi-Fi network:
- On the main screen of the programmable thermostats already associated with the App and connected to the Wi-Fi network, the symbol appears “
“ (only in the full visualization mode). The bars of that symbol are filled according to the quality of the available Wi-Fi signal.
UNPAIRED APP-PROGRAMMABLE THERMOSTAT
After completing the steps described in the “INSTALLATION” chapter of the quick start guide, you can use the programmable thermostat without pairing it with the Seitron Smart APP by proceeding as follows: When the display shows the pairing screen, marked by the “
“ symbol and the words “ PAIRING “ hold down the “
“ button for 5 seconds; the words “ PAIRING “ change to “ SKIP “ then the display switches to the minimal display.
WARNING
- When the wi-time wall is not paired with the App, the only available room temperature control modes are manual and antifreeze.
- If “temporary manual” mode is selected, the programmable thermostat will carry out temperature adjustment in the same way as “permanent manual” mode.
- The “Program” control mode, if selected, will not make any room temperature adjustment.
OPERATION
DISPLAY VISUALIZATION
wi-time wall has two display modes:
To switch from one display mode to the other, simply hold down the “
“ key until the new display screen appears.
MINIMAL VISUALIZATION
The “ minimal “ display screen of the wi-time wall shows the following parameters:
- Detected ambient temperatures.
- The “
“ symbols in case wi-time wall requires heating or cooling to be turned on. - The “
“ symbol in case the Boost mode has been activated from the App. - The “
“ symbol in case the Wi-Fi connection is absent. - The “
“ symbol in case the Wi-Fi connection is absent. - Pressing the “
“ button once will display the current operation mode of the programmable thermostat and its setpoint temperature; waiting 3 seconds will return the programmable thermostat to the minimal display.
COMPLETE VISUALIZATION
The screen ‘complete visualization mode’ of the wi-time wall shows the following parameters:
- The “
“ symbol indicating the presence and intensity of the Wi-Fi connection. - The “
“ symbol In case the Wi-Fi connection is absent. - The “
“ symbol In case the connection to the cloud is absent. - The detected ambient temperature.
- The control mode (Comfort “
“ and Economy “
“) and the setpoint temperature (SET) set. - Symbols “
“ In case wi-time wall requires heating or cooling to be turned on. - The “
“ symbol in case Boost mode has been activated from the App. - The mode of operation: Program “
“, Manual Temporary “ ”, Manual Permanent “ ”, Antifreeze “ “ or “OFF” (turned off).
STARTUP
- Associate the programmable thermostat with the App as described in “PROGRAMMABLE THERMOSTAT-APP PAIRING.”
- Set the operation mode of the programmable thermostat on Heating (Default setting) or Cooling.
OPERATION LOGIC
- In “heating” mode, when the room temperature detected by the internal sensor (or alternatively by the remote probe if connected), is lower than the set temperature (by program or manually), wi-time wall activates the relay to start the boiler and the display shows the icon “
“. - In “cooling” mode, when the room temperature detected by the internal sensor (or alternatively by the remote probe if connected), is higher than the set temperature (by program or manually), wi-time wall activates the relay to start the boiler and the display shows the icon “
“.
SETTING HEATING/COOLING MODE
To change the regulation mode from heating to cooling and vice versa, proceed as follows:
- From the main screen (minimal or full display) hold down the
buttons simultaneously until “COOL” or “HEAT” appears on the display. - At this point release the keys; the programmable thermostat will have set the operating mode in accordance with the wording on the display (COOL = cooling, HEAT = heating).
AMBIENT TEMPERATURE REGULATION MODE
- Press the “
“ button once, the wi-time wall programmable thermostat shows the current operation mode active on that moment (this function is only available on the “minimal” display mode). - By pressing the “
“ button further, it is possible to modify the operation mode of the wi-time wall programmable thermostat choosing among the 4 different modes:
=> “
“ (Program) => “
” (Manual Temporary) => “
” (Manual Permanent) => “
“ (Antifreeze) or “OFF” (turned off) => - Once one of the modes has been selected, after a 3-second wait, the wi-time wall programmable thermostat assumes the new operating mode and if in minimal display, returns to the main screen.
- Only in the case where “
“ or “OFF” mode has been selected, after the 3-second wait, the programmable thermostat will not return to the main screen, but will display the antifreeze setting “
“ (with its antifreeze temperature set) or off “OFF”.
Program “
“
The wi-time wall programmable thermostat regulates the room temperature according to the weekly program set exclusively through the Seitron Smart APP.
Detail:
- The possible regulation modes are the following:
- On heating mode: Off/Antifreeze, Comfort or Economy (reduction).
- On cooling mode: Off, Comfort or Economy (reduction).
- Normally on ‘Heating’ mode, to have a night set-back, the economy temperature shall be lower than the comfort temperature.
- On the contrary, in ‘Cooling’ mode, the economy temperature must have a higher value than that of comfort.
Temporary manual mode “
”
The wi-time wall programmable thermostat regulates the room temperature according with the manually set temperature setpoint, until midnight of the current day, and then go back to the ‘Program’ mode. The setpoint temperature can be changed by acting on the
keys of the wi-time wall programmable thermostat as well as on the Seitron Smart APP.
Manual mode “
”
The wi-time wall programmable thermostat regulates the room temperature according with the manually set temperature setpoint, permanently or until you change the adjustment mode directly on the wi-time wall programmable thermostat or using the Seitron Smart APP. The setpoint temperature can be changed by acting on the “ “ e “ “ keys of the wi-time wall programmable thermostat as well as on the Seitron Smart APP.
Antifreeze “
“
The wi-time wall programmable thermostat regulates the room temperature according with the antifreeze temperature, set on the advanced parameters of the wi-time wall programmable thermostat on menu “P01: ANTI FROST”. The ANTI-FREEZE mode “
“ is available only if the programmable thermostat has been set in heating mode and if the set antifreeze temperature is greater than 0.5°C; otherwise the display shows OFF.
OFF
The display show the writing ‘ OFF ’. The wi-time wall programmable thermostat is turned off.
SETPOINT TEMPERATURE SETTING FOR MANUAL MODES
From the main screen, pressing one of the
keys will bring the wi-time wall programmable thermostat into the Temporary Manual operation mode and display the relevant setpoint temperature set for the manual modes (Permanent Manual “
” and Temporary Manual “
”. Pressing the
buttons again will go to setpoint temperature for manual modes only.
BOOST
This mode is only activable using the Seitron Smart APP. By activating this mode, the wi-time wall programmable thermostat forces the cooling or heating system ON (depending on the active setting) for a time selectable between 30, 60 or 90 minutes regardless of the setpoint temperature. This function is useful if you have to heat or cool a particularly cold or hot environment.
SWITCHING OFF
To turn off the programmable thermostat, select the “OFF” operating mode by repeatedly pressing the “
“.
WARNING
In the case where the programmable thermostat is set in heating mode, it is necessary for the anti-freeze parameter to be set to “OFF” (see chapter “ADVANCED CONFIGURATION”).
ANTIFREEZE FUNCTION
- The antifreeze function is activated if the programmable thermostat is on and the following three conditions are true at the same time:
- The device is on ‘Program’ mode.
- It has not been specified a Comfort or Economy temperature in a time slot during the daily program.
- The device is on ‘Heating’ mode.
- If all these conditions are true, the antifreeze function will be active; in such a case the room temperature is regulated according to the value set on the antifreeze parameter (see paragraph “ADVANCED CONFIGURATION”).
- If the “Antifreeze” parameter is set to “OFF” or if at condition 3, the programmable thermostat is set to “Cooling” mode, the display will show “OFF” (the programmable thermostat is off).
REMOTE TEMPERATURE SENSOR
- The wi-time wall is featured with an input to which a remote sensor (optional) can be connected.
- The external sensor can be used to detect the room temperature in case the programmable thermostat must be installed in a position which is not suitable for the room temperature detection.
- In cases where the installation involves remote probe mounting, a 10 KOhm NTC-type probe at 25°C must be connected to terminals 6 and 7 as shown in the connection diagrams in “CONNECTION DIAGRAMS.”
- In case of doubts about which type of sensor it is needed to connect, please contact the manufacturer.
- The programmable thermostat automatically recognize if a remote sensor is connected and it will regulate the room temperature according to the temperature detected by the remote sensor itself.
- The temperature shown on the device will be the one detected by the remote sensor.
MODBUS
The wi-time wall can be connected to a home automation control unit with which it will communicate via RS485 bus, with MODBUS® RTU protocol. In this way, both relay output status and proportional status can be read to perform proportional (modulating) control. For more information on the mode of operation and MODBUS® communication protocol, you should contact your local distributor
ADVANCED CONFIGURATION
To enter the advanced user parameter configuration of the wi-time wall programmable thermostat, proceed as follows:
- Hold down at the same time for 10 seconds the keys “ “ and “ “; the display shows the symbol “ “ and the first available parameter.
- Repeatedly press the key “ “ for scroll the user parameters:
- P01 ANTI FROST (Antifreeze)
- P02 OFFSET (OFFSET room temperature indoor sensor or remote sensor)
- P03 HYST (Hysteresis)
- P04 PROP BAND (Proportional band)
- P05 INTEGR TIME (Integrative time)
- P06 TMIN HEAT (Minimum heating temperature)
- P07 TMAX HEAT (Maximum heating temperature)
- P08 TMIN COOL (Minimum cooling temperature)
- P09 TMAX COOL (Maximum cooling temperature)
- P10 MODBUS ID (ID MODBUS settings)
- P11 WI-FI CONFIG (Activate Wi-Fi configuration)
- P12 RESET FACT DEFS (Resets the programmable thermostat to factory data settings)
- P13 INFO SERVICE (Firmware and MAC address display)
- Having found the parameter to be changed, by means of the “ “ and “ “ keys it is possible to change its value, or by pressing the “ “ key for 10 seconds activates the functionality of the selected parameter.
- Set the data related to each single parameter, as shown below.
- To exit the programming of the user parameters wait 15 seconds without pressing any key.
ANTI FROST (Antifreeze)
The Antifreeze function allows to set a minimum temperature which is maintained when the wi-time wall is set on heating mode and on the current time slot no comfort or reduction temperature is specified or on the programmable thermostat the antifreeze mode has been activated (“ “); this function allows to preserve the environment and the system is the temperature drops below the set limit. The device exits the factory with the antifreeze set to 6.0 C. The antifreeze temperature can be set between 0.5°C and 10.0 °C. Below 0.5°C the antifreeze is deactivated and the wi-time wall programmable thermostat, when this mode is selected, will be completely off (OFF).
To adjust the antifreeze temperature, perform the following steps:
- Having selected the “ANTI FROST” parameter, adjust the desired antifreeze temperature with the “ “ and/or “ “ buttons; the setting is saved automatically.
- Press the “ “ key to select the next parameter or wait 15 sec. without pressing any key.
P02: OFFSET (Room temperature offset indoor sensor or remote sensor if connected) Using this parameter, it is possible to correct the temperature detected by the temperature sensor inside the wi-time wall programmable thermostat or by the remote sensor if connected to the wi-time wall, by ±5°C so as to correct any systematic reading errors due to placement of the wi-time wall programmable thermostat/remote sensor in areas unsuitable for detecting room temperature. The device leaves the factory with the Offset set to 0.0°C.
To adjust the sensor Offset temperature, perform the following steps:
- Having selected the “OFFSET”, parameter, adjust with the “ “ and/or “ “ keys the temperature offset you wish to set; the setting is saved automatically.
- Press the “ “ key to select the next parameter or wait 15 sec. without pressing any key.
HYST (hysteresis setting)
Setting this parameter allows to define the hysteresis (differential) in °C, which is used by the programmable thermostat for ON/OFF regulation. In heating mode, the activation of the wi-time wall output relay occurs at the setpoint temperature minus the set hysteresis value, while the shutdown occurs when the setpoint temperature is reached. In “Cooling” mode, the behavior is mirrored. The parameter can be set in the range 0.1°C … 5.0°C. The device leaves the factory with the hysteresis set to 0.2°C.
WARNING!
- The modification of this parameter must be carried out by qualified personnel, as an inappropriate value can cause malfunctions.
- To adjust the differential perform the following steps:
- Having selected the “HYST” parameter, adjust with the “ “ and/or “ “ buttons the hysteresis you wish to set; the setting is saved automatically.
- Press the “ “ key to select the next parameter or wait 15 sec. without pressing any key.
PROP BAND (Proportional band)*
This parameter allows you to adjust the proportional band in the range 1.0°C .. 8.0 °C that will be used for proportional control* The device, by default, has this parameter set at 2 °C.
To set the proportional band, proceed as follows:
- Having selected the “PROP BAND” parameter, adjust with the “ “ and/or “ “ keys the proportional band you wish to set; the setting is saved automatically.
- Press the “ “ key to select the next parameter or wait 15 sec. without pressing any key.
INTEGR TIME (Integrative time)*
- This parameter allows you to choose the integrative time in the range 0 .. 180 minutes that will be used for the proportional regulation* if it has been chosen to have a modulating regulation.
- If set to 0, there will be no supplementary action and there will be a P type regulation, otherwise there will be a P + I type regulation.
- The device, by default, has this parameter set at 60 min.
To set the integrative time, proceed as follows:
- Selected the “INTEGR TIME” parameter, adjust with the buttons “ “ and/or “ “ the integrative time you want to set; the setting is saved automatically.
- Press the “ “ key to select the next parameter or wait 15 sec. without pressing any key. P06: TMIN HEAT (Minimum heating temperature) Adjusts the minimum temperature that can be set in normal operation using the “ “ and “ “, buttons when the wi-time wall programmable thermostat is set in “Heating” mode and can be set between 5.0 °C and 40.0 °C. The device leaves the factory with the parameter set at 5.0 °C.
To set the minimum temperature, proceed as follows:
- Having selected the “TMIN HEAT” parameter, adjust with the “ “ and/or “ “ keys the temperature you wish to set (obviously it must be a lower value than the temperature set on TMAX HEAT); the setting is saved automatically.
- Press the “ “ key to select the next parameter or wait 15 sec. without pressing any key.
TMAX HEAT (Maximum heating temperature)
Adjusts the maximum temperature that can be set in normal operation using the “ “ and “ “, buttons when the wi-time wall programmable thermostat is set in “Heating” mode and can be set between 5.0 °C and 40.0 °C. The device leaves the factory with the parameter set to 40.0 °C.
To set the maximum temperature, proceed as follows:
- Having selected the “TMAX HEAT” parameter, adjust with the “ “ and/or “ “ keys the temperature you wish to set (obviously it must be a higher value than the temperature set on TMIN HEAT); the setting is saved automatically
- Press the “ “ key to select the next parameter or wait 15 sec. without pressing any key.
TMIN COOL (Minimum cooling temperature).
Adjusts the minimum temperature that can be set in normal operation using the “ “ and “ “, buttons when the wi-time wall programmable thermostat is set in “Cooling” mode and can be set between 5.0 °C and 40.0 °C. The device leaves the factory with the parameter set to 5.0 °C.
To set the minimum temperature, proceed as follows:
- Having selected the “TMIN COOL” parameter, adjust the temperature you wish to set with the “ “ and/or “ “ keys (obviously it must be a lower value than the temperature set on TMAX COOL); the setting is saved automatically.
- Press the “ “ key to select the next parameter or wait 15 sec. without pressing any key.P09: TMAX COOL (Maximum cooling temperature). Adjusts the maximum temperature that can be set in normal operation using the “ “ and “ “, buttons when the wi-time wall programmable thermostat is set in “Cooling” mode and can be set between 5.0 °C and 40.0 °C. The device leaves the factory with the parameter set to 40.0 °C.
To set the maximum temperature, proceed as follows:
- Having selected the “TMAX COOL” parameter, adjust with the “ “ and/or “ “ keys the temperature you wish to set (obviously it must be a higher value than the temperature set on TMIN COOL); the setting is saved automatically.
- Press the “ “ key to select the next parameter or wait 15 sec. without pressing any key.
MODBUS ID (MODBUS® ID Setting)
The parameter allows the MODBUS® address of the wi-time wall programmable thermostat to be set. The device leaves the factory with the parameter set to 2. To set the parameter, proceed as follows:
- After selecting the “MODBUS ID” parameter, use the “ “ and/or “ “ buttons to set the MODBUS® address of the device; the setting is saved automatically.
- Press the “ “ key to select the next parameter or wait 15 sec. without pressing any key.
WI-FI CONFIG (Enable Wi-Fi Configuration)
This parameter has two main functions:
- It allows you to reconfigure a Wi-Fi network.
- Allows a new user to be associated with the same programmable thermostat.
To carry out the procedure, perform the following steps:
- Having selected the “WI-FI CONFIG” parameter, press and hold the “ “ button for at least 10 seconds.
- The display of the wi-time wall shows “WI-FI CONFIG OK”.
- After a few moments, the programmable thermostat will restart and the Pairing screen will appear for 2 minutes; the display shows “ “ and the words “ PAIRING “.
- Proceed as described in the chapter “PAIRING PROGRAMMABLE THERMOSTAT-APP”.
WARNING
In the event that power is lost to the device and subsequently restored, the device will resume operation by connecting to the last stored Wi-Fi network (if available); this applies even if through the “WI-FI CONFIG” procedure the device was in reconfiguration mode.
RESET FACT DEFS (Resets the PROGRAMMABLE thermostat back to factory settings)
Using this parameter, user parameters can be reset so as to bring all parameters to the factory-set default values. Proceed as follows:
- Having selected the “RESET FACT DEFS” parameter, press and hold the “ “ key for at least 10 seconds.
- The display of the wi-time wall shows “RESET FACT DEFS OK”.
- After a few moments, the programmable thermostat will restart and the Pairing screen will appear for 2 minutes; the display will show “ “ and the words “ PAIRING “.
- Proceed as described in the chapter “PAIRING PROGRAMMABLE THERMOSTAT-APP” to pair the programmable thermostat with the APP.
- Reprogram the programmable thermostat wi-time wall as described in the chapter “OPERATION”.
INFO SERVICE (Firmware display and MAC address).
This parameter provides the following information related to the wi-time wall programmable thermostat:
- MAC address of the device
- Firmware version
- The sensor used for room temperature control: INT (internal) or EXT (remote probe).
TECHNICAL FEATURES
- Power supply: 85 .. 264 V~ 50 .. 60 Hz
- Power absorption: <2 W
- Contact rating: 3A 250V~ SPDT
- Communication port: MODBUS® RTU
- Frequency: 2.4 .. 2.5 GHz
- Modulation: DSSS / OFDM / MIMO-OFDM
- Max. RF power transmitted: <100 mW
- Type of antenna: Internal
- Temp. regulation range: comfort: 5 °C .. 40 °C
- economy: 5 °C .. 40 °C
- Internal sensor type: NTC 10 K Ohm ±1% @ 25 °C
- Remote sensor type (optional): NTC 10 K Ohm ±1% @ 25 °C
- Precision: ±1 °C
- Resolution: 0.1 °C
- Hysteresis: 0,1 °C .. 5 °C (Default 0,2 °C)
- Antifreeze: OFF / 2 °C .. 25.0 °C (Default 3,0 °C)
- Temp. sensor offset: ± 5.0°C. (Default 0.0°C)
- Protection grade: IP 30
- Type of action: 1
- Overvoltage category: II
- Pollution degree: 2
- Tracking Index (PTI): 175
- Class of protection against
- electric shock: II
- Rated impulse voltage: 2500V
- Number of manual cycles: 1.000
- Number of automatic cycles: 100.000
- Software class: A
- EMC test voltage: 230V~
- EMC test current: 25mA
- Distances tolerances fault
- mode ‘short’ exclusion: ±0,15mm
- Ball pressure test temperature: 75°C
- Operating temperature: 0°C .. +40°C
- Storage temperature: -10°C .. +50°C
- Humidity limits: 20% .. 80% RH non condensing
- Case: Material: ABS+PC V0 self-extinguishing
- Color: White
CLASSIFICATION UNDER REG. 2013.811.CE
- Class: V
- Contribution to energy efficiency: 3%
DIMENSIONS
WARRANTY
In the view of a constant development of their products, the manufacturer reserves the right for changing technical data and features without prior notice. The consumer is guaranteed against any lack of conformity according to the European Directive 2019/771/UE as well as to the manufacturer’s document about the warranty policy. The full text of warranty is available on request from the seller





















