iGuzzini PIXEL PRO LED Downlight
![]()
WARNING: THE SAFETY OF THIS FIXTURE IS GUARANTEED ONLY IF YoU COMPLY WITH THES INSTRUCTIONS; REMEMBER TO CONSERVE IN A SAFE PLACE.![]()
Installation Position
![]()
N.B.: Fixtures not suitable to be covered in thermally-insulating material.![]()
![]()
![]()
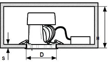
Consult following table and make hole on ceiling.![]()
![]()
If you install the product on the ceiling in a closed room, the degree of protection is that indicated in the figure.![]()
Refer to the marking on the power unit for the electrical connection.![]()
Controlling different DALI products through buttons (e.g.: Touch-dim, Switch-dim, Push-dim, Direct-dim, etc.) may lead to product synchronisation problems. This problem can be overcome by using additional devices. For further information, please contact us directly.
Devices with digital control gear may be dimmed using DALI devices or a normally-open button (N.O.) to be connected as shown in the diagram.![]()
![]()
![]()
ADJUSTING THE POSITION OF THE OPTICAL ASSEMBLY
![]()
![]()
Replace the damaged protective screen, requesting the technical specifications from the manufacturer. Do not use the luminaire without the screen.![]()
![]()
![]()
REPLACING THE LED
N.B.: For information on LED replacement please contact iGuzzini.
WARNING:
T H E S A F E T Y O F T H IS F IX T U R E IS G U A R A N T E E D O N LY IF Y O U C O M P LY W IT H
THESE INSTRUCTIONS; REMEMBER TO CONSERVE IN A SAFE PLACE.![]()
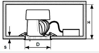
Consult following table and make hole on ceiling.![]()
![]()
![]()
If you install the product on the ceiling in a closed room, the degree of protection is that figure.![]()
Refer to the marking on the power unit for the electrical connection.![]()
button (N.O.) to be connected as shown in the diagram.
Controlling different DALI products through buttons (e.g.: Touch-dim, Switch-dim, Push-dim, Direct-dim, etc.) may lead to product synchronization problems. This problem can be overcome by using additional devices. For truther information, please contact us directly.![]()
![]()
![]()
![]()
ADUSTING THE LEVELNESS OF THE OPTICAL ASSEMBLY
![]()
![]()
Replace the damaged protective screen, requesting the technical from the manufacturer. Do not use the luminaire without the screen. Be careful of the objects that deteriorate when exposed to UV rays.![]()
![]()
N.B.: For information on LED replacement please contact iGuzzini.
![]()
![]()
Risk Group: 1, in compliance with Standard EN 62471: 2008
N.B.: For information on LED replacement please contact iGuzzini.
Risk Group: 1, in compliance with Standard EN 62471: 2008
N.B.: For information on LED replacement please contact iGuzzini.
Risk Group: 1, in compliance with Standard EN 62471: 2008
B.:For information on LED replacement please contact iGuzzini.
Risk Group: 1, in compliance with Standard EN 62471: 2008![]()
N.B.:For information on LED replacement please contact iGuzzini.
Risk Group: 1, in compliance with Standard EN 62471: 2008
N.B.:For information on LED replacement please contact iGuzzini.
Risk Group: 1, in compliance with Standard EN 62471: 2008
N.B.:For information on LED replacement please contact iGuzzini.
Risk Group: 1, in compliance with Standard EN 62471: 2008
This product contains an energy-efficiency class light source ” D “.
Instructions on luminare service operations
- Replace the partly exhausted lamp

- Switch it off
Cut the power supply to the luminaire
- Open the fixture

- Remove the exhausted lamp
Carry it to a recycling centre
- Introduce the new lamp
Fit the new lamp into the socke
- Re-place the optic

- Perform operative test

Instructions on luminare cleaning operations
- Clean the fixture

- Switch it off
Cut the power supply to the luminaire
- Remove dust from the external optic

- Wash the external optic

- Remove the optic

- Clean the inside of the fixture

- Re-place the optic

- Perform operative test

Instructions on end-of-life and component disposal
- Switch it off
Cut the power supply to the luminaire
- Remove the lamp(s) for decommissioning

- Remove the battery for decommissioning

- Remove the fixture for decommissioning

- Send the materials to a WEEE collection centre
![]()

















