
FT-20X Fire Training
Fog Machine User Manual 
![]()

Safety Information
![]() | Please read the following safety information carefully before operating the machine. This information includes important safeguards about installation, usage, and maintenance. Pay attention to all warning labels and instructions in this manual and print them on the machine. |
If you have questions about how to operate the machine safely, please contact your local Antari dealer for help.
- Keep this device dry.
- Always connect to a grounded circuit to avoid the risk of electrocution.
- Do not operate if the power cord is damaged. If the power cord is damaged, replace it immediately with a new one of the same power rating.
- Remove the machine from the battery or power adaptor before servicing and when not in use.
- This product is for indoor use only! Do not expose to rain or moisture. If the fluid is spilled, remove the machine from the battery or power adaptor and clean it with a damp cloth. If the fluid is spilled onto electronic parts, immediately unplug the machine and contact your local Antari dealer for advice.
- No user-serviceable and modifiable parts inside. Never try to repair this product, an unauthorized technician may cause damage or malfunction to the machine.
- For adult use only. Never leave the machine running unattended.
- For persons with reduced physical, sensory or mental capabilities or lack of experience and knowledge, supervision or instruction must be given concerning the use of appliances in a safe way and understand the hazards involved.
- Install the machine in a well-ventilated area. Provide at least 50 cm of space around the machine.
- Never add flammable liquid of any kind to the machine.
- Make sure there are no flammable materials close to the machine while operating.
- Only use Antari fluid. Other fluids may lead to heater clog and malfunction.
- If the machine fails to work, unplug the machine and stop operation immediately.
Contact your local Antari dealer for advice. - Before transporting the machine, make sure the fluid tank is completely drained.
- Fog fluid may present health risks if swallowed. Do not drink fog fluid. Store it securely.
In case of eye contact or if fluid is swallowed, immediately look for medical advice.
Unpacking and Inspection
Immediately upon receiving the machine, carefully unpack the carton, check the content to ensure that all parts are present and have been received in good condition. If any parts appear damaged or mishandled from shipping, notify the shipper immediately and retain the packing material for inspection.
What is included:
1 x FT-20X Fog Machine
1 x Battery base
1 x Battery charger
1 x FLM-05P water-based liquid
1 x User Manual
1 x Flightcase
Product Dimensions

Product Overview

FT-20S Power Base (Optional)

Setting Up
Step 1: Place the machine on a flat surface and in a suitably large area with at least 50 cm of open space around the machine.
Step 2: Fill the fluid tank with Antari FLM-05W fluid.
Step 3: Charge the battery by plugging the charger adaptor into a grounded electrical outlet. Yellow light on the adaptor indicates charging, when it turns green then the charge is complete. Please note the battery requires 3 hours of charge time. A fully charged battery can run the machine for roughly 12 minutes.
![]() | Always connect the machine to a protected circuit and ensure it is properly grounded to avoid the risk of electrocution. |
Step 4: Connect the battery base or power base to the machine. Turn on the machine to start operation.
![]() | ![]() |
Step 5: To start making fog, locate the rotary knob on the back for output level adjustment, and press the button to start making fog, release to stop.
Step 6: To turn off the machine, disconnect the machine from the battery base or power base.
Operation
Control Panel Operation
The machine can be operated with the On/Off button and output level control knob located on the rear. When using On/Off Mode press and hold the button to make fog, release to stop. In Continuous Mode, press the button once to produce fog, press again to stop.

| Dip Switch 12 | Function |
| OFF | On/Off Mode |
| ON | Continuous Mode |
| Rotary Knob | Function |
| SMOKE | Turn fog on/off, adjust output volume from 0~100% |
DMX Connector Pin Assignment
The machine provides 3-pin XLR connectors for DMX connection. The diagram below indicates pin assignment information.
| Pin | Function |
| 1 | Ground |
| 2 | Data- |
| 3 | Data+ |
DMX Operation
Making the DMX Connection – Connect the machine to a DMX controller or to one of the machines in the DMX chain. The machine uses a 3-pin XLR connector for DMX connection, the connector is located on the rear of the machine.
Address Setup – Use the DIP switch located on the rear of the machine to set the DMX address. The machine occupies 1 control channel. The starting address is defined as the first channel from which the machine will respond to the controller. Always double-check to make sure there are no overlapping channels in order to control the machine correctly.
DMX Channel Function
| Channel 1 | DMX Value Range | Function |
| Fog | 0 – 4 | Fog Off |
| 5 – 255 | Output 1-100% |
Z-3 Remote Control Operation (Optional)
To o p e rate the machine by remote control, connect the remote to the microphone jack located on the rear of the machine. Use the switch to turn fog on/off, and use the rotary knob to adjust the output volume from 0~100%.
WTR-20 Wireless Operation (Optional)
Wireless remote control system WTR-20 consists of a transmitter equipped with four buttons to activate, deactivate, increase and decrease fog output and an onboard receiver attached to the rear panel of an FT-20X fog machine.
Press the [A] button to emit a fog.
Press the [B] button to stop.
Press the [C] button to increase output volume.
Press the [D] button to decrease output volume.
In an unobstructed open space, the effective distance is 50 meters, usage depending on obstacle level has an effective distance is 10-25 meters.
Registering a transmitter
Transmitters can be paired or deleted from the receiver. Each receiver can pair up to 5 transmitters. Follow the steps below to pair or delete a transmitter from a receiver.
To Pair
Step 1: Put Dip switch 11 to ON position
Step 2: LED indicator will start blinking, press and hold [A] to pair
Step 3: Once pairing complete LED indicator will be constant for 3 seconds
Step 4: Put Dip switch 11 back to OFF position to start operation.
To Delete
Step 1: Put the dip switch 10 to ON position
Step 2: LED indicator will start blinking, press and hold [A] to delete
Step 3: The deleting process will take approximately 10 seconds
Step 4: Once deleted, the LED indicator will be on for 3 seconds
Step 5: Put the dip switch 10 back to the OFF position to start operation
Transmitter battery replacement
If the effective distance seems to decrease, it is possible the battery level is low and requires replacement. In order to replace the battery, undo the three screws on the back of the transmitter to release the cover. Replace with the same type and specification of battery which is 27A 12V
Fluid
![]() | Only use Antari FLM-05P water-based liquid for the FT-20X Fire Training Fog Machine. The machine is tested and calibrated with this liquid to get the best output performance. Warranty will be voided if any other type of liquid is used. Improper use of liquid may lead to machine failure or malfunction. |
Service and Maintenance
- Do not allow the machine to become contaminated.
- Remove dust from air vents with an air compressor, vacuum, or a soft brush.
- Only use a damp cloth to clean the casing.
- Before storing run distilled water through the system to help avoid condensing the pump or heater.
- It is recommended to run the machine on a monthly basis in order to achieve the best performance and output condition.
- Excessive dust, liquid, and dirt built up will degrade performance and cause overheating.
LED Status Indicator
| Status | LED Indicator |
| Standby/Ready | Constant on |
| Producing fog | Slow flash |
| Producing fog via DMX | Alternate quick and slow flash |
| Low battery | Quick flash |
| Machine error | Fast flash |
Maintenance of Rechargeable lead-acid Battery
To give the rechargeable battery a long lifespan and best performance, please follow below instructions:
- Please fully charge the battery upon receipt of the machine.
- Every 2-4 weeks, check and ensure the battery has sufficient power to work. At least charge the battery to full every 4-6 months.
- Before storage, please have the battery fully charged.
- Please store the fully charged battery and the machine in a cool and dry area, avoiding direct sunlight.
- Please charge the battery within 24 hours if the battery is going to run out of power.
- If you have any questions on maintenance and usage, please contact your local dealer for advice.
Technical Specifications
| – Input voltage | DC 12V (Battery) AC 100-240V, 50-60Hz (Battery charger) |
| – Rated power | 600W |
| – Warm-up time | 1 second (approx.) |
| – Fluid consumption | 16 ml/min |
| – Fluid tank capacity | 0.4l (0.11gal) |
| – Compatible fluid | Antari FLM Fog Fluid |
| – Ambient temp. range | 0 °C – 40 °C (32 °F-104 °F) |
| – Control | DMX512, Manual, Wireless (Optional)Cable Remote (Optional) |
| – DMX channels | 1 channel |
| – Connection | XLR 3-pin (DMX) |
| – Optional accessories | WTR-20 Wireless RemoteZ-3 Cable Remote FT-20S Power Base |
| – Dimension | L293 W108 H238 mm (L11.54 W4.25 H9.37 inch) |
| – Weight | 8.5 kg (18.74 lbs) |
![]() | ![]() |
![]() | |
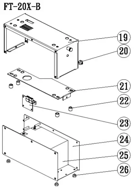
| 1. Handle & Button 2. Steel Case/Cover 3. M8 Screw 4. Cu connector 5. Tank’s Cap 6. Fan 7. EVA 8. Tank 9. Antenna Cover | 10. Rocker Switch/Power 11. Fixture Case 12. PCB+Heater 13. Steel Case/Cove 14. Main PCB 15. Pump( 12V) 16. Steel Case/Cove 17. I/O PCB 18. Switch Cover | 19. Steel Case/Cover 20. DC-IN 21. Steel Case/Cove 22. Fixture Case 23. CHARGE P. C Board 24. (D Steel Case/Cove 25. Battery( 12V) 26. Foot 27. Charger 28. Flight Case |
FT-20
| 1. Steel Case/Cover 2. Fuse 3. Power socket (Inlet) 4. Steel Case 5. Fixture Case | 6. CHARGE P. C Board 7. Steel Case 8. Power with supplier 9. Foot 10 Power Cord & Plug |
For current product information visit Antari at:www.antari.com
For information requests please contact us at:[email protected]
![]() | ![]() |
C08FT0206
www.antari.com
© 2020 Antari Lighting and Effects Ltd.



























