Antari Fog Machine User Manual
Introduction
Thank you for choosing an ANTARI Z-Series II Fog Machine. You now own a rugged and powerful state-of the-art machine. Prior to use, we suggest that you carefully read all of the instructions. By following the suggestions found in this user manual, you can look forward to the reliable and satisfactory performance of your ANTARI Fog Machine for years to come.
Please follow these operation, safety and maintenance instructions to ensure a long and safe life for your fog machine.
CAUTION
Risk of electric shock. Disconnect the appliance from the electric supply before refilling liquid, cleaning, or performing maintenance on the machine.
Danger of Electric Shock
- Don’t immerse in water. Keep this device dry.
- Household Use only. Not designed for outdoor use. For all models, use a 3-prong grounded electrical outlet only. Prior to use make sure to determine that the unit is installed at the rated voltage.
- Always unplug your ANTARI Z-Series II Fog Machine before filling its tank.
- Always keep the fog machine in upright position.
- Turn off or unplug the machine when not in use.
- This machine is not water-proof. Don’t immerse in water .If moisture, water, or fog fluid gets inside the housing, immediately unplug the unit and contact a service technician or your ANTARI dealer before using it again.
- No user serviceable parts inside. Refer to your ANTARI dealer or other qualified service personnel.
Danger of Burns
- This device is for adult use only and must be installed out of the reach of children. Never leave the unit running unattended.
- Never aim the output nozzle directly at people.
- Fog machine output is very hot. Avoid coming within 50 cm of the output nozzle during operation.
- Operate the fog machine in a well-ventilated area. Never cover the unit’s vents. In order to guarantee adequate ventilation, allow a free air space of at least 20 cm around the sides and top of the unit.
- Never aim the output nozzle at open flames.
- If the supply cord is damaged, it must be replaced by the manufacturer or its service agent or similarly qualified personnel in order to avoid a hazard.
- Not for space heating purpose.
- The output nozzle becomes very hot during operation (200°C). Keep flammable materials at least 50 cm away from the nozzle.
- Always allow your ANTARI Fog Machine to cool down before attempting to clean or service it.
Danger of Explosion
- Never add flammable liquids of any kind (such as oil, gas, perfume) to the fog liquid.
- Use only high-quality, water-based fog liquid that your dealer recommends. Other fog liquids may cause clogging or “spitting”.
- Always make sure there is sufficient liquid in the tank. Operating this unit without liquid will cause damage to the pump as well as over-heating of the heater.
- If your ANTARI Z-800II, Z-1000II and Z-1020 Fog Machine fails to work properly, discontinue use immediately. Drain all fog liquid from the tank, pack the unit securely (preferably in the original packing material), and return it to your ANTARI dealer for service.
- Always drain tank before mailing or transporting this unit.
- Never drink fog liquid. If it is ingested, call a doctor immediately. If fog liquid comes in contact with skin or eyes, rinse thoroughly with water.
Note: Pay attention to all warning labels and instructions printed on the exterior of your ANTARI Fog Machine.
Unpacking & Inspection
Open the shipping carton and verify that all equipment necessary to operate the system has arrived intact.
The shipping carton should contain the following items:
- One unit of Z-Series II Fog Machine
- Power cord
- Z-10 Remote Control
- User Manual
- Mounting brackets with washers/screws (for Z-1000II)
If any equipment is missing contact your ANTARI dealer immediately.
Before beginning your initial setup on ANTARI Z-800II, Z-1000II or Z-1020 Fog Machine, make sure that there is no evident damage caused by transportation. In the event that the unit’s housing or cable is damaged, do
not plug it in and do not attempt to use it until after contacting your ANTARI dealer for assistance.
Setup
- Remove all packing materials from shipping box. Check that all foam and plastic padding is removed, especially in the nozzle area.
- Place the fog machine on a flat surface and remove the fog liquid tank cap.
- Fill with high-quality, water-based fog liquid recommended by ANTARI dealer. Any other types of fluid can damage the unit resulting in spitting and serious clogging problem. When filled, place the cap back on the liquid tank. Be careful not to exceed the maximum fluid level. DO NOT OVERFILL.
- Firmly attach the remote control cable to the proper input on the back of the machine.
Operation
- Add fluid carefully to the liquid tank. Do not overfill the tank.
- Plug the power cord into a grounded electrical outlet. Turn the power switch to “ON” on the back of the machine. The unit will take a couple of minutes to warm up the heater. During this time the machine cannot generate fog. When the remote control is attached, the red lights (on Z-800II handle) and the green light (on the remote) will flash and stay ON when the warm-up time is complete.
- To emit fog press the button on the remote (if it is connected) and on the handle (for Z-800II) for the desired length of time.
- For further information on operating your ANTARI Z-800II, Z-1000II and Z-1020 Fog Machine, see the section titled “Remote Control Operation”.
Important: Always monitor tank fluid level as you are fogging. Running a fog machine with no fluid can permanently damage the unit.
Z-1000II: Your model includes a mounting bracket designed for overhead installation; it may be installed at floor level or suspended overhead. If the unit is to be mounted using the bracket, it is important that the fog does not shoot directly at any one’s face. Whatever installation method you choose, do not allow the unit to have more than a 25 degree angle of inclination.
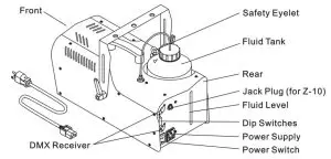
Z-1000II Description


Note: A fluid level sensor is installed on the unit. The machine will stop to fog if the fluid is lower than usable level.
If you experience low output, pump noise or no output at all, unplug immediately. Check fluid level, the external fuse, remote control connection and power from the wall. If all of the above appears to be O.K., plug the unit again. If fog does not come out after holding the remote button down for 30 seconds, check the hose attached to the tank to make sure there is fluid going through the hose. If you are unable to determine the cause of the problem, do not simply continue pushing the remote button, as this may damage the unit. Return the machine to your ANTARI dealer.
Technical Specifications
Z-800II Fog Machine | |
| Input voltage | US model : AC 100-120V, 50 / 60Hz 6.7A EU model : AC 220-240V, 50 / 60Hz 3.5A |
| Rated power | 800W |
| Warm-up time | 2 minutes (approx.) |
| Fluid consumption | 13 ml/min |
| Fluid tank capacity | 0.8l (0.21gal) |
| Compatible fluid | Antari FLG Heavy Fog Fluid Antari FLR Light Fog Fluid |
| Operating time | 60 mins at max. output |
| Ambient temp. range | 0 °C – 40 °C (32 °F-104 °F) |
| Output | 3,000 ft3 /min (85 m3 /min) |
| Control | Manual Timer (Optional Wireless (Optional) |
| Optional accessories | Z-40 Cable Timer Remote Z-50 Wireless Remote |
| Dimension | L315 W128 H218 mm (L12.40 W5.04 H8.58 inch) |
| Weigh | 3.5 kg (7.72 lbs) |
Z-1000II Fog Machine | |
| Input voltage | US model : AC100-120V, 50 / 60Hz 9A EU model : AC 220-240V, 50 / 60Hz 4.5A |
| Rated power | 1000W |
| Warm-up time | 6 minutes (approx.) |
| Fluid consumption | 56 ml/min |
| Fluid tank capacity | 1.7l (0.45gal) |
| Compatible fluid | Antari FLG Heavy Fog Fluid Antari FLR Light Fog Fluid |
| Ambient temp. range | 0 °C – 40 °C (32 °F-104 °F) |
| Output | 12,000 ft3 /min (340 m3 /min) |
| Control | DMX512, Manual Timer (Optional) |
| DMX channels | 1 channel |
| Optional accessories | Z-40 Cable Timer Remote Z-50 Wireless Remote |
| Dimension | L433 W198 H214 mm (L17.05 W7.80 H8.43 inch) |
| Weight | 6.6 kg (14.55 lbs) |
Z-1020 Two-Way Fog Machine | |
| Input voltage | US model : AC 100-120V, 50 / 60Hz 9A EU model : AC 220-240V, 50 / 60Hz 4.5A |
| Rated power | 1000W |
| Warm-up time | 13 minutes (approx.) |
| Fluid consumption | 90 ml/min |
| Fluid tank capacity | 2.4l (0.63gal) |
| Compatible fluid | Antari FLC Super Light Fog Fluid Antari FLG Heavy Fog Fluid Antari FLR Light Fog Fluid |
| Ambient temp. range | 0 °C – 40 °C (32 °F-104 °F |
| Output | 5 meters height |
| Control | 5 meters height DMX512, Manual Wireless (Optional) |
| DMX channel | 1 channel |
| Connection | IEC (Power) XLR 3-pin (DMX) |
| Optional accessories | Z-40 Cable Timer Remote Z-50 Wireless Remote FX-4 Flightcase |
| Dimension | L408 W295 H199 mm (L16.06 W11.61 H7.83 inch) |
| Weight | 9.8 kg (21.61 lbs) |
Remote Control Operation
- Z-10: 10 meter wired remote controller with a 63 mm jack plug of ANTARI Fog Machine models Z-800II, Z-1000II and Z-1020. The red lamp indicates that the unit is receiving power. When the fog machine has reached operating temperature the green light on this remote control will light up, indicating that the operator may begin fog emission by pressing the red button. The green light flashes during fog machine warm-up and re-heating cycles (approx. 1-2 minutes), and stays ON when the machine becomes operational. The Z-10 features the “toggle switch’’ function: press once for continuous “ON”, press again to release continuous “ON” function.
- Z-40: 10 meter wired remote controller with a 63 mm jack plug for ANTARI Fog Machine models Z-800II, Z-1000II and Z-1020. Its two knobs allow the operator to customize the fog machine functions by adjusting output duration and interval. Press the yellow TIMER-button to activate the timer function. Adjust the interval between each fog emission (within the range of 10 second to 250 seconds) by means of the INTERVAL control knob. Adjust the duration of each fog emission (within the range of 10 to 120 seconds) by means of the DURATION control knob. When pressed, the green FOG button overrides all other control functions and activates maximum output. Press the red POWER ON/OFF button for continuous output.
- Z-50: Wireless remote controller with a 63 mm jack plug for ANTARI Fog Machine models Z-800II, Z1000II and Z-1020. A remote operation is possible up to a distance of 50 meters. Keep the red button pressed for fogging.
Z-10, Z-40, Z-50 Remote Controller
Performance Note
- All fog machines develop condensation around the output nozzle. Because this may result in some moisture accumulation on the surface below the output nozzle, consider this condensation when installingyour unit.
- All fog machines may sputter small amounts of fog occasionally during operation and for a minute or so after being turned off.
- All fog machines have a recycling period after long bursts when the machine will shut itself down for a short period in order to heat up again. During this time no fog can be produced.
Maintenance
Do not allow the fog liquid to become contaminated. Always place the caps back on the fog liquid container and the fog machine liquid tank immediately after filling. After every 40 hours of continuous operation, it is recommended to run a cleaning solution composed of 80% distilled water and 20% ACETIC ACID through the system to prevent the accumulation of particulate matter in the heating element.
The recommended cleaning regimen is as follows:
- Empty all fog liquid from the machine. Add cleaning solution to the tank. Plug the unit in and begin warm up.
- Run the unit in a well-ventilated area until the tank is almost empty. Do not allow the pump to run dry.
- Cleaning is now complete. Refill with fog liquid. Run the machine briefly to clear any cleaning solution from the pump and heater.
- Do not operate the fog machine without liquid at any time.
Note: All fog machines are prone to clogging due to the thick consistency of fog liquid and the high temperature at which it vaporizes. However, a properly maintained fog machine should provide years of reliable use.
Clean with a dry cloth only. Store dry.
Cleaning your fog machine regularly will help reduce costly replacement and repair charges.
Storage
- When storing run distilled water (not tap water) through the system as described in the cleaning regimen above. This will help avoid any particles condensing inside the pump or heater.
- It is strongly recommended to test-run the machine on a monthly basis in order to achieve its best fogging condition. A test-run consists of warming up the machine followed by a few minutes of emission. After that, follow Step 1 under Storage.
Please read and save these instructions.
DMX Connector Pin Assignment
The machine provides a 3 or 5 pin XLR connector for DMX connection. The diagram below indicates pin assignment information.

| Pin | Function |
| 1 | Ground |
| 2 | Data- |
| 3 | Data+ |
| 4 | N/A |
| 5 | N/A |
Antari Z-1000II & Z-1020 on-board DMX Fog Machine Settings
DMX Setting for Z-1000II and Z-1020 fog machines with on board DMX
Channel A
0 – 128 = OFF
129 – 255 = Maximum Volume Output (100%)
The Z-1000II and Z-1020 Fog Machine have an on-board DMX control except on Z-800II. These two models.
use 1 channel to control on/off operation. Each channel has a value range of 0 to 255. On/Off function can be programmed using the DMX controller or the DMX control software being used by lighting and effects operator.
If Channel A has a value from 0 to 128, the unit is OFF.
Between the values 129 to 255 the volume of fog output is is at maximum.
Note: In the example above, if the machine was assigned the DMX address of 130, Channel A would correspond to DMX address 130.
In general, Antari fog machines with onboard DMX conform to the following performance specifications:
- Average Operating temperature = 250ºC
- Fogger can maintain maximum output for 30 seconds or more
Addressing
Each device occupies 1 channel. To ensure that the control signals are properly directed to each device, they require adressing. This is to be adjusted for every single device by changing the DIP-switches as set out in the table below.
The starting address is defined as the first channel from which the device will respond to the controller.
Please make sure that you do not have any overlapping channels in order to control each device correctly and independently from any other fixture on the DMX data link. If two, three or more devices are addressed similarly, they will work similarly.
Occupation of the DIP-switches:


















