FAMILY-OWNED
Assembly instructions
Off chair series 045
WARNING: FAILURE TO COMPLY WITH OR OBSERVE ALL ASSEMBLY, SAFETY, AND OPERATION INSTRUCTIONS AND WARNINGS REGARDING THE USE OF THIS PRODUCT MAY RESULT IN SERIOUS BODILY INJURY.
Important information
Read the entire instruction manual before you can start installation and assembly.
This product is not intended for use by young children without supervision.
This product is intended for indoor use only. Using this product outdoors could lead to product failure and personal injury.
Important: Ensure that you have received all parts according to the component checklist prior to installation. If any parts are missing or faulty, telephone your local distributors for a replacement.
Do not stand on this chair, do not use this chair as a step ladder.
Only use this product for placing one person at a time.
Do not use this chair unless all bolts, screws, and knobs are properly tightened. Failure to heed these warnings could result in serious injury.
COMPONENTS
Assemble gas spring & wheels
- Push the wheels into the base
- Slide the gas spring into the base as shown below

Assemble the back
- Place the back on top of the seat as shown and screw them together

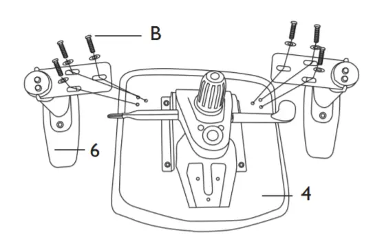
Assemble armrests
- Screw on the armrests as shown below

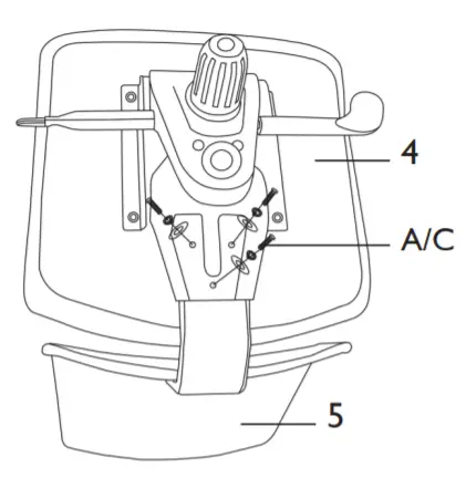
Secure the seat
- Turn the seat over and push the opening in the gas spring. The seat should not be loose
- The chair is now ready for use



















