POTTER BVS Ball Valve with Supervisory Switch Owner’s Manual
Specifications
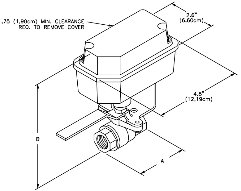
Dimensions:
- BVS-1/2″ – 4.8″ L x 2.6″ W x 5.5″ H
- 12,0cm L x 6,6cm W x 14,0cm H
- BVS-3/4″ – 4.8″ L x 2.6″ W x 6.0″ H
- 12,0cm L x 6,6cm W x 15,2cm H
- BVS-1″ – 4.8″ L x 2.6″ W x 5.5″ H
- 12,0cm L x 6,6cm W x 15,9cm H
Weight
- BVS-1/2″ – 2.25 lbs. (1,0 kg.)
- BVS-3/4″ – 2.75 lbs. (1,26 kg.)
- BVS-1″ – 3.50 lbs. (1,6 kg.)
Enclosure:
- Die-cast zinc, red enamel finish
- (All parts plated to resist corrosion)
Conduit Entrance:
- One opening for non-threaded
- 1/2″ conduit provided
Contact Ratings:
- Two sets of SPDT (Form C)
- 15.0 Amps at 125/250VAC
- 2.50 Amps at 30VDC resistive
Environmental Specifications:
- Temperature range: 40°F/140°F (4,5°C/60°C)
- NEMA 4 rated enclosure – when used with proper conduit fittings
- Not for use in hazardous locations
Maximum Pressure:
- 175 PSI (12,1 BAR)
Pipe Connection:
- 1/2″, 3/4″ and 1″ Female NPT
Service Use:
- BVS-1/2″ and BVS-3/4″
- Automatic Sprinkler: NFPA-13
- One or two family dwelling: NFPA-13D
- Residential occupancy up to four stories: NFPA-13R
- National Fire Alarm Code: NFPA-72
- BVS-1″
- One or two family dwelling: NFPA-13D
- National Fire Alarm Code: NFPA-72
- Cover Tamper: Tamper resistant screws standard, on models w/out TSK.
- Switch Contacts: SPDT (Form C)
- Contact Rating: 3 Amps at 250VAC
- 3 Amps at 250VAC: 8″ No. 22 AWG Wire Leads Stock No. 0090140
GENERAL INFORMATION
The BVS utilizes a ball valve in conjunction with a switch assembly. The switch assembly is enclosed in a tamper resistant NEMA 4 enclosure. The switch assembly monitors the fully open position of the valve. Two sets of SPDT contacts are provided which will operate when the valve position is altered from an open state.
On models with out the Tamper Switch Kit installed the cover is held in place by two tamper resistant screws that require a special tool to remove. The tool is furnished with each device and should be left with the building owner or responsible party. Replacement or additional cover screws and hex keys are available.
INSTALLATION
The BVS-1/2″ and 3/4″ are intended to be installed in the alarm trim line of a wet or dry fire sprinkler system. (They serve as electrically supervised shut-off valves to allow for = maintenance or service on alarm attachments, without closing the sprinkler supply valve.)
The BVS-1″ is intended to be used as the main control valve in NFPA 13D sprinkler systems, or in any other applications where a 1/4 turn ball valve is acceptable.
For retrofit installations, it is necessary to remove the existing shut-off valve and replace it with the BVS.
SWITCH TERMINAL CONNECTIONS CLAMPING PLATE TERMINAL
CAUTION:
An uninsulated section of a single conductor should not be looped around the terminal and serve as two separate connections. The wire must be severed, thereby providing supervision of the connection in the event that the wire becomes dislodged from under the terminal.
| BVS SIZE | A | B |
| 1/2″ | 2,44m (6.,2cm) | 5,5″ (14cm) |
| 3/4″ | 2,95″ (7,5cm) | 6,0″ (15,2cm) |
| 1″ | 3,34″ (8,5cm) | 6,26″ (15,9cm) |

TYPICAL SPRINKLER APPLICATIONS: BVS-1/2″ and BVS-3/4″
Wet system with Excess Pressure
Wet system without Excess Pressure
Dry System
TYPICAL ELECTRICAL CONNECTIONS
Local Circuit Transformer or Battery Power
Style D (class A) Supervised Loop
Style B ( class B) supervised circuit
TESTING
The BVS and its associated protective monitoring system should be inspected and tested in accordance with the applicable NFPA codes and standards and/or the authority having jurisdiction (manufacturer recommends quarterly or more frequently).
Costumer Support
Potter Electric Signal Company
2081 Craig Road, St. Louis, MO, 63146-4161
Phone: 800-325-3936/Canada 888-882-1833
www.pottersignal.com




















