POTTER BVL Lever Type Bleeder Valve
Specification
Valve Body: Bronze
Handle: Zinc plated steel
Maximum Pressure: 300 PSI (20.7BAR)
Connections: 1/2″ NPT
Exhaust Orifice: .125″ (3mm)
General Information
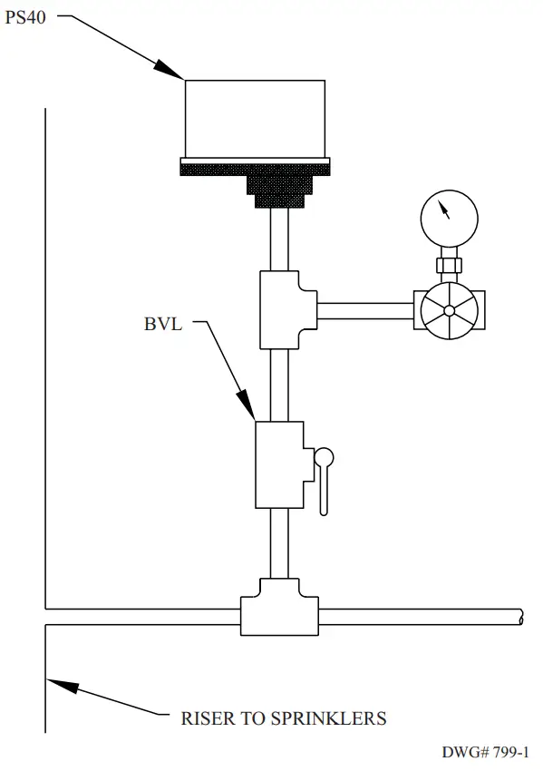
The Model BVL, lever type bleeder valve, is for use as a test valve for pressure operated devices on wet pipe sprinkler systems that have excess pressure, or dry pipe sprinkler systems.
The BVL should be installed in-line with the pressure device. It provides a convenient means for removal or testing the pressure actuated device without affecting the pressure in the system. Closing the valve (moving the valve handle perpendicular to the 1/2″ pipeline) shuts off the water or air from the supply and opens a small orifice (pin-hole) to exhaust the pressure between the valve and the pressure device. This should provide a low pressure actuation of the pressure device, testing its operation.
Installation
The BVL should be installed in-line to the alarm or supervisory device with the “PD” (Potter Device) stamp, or with the arrow pointing toward the alarm or supervisory device that is to be tested.
CAUTION The BVL should be installed so the exhaust orifice is pointed in a safe direction.




















