GENERAL PUMP DHRA50150 Industrial Hose Reels

FEATURES / BENEFITS
- Friction Brake
- Direct hand-crank rewind with locking pin
- Solid steel construction
- Durable powdercoated finish
- Full flow swivel stainless swivel
SPECIFICATIONS
| PART NUMBER | DHRA50150 | DHRA50300 | DHRA50450 |
| 3/8″ Hose Capacity | 150 ft. | 300 ft. | 450 ft. |
| 5/8″ Garden Hose Cap. | 125 ft. | 225 ft. | 325 ft. |
| 3/4″ Garden Hose Cap. | 100 ft. | 175 ft. | 250 ft. |
| Swivel Pressure Rating | 5,000 PSI | ||
| Inlet | 1/2″ NPT-F | ||
| Outlet | 1/2″ NPT-F | ||
| Max. Temp | 250º F | ||
DIMENSIONS 
| Dimensions inches/mm | |||||||
| A | B | C | D | E | F | G | |
| DHRA50150 | 17.7/450 | 15.2/387 | 18.6/473.6 | 12.4/315 | 10.4/264 | 7.7/196 | 22.0/558 |
| DHRA50300 | 17,7/450 | 15.2/387 | 18.6/473.6 | 17.5/445 | 15.5/394 | 12.8/326 | 27.0/688 |
| DHRA50450 | 17.7/450 | 15.2/387 | 18.6473.6 | 23.0/585 | 21.2/539 | 18.3466 | 32.6/829 |
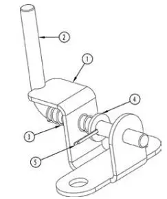
PARTS LIST
| Item | Part No. | Description | QTY |
| 1 | 2103282 | Assy, Hub & Flange, DHRA50450 | 1 |
| 2103242 | Assy, Hub & Flange, DHRA50300 | ||
| 2103247 | Assy, Hub & Flange, DHRA50150 | ||
| 2 | 2103283 | Frame, Hose Reel, DHRA50450 | 1 |
| 2103243 | Frame, Hose Reel, DHRA50300 | ||
| 2103248 | Frame, Hose Reel, DHRA50150 | ||
| 3 | 2640025 | Pillow Block | 2 |
| 4 | 2103244 | Assy, Crank | 1 |
| 5 | 2103245 | Assy, Lock Pin | 1 |
| 6 | 2540087 | Bracket, Brake | 1 |
| 7 | 2660268 | Brake | 1 |
| 8 | 2200103 | Bolt, M8 | 1 |
| 9 | 2203413 | Washer, Flat, M10 | 12 |
| 10 | 2660405 | Knob, Brake | 1 |
| 11 | 2203017 | Nut, M10, Nylok, SST | 6 |
| 12 | 2200013 | Washer, M8, SS | 1 |
| 13 | DSW9012SS | Swivel 1/2″ NPT-F Ball Bearing | 1 |
| 14 | 2530112 | Fitting, 1/2NPT-MX3/8NPT-F | 2 |
| 15 | 2200104 | Bolt, M10 | 6 |
| 16 | D10032K | Fitting, GH-F 1/2” NPT-M, Filter & Spring | 1 |

| Lock Pin Repair Kit 2103245 | |||
| Item | Part No. | Description | QTY. |
| 1 | 2540085 | Bracket, Lock | 1 |
| 2 | 2540086 | Pin, Lock | 1 |
| 3 | 2720025 | Spring, Lock Pin | 1 |
| 4 | 2200013 | Washer, M8, SS | 1 |
| 5 | 2202033 | Pin, Cotter, 2×20 | 1 |

| Brake Repair Kit 2103139 | |||
| Item | Part No. | Description | QTY. |
| 1 | 2660268 | Brake | 1 |
| 2 | 2200103 | Bolt, M8 | 1 |
| 3 | 2660405 | Knob, Brake | 1 |
| 4 | 2200013 | Washer, M8, SS | 1 |

ASSEMBLY / OPERATING INSTRUCTIONS
- Connect the handle to either end of the axle which doubles as a fluid path, use a suitable thread sealant and tighten accordingly.
- Connect the swivel on the opposite end of the axle as the handle, use a suitable thread sealant and tighten accordingly.
See parts list image for orientation of swivel* - Attach outlet hose to the outlet fitting located in the hub, use a suitable thread sealant and tighten accordingly.
Attach supply hose to the hose reel swivel, use a suitable thread sealant and tighten accordingly. - Use 1/2” or 13 mm bolts when securing the hose reel to ceiling or wall.
- The hose reel is ready for operation.
NOTE: THREAD SEALANT NOT INCLUDED
WARNING: Exposure of skin directly to pressurized air or fluids could result in severe bodily injury!
Warning. Only trained and qualified personnel should install or replace the device.
Warning. De-pressurize prior to servicing.
AVAILABLE A-FRAME ACCESSORIES
Hose Reel Hose Guide
- DHRA50150/SS use part #2100462
- DHRA50300/SS use part #2100463
- DHRA50450 use part #2100503
- Protects hose when pulling out at an angle
- 4-way pinch-proof stainless steel guides

Hose Reel Stacking Kit
- Part #2100437
- Fits all DHRA hose reels
- Stacks up to 4 hose reels high
- Powder-coated steel construction

Electric Hose Reel Motor Kit
- Part #2103410
- Fits all DHRA hose reels
- Allows for effortless rewinding of hose
- Free spin allows for easy pulling out of hose
- Stainless steel hardware

Hose Reel Cart
- Part #2100465
- Fits all DHRA hose reels
- Easy storage and movement
- Powder-coated steel frame
- Solid polyurethane wheels

12 Volt DC Variable Speed Controller Rewind Kit
- Part #DMC12V
- Fits all DHRA hose reels
- 30 amp auto-reset circuit breaker
- Variable speed knob with built-in on/off function
- Reversible powder-coated mounting plate for left or right orientation
- Sealed housing




















