
![]()

578BTF
Operator’s manual
Introduction
Product description
This product is a backpack blower with a fuel engine.
We have a policy of continuous product development and therefore reserve the right to modify the design and appearance of products without prior notice.
Intended use
Use the product to blow leaves and other unwanted material from areas such as lawns, pathways and asphalt roads.
Product overview

| 1. Frame 2. Harness 3. Engine cover 4. Fan cover 5. Air intake screen 6. Fan 7. Air filter 8. Starter rope handle 9. Fuel tank 10. Pad 11. Spark plug 12. Vibration damping system 13. Choke control 14. Control handle | 15. Stop switch with throttle control 16. Throttle trigger 17. Pipe angle 18. Clamp 19. Flexible hose 20. Control pipe 21. Cable clamp 22. Intermediate pipe 23. Blower nozzle 24. Pipe knob 25. Metal pipe 26. Operator’s manual 27. Combination wrench 28. Idle speed screw |
Symbols on the product
| WARNING! This product is dangerous. Injury or death can occur to the operator or bystanders if the product is not used carefully and correctly. To prevent injury to the operator or bystanders, read and obey all safety instructions in the operator’s manual. | |
| Read the operator’s manual carefully and make sure that you understand the instructions before use. | |
| Use approved hearing protection and approved eye protection. If the environment contains dust, use a breathing mask. | |
| Use approved protective gloves. | |
| Mixture of gasoline and two-stroke oil. | |
| Air purge bulb. | |
| Keep all parts of your body away from hot surfaces. | |
| Choke, open position. | |
| Choke, close position. | |
| Look out for thrown objects. Thrown objects can cause serious injury. Use personal protective equipment. | |
| Keep a safety distance at a minimum of 15 m to persons or animals. | |
| yyyywwxxxxx | The rating plate or the laser printing shows the serial number. yyyy is the production year and ww is the production week. |
Note: Other symbols/decals on the product refer to certification requirements for other commercial areas.
Product liability
As referred to in the product liability laws, we are not liable for damages that our product causes if:
- the product is incorrectly repaired.
- the product is repaired with parts that are not from the manufacturer or not approved by the manufacturer.
- the product has an accessory that is not from the manufacturer or not approved by the manufacturer.
- the product is not repaired at an approved service center or by an approved authority.
Manufacturer
Husqvarna AB
SE-561 82, Husqvarna, Sweden
Safety
Safety definitions
Warnings, cautions and notes are used to point out specially important parts of the manual.
WARNING: Used if there is a risk of injury or death for the operator or bystanders if the instructions in the manual are not obeyed.
CAUTION: Used if there is a risk of damage to the product, other materials or the adjacent area if the instructions in the manual are not obeyed.
Note: Used to give more information that is necessary in a given situation.
General safety instructions
WARNING: Read the warning instructions that follow before you use the product.
- Under no circumstances may the design of the product be modified without the permission of the manufacturer. Always use genuine accessories. Non-authorized modifications and/or accessories can result in serious personal injury or the death of the operator or others.
- Never use a product that has been modified in any way from its original specification.
- Never use a product that is faulty. Carry out the safety checks, maintenance and service instructions described in this manual. Some maintenance and service measures must be carried out by trained and qualified specialists. Refer to Maintenance schedule on page 12 for instructions.
- All servicing and repair work on the product requires special training. This is especially true of the safety equipment. Never use a product with faulty safety equipment. If your product fails any of the checks described in this operator’s manual you must contact your service agent. The safety equipment of the product must be maintained as described in this operator’s manual. When you buy any of our products we guarantee the availability of professional repairs and service. If the retailer who sells your product is not a servicing dealer, ask him for the address of your nearest service agent.
Safety instructions for operation
WARNING: Read the warning instructions that follow before you use the product.
- This product is a dangerous tool if used carelessly or incorrectly and can cause serious, even fatal injuries. It is extremely important that you read and understand the contents of this operator’s manual.
- Long-term exposure to noise can result in permanent hearing impairment. Always use approved hearing protection.
- Do an overall inspection of the machine before use. Refer to Maintenance schedule on page 12.
- Never use the machine if you are tired, if you have drunk alcohol, or if you are taking medication that could affect your vision, your judgement or your coordination.
- Wear personal protective equipment. Refer to Personal protective equipment on page 5.
- All covers and guards must be fitted before starting. Ensure that the spark plug cap and ignition lead are undamaged to avoid the risk of electric shock.
- The blower operator must make sure that no bystanders or animals come nearer than 15 m. Whenever several operators are working in the same work area, they should maintain a safe distance of at least 15 m from one another.
- Never allow children to operate the machine. Never allow anyone else to use the machine without first ensuring that they have read and understood the contents of the operator’s manual.
- Always check for any objects that may block the air intake screen before beginning work.
- Never remove the air intake screen.
- In case of emergency, release yourself from the machine by opening the waist and chest belt and let the machine fall backwards.
- Always contact local authorities and make sure you are following applicable directives.
- Keep all parts of your body away from hot surfaces.
- Never start the machine indoors. Exhaust fumes can be dangerous if inhaled.
- Observe and be aware of the surroundings. Ensure that no people or animals can come into contact with the product. If anyone approaches your work area, set the throttle control to the lowest throttle until the person is at a safe distance. Direct the product away from people, animals, play areas, open windows and cars etc. No unauthorised persons or animals may be present in the working area, which is 15 metres.
- Overexposure to vibration can lead to circulatory damage or nerve damage in people who have impaired circulation. Contact your doctor if you experience symptoms of overexposure to vibration. Such symptoms include numbness, loss of feeling, tingling, pricking, pain, loss of strength, changes in skin colour or condition. These symptoms normally appear in the fingers, hands or wrists. The risk increases at low temperatures.
- Engine exhaust fumes contain carbon monoxide, which can cause carbon monoxide poisoning. For this reason you should not start or run the product indoors, or anywhere that is poorly ventilated. The exhaust fumes from the engine are hot and may contain sparks which can start a fire. Never start the product indoors or near combustible material.
- Allow the engine to cool before refueling.
- The powerful currents of air can move objects at such a speed that they can bounce back and cause serious eye injuries.

- Do not direct the air jet towards people or animals.
- Do not use the machine in bad weather, such as dense fog, heavy rain, strong wind, intense cold, etc. Working in bad weather is tiring and can lead to dangerous conditions, e.g. slippery surfaces.
- Minimize the time of operation by lightly wetting dusty areas or using spray equipment.
- Make sure you can move and stand safely. Check the area around you for possible obstacles (roots, rocks, branches, ditches, etc.) in case you have to move suddenly. Take great care when working on sloping ground.

- Never put the product down with the engine running unless you have it in clear sight.
- Never operate the product from ladders or high places (such as roofs), it is prohibited and could result in severe injury.

- Do not use the product unless you are able to call for help in the event of an accident.
- Watch out for thrown objects. Always wear eye protection. Stones, rubbish, etc. can be thrown up into the eyes causing blindness or serious injury. Keep unauthorised persons at a distance. Children, animals, onlookers and helpers should be kept outside the safety zone of 15 m. Stop the machine immediately if anyone approaches.
- Do not operate the product if the exhaust gas outlet on the engine cover is covered by a wall and/or some other obstacles. The product could get damaged. Make sure that the distance is 50 cm or more from the obstacles during operation.
- Always stop the engine before cleaning.
- Always move the product away from the refueling area and source before starting. Place the product on a flat surface.
- The product may only be started in its complete design. If the product is started without all the guards fitted there is a risk of personal injuries.
Personal protective equipment
WARNING: Read the warning instructions that follow before you use the product.
- Always use approved personal protective equipment when you use the product. Personal protective equipment cannot fully prevent injury but it decreases the degree of injury if an accident does occur. Let your dealer help you select the right equipment.
- Use approved hearing protection.

- Use approved eye protection. If you use a visor, you must also use approved protective goggles. Approved protective goggles must agree with the ANSI Z87.1 standard in the USA or EN 166 in EU countries.

- Use gloves when it is necessary, for example, when you examine or clean the product.

- Use protective boots, or shoes, with non-slip soles.

- Use clothing made of a strong fabric. Always use heavy, long pants and long sleeves. Do not use loose clothing that can catch on twigs and branches.
Do not wear jewelry, short pants, open shoes or go with bare feet. Put your hair up safely above your shoulders. - Use breathing protection when there is a risk of dust.

- Keep first aid equipment close at hand.

Safety devices on the product
WARNING: Read the warning instructions that follow before you use the product.
In this section the product’s safety features, its purpose and how checks and maintenance should be carried out to ensure that it operates correctly. See instructions under the heading Product overview on page 2 to find where these parts are located on your product. The life span of the product can be reduced and the risk of accidents can increase if product maintenance is not carried out correctly and if service and/or repairs are not carried out professionally. If you need further information please contact your nearest servicing dealer.
WARNING: Never use a product with defective safety components. The product’s safety equipment must be inspected and maintained as described in this section.
If your product fails any of these checks, contact your service agent to get it repaired.
CAUTION: All servicing and repair work on the machine requires special training.
This is especially true of the machine′s safety equipment. If your machine fails any of the checks described below you must contact your service agent. When you buy any of our products we guarantee the availability of professional repairs and service. If the retailer who sells your machine is not a servicing dealer, ask him for the address of your nearest service
agent.
To do a check of the muffler
WARNING: Do not use a product with a defective muffler.
WARNING: The muffler becomes very hot during and after operation, also at idle speed. Use protective gloves to prevent burn injuries.
The muffler keeps noise levels to a minimum and sends exhaust fumes away from the operator.
- Stop the engine.
- Do a visual check for damage and deformation.
Note: The inner surfaces of the muffler contain chemicals that can cause cancer. Be careful not to touch these elements if the muffler is damaged. - Make sure that the muffler is correctly attached to the product. Tighten the screws to 8-10 Nm.

- Examine the spark arrester screen, do a visual check.
a) Replace the spark arrester screen if it is damaged.
b) Clean the spark arrester screen if it is blocked. Refer to To do maintenance of the muffler on page 13 for more information.
Vibration damping system
The product has a vibration damping system that decreases vibrations and makes operation easier.
Examine the vibration damping system and make sure that it is not damaged. Make sure that the vibration damping system is attached correctly.
Air filter
Do not use the product without an air filter or if the air filter is damaged or has a deformation.
Stop switch
Use the stop switch to stop the engine. Make sure that the engine stops fully.

Harness safety
Always use the harness when you operate the product.
If you do not use the harness, you cannot operate the product safely. This can result in injury to you or other persons. Make sure that the harness are attached and correctly adjusted.
Fuel safety
WARNING: Read the warning instructions that follow before you use the product.
- Do not mix the fuel indoor or near a heat source.
- Do not start the product if there is fuel or engine oil on the product. Remove the unwanted fuel/oil and let the product dry. Remove unwanted fuel from the product.
- If you spill fuel on your clothing, change clothing immediately.
- Do not get fuel on your body, it can cause injury. If you get fuel on your body, use a soap and water to remove the fuel.
- Do not start the engine if you spill oil or fuel on the product or on your body.
- Do not start the product if the engine has a leak. Examine the engine for leaks regularly.
- Be careful with fuel. Fuel is flammable and the fumes are explosive and can cause injuries or death.
- Do not breathe in the fuel fumes, it can cause injury. Make sure that there is sufficient airflow.
- Do not smoke near the fuel or the engine.
- Do not put warm objects near the fuel or the engine.
- Do not add the fuel when the engine is on.
- Make sure that the engine is cool before you refuel.
- Before you refuel, open the fuel tank cap slowly and release the pressure carefully.
- Make sure there are sufficient airflow when refueling and mixing fuel (petrol and two-stroke oil) or draining the fuel tank.
- Fuel and fuel vapor are highly flammable and can cause serious injury when inhaled or allowed to come into contact with the skin. For this reason, observe caution when handling fuel and make sure there is sufficient airflow.
- Tighten the fuel tank cap carefully or a fire can occur.
- Move the product at a minimum of 3 m (10 ft) from the position where you filled the tank before a start.
- Do not put too much fuel in the fuel tank.
- Make sure that a leak cannot occur when you move the product or fuel container.
- Do not put the product or a fuel container where there is an open flame, spark or pilot light. Make sure that the storage area does not contain an open flame.
- Only use approved containers when you move the fuel or put the fuel into storage.
- Empty the fuel tank before long-term storage. Obey the local law on where to dispose fuel.
- Clean the product before long-term storage.
- Remove the spark plug cap before you put the product into storage to make sure that the engine does not start accidentally.
Safety instructions for maintenance
WARNING: Read the warning instructions that follow before you use the product.
- Your warranty may not cover damage or liability caused by the use of non-authorized accessories or replacement parts.
- The inside of the muffler contains chemicals that may be carcinogenic. Avoid contact with these elements in the event of a damaged muffler.
- Stop the engine before assembling or dismantling accessories or other parts.
- Check that the thick round pin in the clamp is inserted in the strap. If it is inserted incorrectly it may lead to personal injury.
Assembly
Introduction
WARNING: Read and understand the safety chapter before you assemble the product.
To assemble the tube and handle on the product

- Attach the control handle (H) to the control pipe (B) and tighten the two screws (I).
- Use the clamps (C) to attach the flexible hose (A) to the control pipe (B) and to the pipe angle (J).
- Attach the intermediate pipe (D) to the control pipe (B). Make sure that the knob (K) on the control pipe (B) faces up and goes into the guide track of the intermediate pipe (D). Turn the intermediate pipe fully to lock the control pipe and the intermediate pipe.

- Connect the end pipe assy (blower nozzle and metal pipe) (G) with the intermediate pipe (D). Make sure that the arrow marks (E) on the end pipe assy and the intermediate pipe align. Turn the end pipe assy fully and make sure that the line (L) aligns with the arrow mark(E) on the intermediate pipe. Tighten the pipe knob (F).

- Loosen the clamp (C) and rotate the control pipe (B) to adjust the position of the pipe knob (F) to the upside. Tighten the clamp (C).

- To adjust the position of the control handle (H), loosen the knob bolt (M) by hand. Adjust the position and tighten the knob bolt.

- Use the cable clamps (N) to attach the cable (O) to the flexible hose (A).

To adjust the harness
A correctly adjusted harness and product makes operation easier.
- Put on the harness of the product.
- Tighten the side straps until the product is tight against your body.


Note: In case of malfunctionon the machine or any other emergency situation that requires you to free yourself from the machine, open the buckles on the harness and let the machine fall backward.
Operation
Introduction
WARNING: Read and understand the safety chapter before you use the product.
Fuel
This product has a two-stroke engine.
CAUTION: Incorrect type of fuel can result in engine damage. Use a mixture of gasoline and two-stroke oil.
Premixed fuel
- Use Husqvarna premixed alkylate fuel for best performance and extension of the engine life. This fuel contains less harmful chemicals compared to regular fuel, which decreases harmful exhaust fumes. The quantity of remains after combustion is lower with this fuel, which keeps the components of the engine more clean.
To mix fuel
Gasoline
• Use good quality unleaded gasoline with a maximum of 10% ethanol contents.
CAUTION: Do not use gasoline with an octane grade less than 90 RON/87 AKI. Use of a lower octane grade can cause engine knocking, which causes engine damages.
Two-stroke oil
- For best results and performance use Husqvarna two-stroke oil.
- If Husqvarna two-stroke oil is not available, use a two-stroke oil of good quality for air-cooled engines. Speak to your servicing dealer to select the correct oil.
CAUTION: Do not use two-stroke oil for water-cooled outboard engines, also referred to as outboard oil. Do not use oil for four-stroke engines.
To mix gasoline and two-stroke oil
Two-stroke oil
- For best results and performance use Husqvarna two-stroke oil.
- If Husqvarna two-stroke oil is not available, use a two-stroke oil of good quality for air-cooled engines. Speak to your servicing dealer to select the correct oil.
CAUTION: Do not use two-stroke oil for water-cooled outboard engines, also referred to as outboard oil. Do not use oil for four-stroke engines.
To mix gasoline and two-stroke oil
| Gasoline, liter | Two-stroke oil, liter |
| 2% (50:1) | |
| 5 | 0.1 |
| 10 | 0.2 |
| 15 | 0.3 |
| 20 | 0.4 |
| US gallon | US fl. oz. |
| 1 | 2 ½ |
| 2 1/2 | 6 ½ |
| 5 | 12 ⅞ |
CAUTION: Small errors can influence the ratio of the mixture drastically when you mix small quantities of fuel. Measure the quantity of oil carefully and make sure that you get the correct mixture.
- Fill half the quantity of gasoline in a clean container for fuel.
- Add the full quantity of oil.
- Shake the fuel mixture.
- Add the remaining quantity of gasoline to the container.
- Carefully shake the fuel mixture.
CAUTION: Do not mix fuel for more than 1 month at a time.
To fill the fuel tank
WARNING: Obey the procedure that follows for your safety.
- Stop the engine and let the engine become cool.
- Clean the area around the fuel tank cap.

- Shake the container and make sure that the fuel is fully mixed.
- Remove the fuel tank cap slowly to release the pressure.
- Fill the fuel tank.
CAUTION: Make sure that there is not too much fuel in the fuel tank. The fuel expands when it becomes hot. - Tighten the fuel tank cap carefully.
- Clean fuel spillage on and around the product.
- Move the product 3 m/10 ft or more away from the refueling area and fuel source before you start the engine.
Note: To see where the fuel tank is on your product, refer to Product overview on page 2.
Before you operate the product
WARNING: Read the safety instructions before you operate the product.
- Use the blower with the lowest possible throttle. A lower throttle means less noise and less dust, and it is also easier to keep control over the rubbish collected together/moved. Use a rake or a brush to release rubbish stuck to the ground.
- Hold the opening of the blower as close to the ground as possible. Utilize the entire length of the blow pipe to keep the air current close to the ground. Clean up afterwards. Make sure that you have not blown rubbish into someone’s garden. Operate power equipment only at reasonable hours, not early in the morning or late at night when people might be disturbed. Comply with times listed in local ordinances.
- This blower is a backpack type, and is carried using a shoulder harness while operating. It is operated and controlled with the handle on the tube using the right hand.
- The speed of the air jet is regulated by means of the throttle. Select the speed best suited for respective tasks.
- Check that the air intake is not blocked, for example, by leaves or rubbish. A clogged air intake reduces the machine’s blowing capacity and increases the engine’s working temperature, which can result in engine failure. Stop the engine and remove the object.
- Be aware of the wind direction. Work with the wind to make your work easier.
- Using the blower to move large piles is time consuming and creates unnecessary noise.
- Keep a good balance and a firm foothold.
- When work is finished the machine should be stored vertically.
To operate the throttle control/stop switch
Apply full throttle (A).- Apply 1/3 speed (B).
- Apply idle speed (C).
- Stop the product (D).
To start the product
- If the engine is cold, push the choke lever to the closed choke position.

- Push the air purge bulb again and again until fuel starts to fill the air purge bulb. It is not necessary to fill the air purge bulb fully.
- Push the throttle lever to the ⅓ speed position. Refer to To operate the throttle control/stop switch on page 11.
- Put the product on a flat surface on the ground.
- Hold the product with the left hand.

- Pull the starter rope handle slowly until resistance occurs.
- Pull the starter rope handle quickly with the right hand until the engine starts or attempts to start, maximum 10 times. If the engine starts, move the choke lever gradually to the open position.
Note: Do not pull the starter rope handle to full extension and do not let go of the starter rope handle. - Move the choke lever to the open choke position until the choke lever stops.
- Pull the starter rope handle repeatedly until the engine starts and continues to run.
- If the engine does not start, do step 1 to step 10 again.
- Let the engine run for 2-3 minutes to become warm before operation.
To stop the product
CAUTION: Do not stop the product at full speed.
- Push the throttle lever to the stop position.

Maintenance
Introduction
WARNING: Read and understand the safety chapter before you do maintenance on the product.
Maintenance schedule
| Maintenance | Daily | Weekly | Monthly |
| Clean the external surfaces. | X | ||
| Make sure that the control handle operates correctly. | X | ||
| Make sure that the start/stop switch operates correctly. Refer to To stop the product on page 12. | X | ||
| Examine the engine, the fuel tank and the fuel lines for leaks. Examine the fuel filter for contamination. Replace the fuel filter if it is necessary. | X | ||
| Clean the air filter. Replace the air filter if it is necessary. | X | ||
| Tighten nuts and screws. | X | ||
| Examine the air intake and make sure that it is not blocked. | X | ||
| Examine the starter and the starter rope for damages. | X | ||
| Examine the vibration damping units for damages, cracks and deformation. Make sure that the vibration damping units are correctly installed. | X | ||
| Examine the spark plug. Refer to To do a check of the spark plug on page 13. | X | ||
| Clean the cooling system. | X | ||
| Clean the external surface of the carburetor and the area around it. | X | ||
| Clean the fuel tank. | X | ||
| Examine all cables and connections. | X | ||
| Examine and clean the spark arrestor screen on the muffler (for products without catalytic converter). | X | ||
| Examine and clean the spark arrestor screen on the muffler (for products with catalytic converter). | X | ||
| Examine the spark plug. Replace if it is necessary. | X |
To adjust the idle speed
- Make sure that the air filter is clean and the air filter cover is attached.
- Adjust the idle speed with the idle speed screw. To see where the idle speed screw is on your product, refer to Product overview on page 2
To do a check of the spark plug
CAUTION: Use the recommended spark plug. Refer to Technical data on page 18. An incorrect spark plug can cause damage to the product.
- If the product is not easy to start or to operate or if the product operates incorrectly at idle speed, examine the spark plug for unwanted materials. To decrease the risk of unwanted material on the spark plug electrodes, do these steps:
a) make sure that the idle speed is correctly adjusted.
b) make sure that the fuel mixture is correct.
c) make sure that the air filter is clean. - Stop the engine and let the product become cool.
- Clean the spark plug if it is dirty.
- Make sure that the electrode gap is correct. Refer to, Technical data on page 18.

- Replace the spark plug monthly or more frequently if necessary.
To clean the cooling system
CAUTION: A dirty or blocked cooling system can make the product too hot, which can cause damage to the product.
The cooling system includes the cooling fins on the cylinder and the air intake screen.
- Make sure that the cooling system is not dirty or blocked.
- Clean the cooling system with a brush weekly or more frequently if it is necessary.
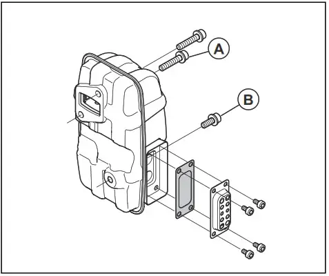
To do maintenance of the muffler
WARNING: Do not use a product with a defective muffler.
WARNING: The mufflers become very hot during and after operation, also at idle speed. Use protective gloves to prevent burn injuries.
- Stop the engine and let the muffler become cool.
- Replace the spark arrester screen (C) if it is damaged.
- Remove the screws (E) and remove the exhaust duct (D).
Note: The inner surfaces of the muffler contain chemicals that can cause cancer. Be careful not to touch these elements if the muffler is damaged. - Remove the spark arrester screen (C) and clean it with a wire brush. Remove dirt from the inlet and outlet of the muffler with the wire brush. Also, remove dirt from the exhaust port of the cylinder with the wire brush.
- Attach the spark arrester screen (C) and the exhaust duct (D) with the screws (E). Tighten the screws to 2-3 Nm.
- Make sure that the muffler is correctly attached to the product. Tighten the screws (A) and (B) to 8-10 Nm.

To examine the air intake screen
A clogged air intake screen decreases the blow force and increases the temperature of the engine. An increased temperature can result in engine failure.
- Stop the engine.
- Examine the air intake screen for damages and make sure that it is attached correctly.

- Remove dirt, leaves and unwanted materials from the air intake screen.
To clean the air filter
CAUTION: Do not use a product without an air filter or with a damaged air filter. Dust in the air can cause damage to the engine.
- Push the choke control to the closed position.
- Remove the air filter cover (A).
- Remove the air filter (B) from the filter frame.

- Clean the air filter with warm water with soap.
Note: An air filter that has been used for a long time cannot be fully cleaned. Replace the air filter regularly and always replace a defective air filter. - Clean the inner surface of the air filter cover (A) with a brush.
- Apply oil to the air filter. Refer to To apply oil to the foam air filter on page 15.
- Put the air filter in the filter frame.
- Attach the air filter cover to the product.
To apply oil to the foam air filter
CAUTION: Always use Husqvarna special air filter oil. Do not use other types of oil.
WARNING: Put on protective gloves. The air filter oil can cause skin irritation.
- Put the foam air filter in a plastic bag.
- Put the oil in the plastic bag.
- Rub the plastic bag to supply the oil equally across the foam air filter.
- Push the unwanted oil out of the foam air filter while in the plastic bag.

To replace the harness
WARNING: A damaged harness can make the product fall and cause injuries.
- Stop the engine.
- Remove the clamp from the strap.
- Push the end of the strap through the hanger.
- Pull the new strap through the hanger.
- Attach the clamp to the new strap.

Troubleshooting
| The engine Is not possible to start | ||
| Check | Possible cause | Solution |
| Stop button. | Stop position | Set the stop switch to the start position. |
| Starter pawl/s. | Blocked or worn starter pawl/s. | Adjust or replace the starter pawl/s. |
| Clean around the starter pawl/s. | ||
| Speak to an approved servicing dealer. | ||
| Fuel tank. | Incorrect fuel type. | Drain the fuel tank and use correct fuel. |
| Carburetor. | Adjustment of the idle speed. | Adjust the idle speed with the idle adjustment screw. |
| Spark (no spark). | Spark plug dirty or wet. | Make sure that the spark plug is dry and clean. |
| Electrode gap on the spark plug is incorrect. | Clean the spark plug. Make sure that the electrode gap is correct. Make sure that the spark plug is installed with a suppressor. | |
| Refer to technical data for the correct electrode gap. | ||
| Spark plug. | Spark plug is loose. | Tighten the spark plug. |
| There is un- wanted material on the spark plug electrodes. | Make sure that the fuel mixture is correct. | |
| Make sure that the air filter is clean. | ||
| Engine starts but stops again | ||
| Check | Possible cause | Solution |
| Fuel tank. | Incorrect fuel type. | Drain it and use the correct fuel. |
| Carburetor. | Engine will not operate correctly at idle speed. | Speak to your servicing dealer. |
| Air filter. | Clogged air fil- ter. | Clean the air filter. |
| Muffler, cylin- der (exhaust port) | Carbon is built- up. | Remove carbon deposits from the inlet and outlet of the muffler and the exhaust port of the cylinder. |
| Cylinder fin, fan cover. | Clogged with dust. | Regular cleaning is required. |
Transportation and storage
Transportation and storage
WARNING: To prevent the risk of fire, make sure that there are no leaks or fumes during transportation or storage. Make sure that there is no risk of sparks or fire.
- Empty the fuel tank before transportation or longterm storage. Push the air purge bulb to make sure that all fuel is removed. Discard the fuel at an applicable disposal location.
- Make sure that the product is clean and that a full servicing is done before long-term storage.
- Remove the spark plug and put approximately 15 ml of two-stroke oil into the cylinder. Turn the product 3 times and install the spark plug again.
- Attach the product safely to the vehicle during transportation.
- Keep the product in a dry, cool and clean space with good airflow. Keep the product away from children.
Transport mode
Possible to use the clip fastening on the control pipe to strap the pipes on the right shoulder harness.

Technical data
Technical data
| 57887E | |
| Engine | |
| Cylinder displacement, cm3 | 76. |
| Operating engine speed, rpm | 2000-7500 |
| Fuel consumption, liter/h | 2. |
| Ignition system 1 | |
| Spark plug | NGK CMR7H |
| Electrode gap, mm/in | 0.6-0.7 / 0.024-0.028 |
| Fuel and lubrication system | |
| Fuel tank capacity, I/US pint | 2.2 / 4.65 |
| Weight | |
| Weight, kg/lb | 10.8/23.8 |
| Fan performance | |
| Maximum air velocity with standard nozzle, m/s | 100 |
| Air flow with standard nozzle, m3/min | 21 |
Warranty
Limited Warranty
Should any failure occur on the product under normal operating conditions within the applicable warranty period, the failed part will be replaced or repaired free of charge by a Husqvarna authorized dealer.
WARRANTY PERIOD: Six (6) months after purchased by end-user subject to 12 months from produced month. (30 days if used for rental purpose)
THE PURCHASER SHALL BEAR COSTS OF TRANSPORTING THE UNIT TO AND FROM THE Husqvarna DEALER.
THE PURCHASER SHALL NOT BE CHARGED FOR DIAGNOSTIC LABOR WHICH LEADS TO THE DETERMINATION THAT A WARRANTED PART IS DEFECTIVE, IF THE DIAGNOSTIC WORK IS PERFORMED AT THE Husqvarna DEALER. THE PURCHASER OR OWNER IS RESPONSIBLE FOR THE PERFORMANCE OF THE REQUIRED MAINTENANCE AS DEFINED BY THE MANUFACTURER IN THE OWNER/OPERATOR MANUAL.
ANY WARRANTED PART WHICH IS NOT SCHEDULED FOR REPLACEMENT AS REQUIRED MAINTENANCE, OR WHICH IS SCHEDULED ONLY FOR REGULAR INSPECTION TO THE EFFECT OF REPAIR OR “REPLACE AS NECESSARY” SHALL BE WARRANTED FOR THE WARRANTY PERIOD.
ANY WARRANTED PART WHICH IS SCHEDULED FOR REPLACEMENT AS REQUIRED MAINTENANCE SHALL BE WARRANTED FOR THE PERIOD OF TIME UP TO THE FIRST SCHEDULED REPLACEMENT POINT FOR THE PART.
ANY REPLACEMENT PART THAT IS EQUIVALENT IN PERFORMANCE AND DURABILITY MAY BE USED IN NON-WARRANTY MAINTENANCE OR REPAIRS, AND SHALL NOT REDUCE THE WARRANTY OBLIGATION OF THE COMPANY.
THE COMPANY IS LIABLE FOR DAMAGES TO OTHER ENGINE COMPONENTS CAUSED BY THE FAILURE OF A WARRANTED PART STILL UNDER WARRANTY.
THE WARRANTY DOES NOT APPLY TO THOSE UNITS WHICH HAVE BEEN DAMAGED BY NEGLIGENCE OF INSTRUCTION LISTED IN THE OWNER/OPERATOR MANUAL FOR PROPER USE AND MAINTENANCE OF THE UNITS ACCIDENT MISHANDLING, ALTERATION, ABUSE, IMPROPER LUBRICATION, USE OF ANY PARTS OR ACCESSORIES OTHER THAN THOSE SPECIFIED BY THE COMPANY, OR OTHER CAUSES BEYOND THE COMPANY’S CONTROL.
THIS WARRANTY DOES NOT COVER THOSE PARTS REPLACED BY NORMAL WEAR OR HARMLESS CHANGES IN THEIR APPEARANCE.
THERE ARE NO OTHER EXPRESS WARRANTIES.
ANY IMPLIED WARRANTY is limited to the duration of the limited warranty. Otherwise, this limited warranty is in lieu of all other expressed or implied warranties, including any warranty of FITNESS FOR A PARTICULAR PURPOSE OR USE and any implied warranty MERCHANTABILITY otherwise applicable to this product.
LIABILITIES FOR INCIDENTAL OR CONSEQUENTIAL DAMAGE UNDER ANY AND ALL WARRANTIES ARE EXCLUDED.
IF YOU NEED TO OBTAIN MORE INFORMATION, PLEASE CALL YOUR NEAREST SERVICE CENTER, OR PLEASE CHECK Husqvarna WEB SITE. www.husqvarna.com

www.husqvarna.com
Original instructions
1159839-94
2022-08-26


















Apply full throttle (A).



Note: The inner surfaces of the muffler contain chemicals that can cause cancer. Be careful not to touch these elements if the muffler is damaged.






















