KBB 7580-06 80V Backpack Blower
Instruction Manual

ITEM #5084048
80V BACKPACK BLOWER
MODEL #KBB 7580-06
KBB 7580-06 80V Backpack Blower
ATTACH YOUR RECEIPT HERE
Serial Number _________________ Purchase Date __________________
Questions, problems, missing parts? Before returning to your retailer, call our customer service department at 1-888-3KOBALT (1-888-356-2258), 8 a.m. – 8 p.m., EST, Monday – Sunday. You could also contact us at [email protected] or visit www.lowespartsplus.com. XXXXXXX
PRODUCT SPECIFICATIONS
SPECIFICATIONS
| Type | Cordless, battery-operated |
| Motor | 80 V |
| Air Volume | 776 CFM |
| Air Speed | 154 MPH |
| Weight (without battery) | 16.64 lbs. (7.55 kg) |
For household use only.
PACKAGE CONTENTS

| PART | DESCRIPTION | QUANTITY |
| A | Blower | 1 |
| B | Connection tube | 1 |
| C | Rear blower tube | 1 |
| D | Front blower tube | 1 |
HARDWARE CONTENTS
(not shown actual size)

SYMBOLS
Some of the following symbols may be used on this product. Please study them and learn their meaning. Proper interpretation of these symbols will allow you to operate the product better and safer.
| SYMBOLS | NAME | DESIGNATION/EXPLANATION |
| V | Volts | Voltage |
| A | Amperes | Current |
| Hz | Hertz | Frequency (cycles per second) |
| W | Watts | Power |
| min | Minutes | Time |
| ~ | Alternating Current | Type of current |
| Direct Current | Type or a characteristic of current | |
| /min | Per Minute | Revolutions, strokes, surface speed, orbits etc., per minute |
| Wet Conditions Alert | Do not expose to rain or use in damp locations | |
| Read The Operator’s Manual | To reduce the risk of injury user must read and understand operator’s manual before using this product. | |
| Eye Protection | Always wear eye protection with side shields marked to comply with ANSI Z87.1 when operating this equipment. | |
| Safety Alert | Precautions that involve your safety. | |
| Long Hair | Failure to keep long hair away from the air inlet could result in personal injury. | |
| Loose Clothing | Failure to keep loose clothing from being drawn into air intake could result in personal injury. | |
| Keep Bystanders Away | Keep all bystanders at least 50 ft. away. | |
| Blower Tubes | Do not operate without tubes in place. | |
| Impeller Blades | Rotating impeller blades can cause severe injury. |
The following signal words and meanings are intended to explain the levels of risk associated with this product.
| SYMBOL | SIGNAL | MEANING |
| DANGER | Indicates an imminently hazardous situation, which, if not avoided, will result in death or serious injury. | |
| WARNING | Indicates a potentially hazardous situation, which, if not avoided, could result in death or serious injury. | |
| CAUTION | Indicates a potentially hazardous situation, which, if not avoided, may result in minor or moderate injury. | |
| CAUTION | (Without Safety Alert Symbol) Indicates a situation that may result in property damage. |
WARNING
- To avoid serious personal injury, do not attempt to use this product until you have read this Owner’s
Manual thoroughly and understand it completely. If you do not understand the warnings and instructions in this Owner’s Manual, do not use this product.
Call 1-888-3KOBALT (1-888-356- 2258) for assistance.
The operation of any power tool can result in foreign objects being thrown into your eyes, which can result in severe eye damage. Before operating a power tool, always wear safety goggles, safety glasses with side shields, or a full-face shield when needed. A Wide Vision Safety Mask is recommended for use over eyeglasses or standard safety glasses with side shields. Always use eye protection that is marked to comply with ANSI Z87.1.
IMPORTANT SAFETY INSTRUCTIONS
WARNING
Read and understand all instructions before using this product. Failure to follow all instructions listed
BEFORE USING
- Use extra care when cleaning on stairs.
- Do not use on wet surfaces.
- Do not allow to be used as a toy. Close attention is necessary when used by or near children.
- Use only as described in this manual. Use only manufacturer’s recommended attachments.
- Do not use with a damaged plug. If the tool is not working as it should, or if it has been dropped, damaged, left outdoors, or dropped into water, return it to an authorized service center.
- When using in direct sunshine, keep out of water.
- Don’t expose to rain when operating the machine.
- Store indoors. Do not expose to rain or water. Avoid direct sunshine.
- Remove the battery when not in use and before servicing.
- Turn off all controls before removing the battery.
WHEN USING THIS BLOWER
- Do not operate power tools in an explosive atmosphere, such in the presence of flammable liquids, gases, or dust. Power tools create sparks that may ignite the dust or fumes.
- To reduce the risk of electric shock, the battery charger has a polarized plug (one blade is wider than electrician to install the proper wall outlet. Do not change the equipment plug, extension cord receptacle, or extension cord plug in any way.
- Never allow children to operate the equipment. Never allow adults to operate the equipment without proper instruction.
- Wear eye protection that is marked to comply with ANSI Z87.1 when operating this product.
- Do not handle charger, including charger plug, and charger terminals with wet hands.
- Do not charge the unit outdoors.
- Wear heavy long pants, boots, and gloves. Avoid loose garments or jewelry that could get caught in moving parts of the machine or its motor.
- Do not force the tool. Use the correct tool for your application. The correct tool will work more
- Do not operate the equipment while barefoot or when wearing sandals or similar lightweight footwear.
- Wear protective footwear that will protect your feet and improve your footing on slippery surfaces.
- Secure long hair so it is above shoulder level to prevent entanglement in any moving parts.
- Do not use the tool if the switch does not turn it on or off. Any tool that cannot be controlled with the switch is dangerous, and must be repaired.
- Keep all bystanders, children, and pets at least 50 ft. (15 m) away.
- For household use only.
- Use only Kobalt 80-volt batteries. (KB 280-06, KB 2580-06, KB 380-06, KB 280C-06, KB 2580C-06, KB 380C-06)
- Use only Kobalt 80-volt charger. (KRC 80-06, KRC 30-06, KRC 0280-06)
- Do not operate in poor lighting.
- Keep all parts of your body away from any moving parts and all hot surfaces of the unit.
- Do not put any object into openings. Do not use with any opening blocked. Keep openings free of dust, lint, hair, and anything that may reduce air flow.
- Check the work area before each use. Remove all objects that can be thrown or become entangled in the machine, such as rocks, broken glass, nails, wire, or string.
- Use only identical manufacturer’s replacement parts and accessories. Use of any other parts may create a hazard or cause product damage.
FOR BATTERY-OPERATED EQUIPMENT:
- Prevent unintentional starting. Ensure the switch is in the off-position before connecting to battery pack, picking up or carrying the equipment. Carrying the equipment with your finger on the switch or energizing equipment that have the switch on invites accidents.
- Disconnect the battery pack from the equipment before making any adjustments, changing accessories, or storing equipment. Such preventive safety measures reduce the risk of starting the equipment accidentally.
- Recharge only with the charger specified by the manufacturer. A charger that is suitable for one type of battery pack may create a risk of fire when used with another battery pack.
- Use equipment only with specifically designated battery packs. Use of any other battery packs may create a risk of injury and fire.
- When battery pack is not in use, keep it away from other metal objects like paper clips, coins, keys, nails, screws or other small metal objects that can make a connection from one terminal to another. Shorting the battery terminals together may cause burns or a fire.
- Under abusive conditions, liquid may be ejected from the battery; avoid contact. If contact accidentally occurs, flush with water. If liquid contacts eyes, additionally seek medical help. Liquid ejected from the battery may cause irritation or burns.
- Do not use a battery pack or equipment that is damaged or modified. Damaged or modified batteries may exhibit unpredictable behavior resulting in fire, explosion or risk of injury.
- Do not expose a battery pack or equipment to fire or excessive temperature. Exposure to fire or temperature above 265°F (130°C) may cause an explosion.
- Have servicing performed by a qualified repair person using only identical replacement parts. This will ensure that the safety of the product is maintained.
- Follow all charging instructions and do not charge the battery pack or appliance outside of the temperature range specified in the instructions. Charging improperly or at temperatures outside of the specified range may damage the battery and increase the risk of fire.
- Do not modify or attempt to repair the appliance or the battery pack except as indicated in the instructions for use and care.
CHILD SAFETY
Tragic accidents can occur if the operator is not aware of the presence of children.
- Keep children out of the working area and under the watchful care of a responsible adult.
- Do not allow children under the age of 14 to operate this blower. Children who are 14 years of age and older must read and understand the operating instructions and safety rules in this manual and must be trained and supervised by a parent.
- Stay alert and turn the blower off if a child or any other person enters the working area.
- Use extreme care when approaching blind corners, doorways, shrubs, trees, or other objects that may obscure your view of a child who may run into the path of the blower.
WIRNING (PROPOSITION 65)
Some dust created by power sanding, sawing, grinding, drilling, and other construction activities contains chemicals known to cause cancer, birth defects or other reproductive harm. Some examples of these chemicals are:
- Lead from lead-based paints
- Crystalline silica from bricks and cement and other masonry products, and
- Arsenic and chromium from chemically treated lumber.
Your risk of exposure to these chemicals varies depending on how often you do this type of work. To reduce your exposure to these chemicals, work in a well-ventilated area, and work with approved safety equipment, such as dust masks that are specially designed to filter out microscopic particles.
THE RECOMMENDED AMBIENT TEMPERATURE RANGE
| Item | Temperature |
| Tool storage temperature range | 32°F (0°C) – 113°F (45°C) |
| Tool operation temperature range | 32°F (0°C) – 113°F (45°C) |
| Battery charging temperature range | 39°F (4°C) – 104°F (40°C) |
| Charger operation temperature range | 39°F (4°C) – 104°F (40°C) |
| Battery storage temperature range | 32°F (0°C) – 113°F (45°C) |
| Battery discharging temperature range | 32°F (0°C) – 113°F (45°C) |
SAVE THESE INSTRUCTIONS
PREPARATION
Before beginning assembly of product, make sure all parts are present. Compare parts with package contents list and hardware contents list. If any part is missing or damaged, do not attempt to assemble the product.
ASSEMBLY INSTRUCTIONS
WARNING
To prevent accidental starting that could cause serious personal injury, always remove the battery pack from the tool when assembling parts.
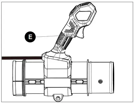
ASSEMBLING THE TRIGGER HANDLE
- Turn knob (DD) clockwise to loosen the trigger handle (E).
- Remove the long screw (BB).
- Slide trigger handle (E) on the connection tube (B).

- Move trigger handle to desired location on connection tube (B) before fully tightening.
- Insert the long screw (BB) and tighten with the knob (DD).

ASSEMBLING THE CONNECTION TUBE
- Align the raised ribs (F) with the slot (G).
- Insert the shorter end of the connection tube (B)
- Use one end of the tube as a pivot point, and press some force.

- Place the hose clamp (CC) around the flex tube.

- Insert and tighten the short screw (AA) into the hose clamp (CC).

ASSEMBLING THE REAR BLOWER TUBE
- Align either of the grooves (H) in the rear blower tube (D) with the tabs (I) on the blower.

- Push the tube into the blower until the tabs (I) engage the grooves (H).

- Turn the rear blower tube in the direction of the slot until the tabs lock into position.

- Repeat the steps above to install the front blower tube (C).
Note: You can adjust the length of the tube according to different needs.
BATTERY
a. To install the battery:
- Align the battery with the cavity in the backpack housing.
- Grasp the backpack firmly
- Insert the battery in the opening until the battery release button (J) locks into place. You should hear a “click” once it is installed.
Note: For better performance and usage time, inserting two batteries at the same time and using the batteries with large battery capacity are
recommended.
b. To remove the battery:
- Press the battery release button (J). This will cause the battery to raise out of the tool.
- Grasp the backpack firmly. Pull the battery pack out of the backpack.
Note: The battery fits into the backpack snugly in order to prevent accidental dislodging. It may require a strong pull to remove it.
OPERATING INSTRUCTIONS
- HARNESS ADJUSTMENT
A well-adjusted backpack blower and harness makes work easier. Adjust the harness to give you the best working stance. Adjust the side straps so the weight is equally distributed across your shoulders.
a. Once the blower is properly fitted on your back, pull the ends of the straps downward to tighten the harness.
b. Connect the horizontal chest strap, and pull the end of the strap to tighten. Repeat the step to connect and tighten the waist strap.
c. Lift the tabs of the adjusters to loosen the straps.
d. Close and lock the quick-release fastener by pushing it together.
e. Squeeze the hooks to open the quick-release fastener.
- PUT ON THE SHOULDER STRAP
• Adjust the harness straps (1) to the correct length.
• Adjust chest strap (2) to correct length and fasten it together.
• Adjust waist strap (3) to correct length and fasten it together.
Note: The backpack blower must be quickly removed in the event of imminent danger. The chest strap and the waist strap must be released before putting the backpack blower on the ground.
- HOLDING THE TOOL
• This backpack blower is designed to be operated with one hand.
• Always walk slowly while working.
• Always check the blowing outlet area.
- STARTING/STOPPING THE BLOWER
• Ensure that the battery is installed in the blower.
• Squeeze the trigger (K) to start the blower.
• To change speed, squeeze the trigger to increase the speed and release the trigger slightly to decrease the speed.
• Release the trigger completely to stop the blower.
- USING THE CRUISE CONTROL LEVER
This blower is equipped with a cruise control function.
• Squeeze the trigger (K) to start the unit.
• Once the unit is on, pull back the cruise control lever (L) clockwise to increase the speed. This will lock the speed at the desired setting.
• To decrease the speed, push the cruise control lever (L) counterclockwise to decrease the speed to the desired setting.
Note: If you decrease the speed all the way, the unit will shut off and step one will need to be repeated. - USING THE TURBO BUTTON
This blower is equipped with a turbo button (M).
• Squeeze the trigger (K) to start the unit.
• To boost speed, press the turbo button (M) so that the blower can be operated at the highest speed.
• Once the turbo button (M) is released, the blower will return to the previous speed.
Note: When operating the blower on turbo speed, the runtime will be reduced significantly. - OPERATING THE BLOWER
• To keep from scattering debris, blow around the outer edges of a debris pile. Never blow directly into the center of a pile.
• To reduce sound levels, limit the number of pieces of equipment used at any one time.
• Use rakes and brooms to loosen debris before blowing. In dusty conditions, slightly dampen surfaces when water is available.
• Conserve water by using power blowers instead of hoses for many lawn and garden applications, including areas such as gutters, screens, patios, grills, porches, and gardens.
• Watch out for children, pets, open windows, or freshly washed cars, and blow debris safely away.
• After using blowers or other equipment, clean up. Dispose of debris properly.
Note: Never cover air vents. Keep them free of obstructions and debris. They must always remain clear for proper motor cooling.
CARE AND MAINTENANCE
WARNING
In order to avoid personal injury and the risk of fire and electric shock, remove the battery pack before adjusting, inspecting, or cleaning the blower.
CLEANING
- Remove the battery pack.
- Brush or blow dust and debris out of the air vents using compressed air or a vacuum. Keep the air vents free of obstructions, sawdust, and wood chips. Do not spray, wash, or immerse the air vents in water.
- Wipe off the housing and the plastic components using a moist, soft cloth. Do not use strong solvents or detergents on the plastic housing or plastic components. Certain household cleaners may cause damage, and may cause a shock hazard.
TROUBLESHOOTING
| PROBLEM | POSSIBLE CAUSE | CORRECTIVE ACTION |
| Unit will not blow. | Blocked tube. | Clear the blockage. |
| Motor fails to start when trigger is depressed. | Battery is not secure. | Ensure the battery is fully secure in the battery compartment and the battery release button locks into place. |
| Battery is not charged. | Charge the battery pack according to the instructions included with your model. | |
| Unit will not start. | Defective power switch. | Return to place of purchase or return the unit to a repair center or call customer service at 1-888-3KOBALT (1-888-356-2258). |
WARRANTY
5-YEAR LIMITED WARRANTY
This 80 V Lithiuim-lon Backpack blower is warranted to the original purchaser from the original purchase date for five (5) years subject to the warranty coverage described herein.
This 80 V Lithiuim-lon backpack blower is warranted for the original user to be free from defects in material and workmanship.
If you believe that the 80 V Lithiuim-lon backpack blower is defective at any time during the specified warranty period, simply return the 80 V Lithiuim-lon backpack blower along with proof of purchase to the place of purchase for a free replacement or refund, or call 1-888-3KOBALT (1-888-356-2258) for warranty service.
This warranty is void if: defects in materials or workmanship or damages result from repairs or alterations which have been made or attempted by others or the unauthorized use of nonconforming parts; the damage is due to normal wear, damage is due to abuse (including overloading of the tool beyond capacity), improper maintenance, neglect or accident; or the damage is due to the use of the tool after partial failure or use with improper accessories or unauthorized repair or alteration.
This warranty gives you specific legal rights, and you may also have other rights that vary from state to state.
REPLACEMENT PARTS LIST
For replacement parts, call our customer service department at 1-888-3KOBALT (1-888-356-2258), 8 a.m. – 8 p.m., EST, Monday – Sunday. You could also contact us at [email protected] or visit www.lowespartsplus.com.

| PART | DESCRIPTION | PART # |
| B | Connection tube | R0400232-00 |
| C | Blower tube | R0400233-00 |
| AA | Short screw | R0400228-00 |
| BB | Long screw | R0400229-00 |
| CC | Hose clamp | R0400230-00 |
| DD | Knob | R0400231-00 |
![]()








Note: You can adjust the length of the tube according to different needs.






















