EGO LBP8000E 56 Volt Lithium Ion Cordless Backpack Blower
READ ALL INSTRUCTIONS!
READ OPERATOR’S MANUAL
NOTICE: These instructions shall also be available in an alternative format, e.g. on a website.
Residual risk! People with electronic devices, such as pacemakers, should consult their physician(s) before using this product. Operation of electrical equipment in close proximity to a heart pacemaker could cause interference or failure of the pacemaker.
WARNING: To ensure safety and reliability, all repairs and replacements should be performed by a qualified service technician.
DAMAGE PREVENTION AND INFORMATION MESSAGES
These inform the user of important information and/or instructions that could lead to equipment or other property damage if they are not followed. Each message is preceded by the word “NOTICE”, as in the example below:
NOTICE: Equipment and/or property damage may result if these instructions are not followed.

WARNING: The operation of any power tools can result in foreign objects being thrown into your eyes, which can result in severe eye damage. Before beginning power tool operation, always wear safety goggles or safety glasses with side shields and a full face shield when needed. We recommend a Wide Vision Safety Mask for use over eyeglasses or standard safety glasses with side shields.
SAFETY INSTRUCTIONS
This page depicts and describes safety symbols that may appear on this product. Read, understand, and follow all instructions on the machine before attempting to assemble and operate.
Safety Alert
Always wear safety goggles or safety glasses with side shields and a full face shield when operating this product.
Always wear ear protection when operating this product.
To reduce the risk of injury, user must read operator’s manual before using this product.
Keep all bystanders at least 15m away
This product is in accordance with applicable EC directives.
This product is in accordance with applicable UK legislation.
Waste electrical products should not be disposed of with household waste. Take to an authorized recycler.- V Volt
- Hz Hertz
- min Minutes
- km/h Kilometers Per Hour
- n0 No Load Speed
- IPX5 Protection From Water Jets
- A Amperes
- W Watt
- m3/h Cubic Meter Per Hour
Direct Current- … /min Per Minute
SPECIFICATIONS
| Voltage | 56 V |
| Maximum Air Volume | 1360 m3/h |
| Maximum Air Velocity | 85 m/s |
| Maximum Blower Force | 26 N |
| Recommended Operating Temperature | -15°C-40°C |
| Recommended Storage Temperature | -20°C-70°C |
| Blower Weight (Without battery with tube) | 7.4 kg |
| Measured sound power level LWA | 97 dB(A) K=1.2 dB(A) |
| Sound pressure level at operator’s ear LPA | 86.2 dB(A) K=2.5 dB(A) |
| Guaranteed sound power level LWA (according to 2000/14/EC) | 98 dB(A) |
| Vibration ah | 0.4 m/s2 K=1.5 m/s2 |
- The declared vibration total value has been measure in accordance with a standard test method and may be used for comparing one tool with another;
- The declared vibration total value may also be used in a preliminary assessment of exposure.
NOTICE: The vibration emission during actual use of the power tool can differ from the declared value in which the tool is used; In order to protect the operator, user should wear gloves and ear protectors in the actual conditions of use.
PACKING LIST (FIG. A1)
DESCRIPTION
KNOW YOUR BLOWER (Fig. A1 & A2)

- Handle
- Battery-Release Buttons
- Latch
- Electric Contacts
- Assist Handle
- Air Inlet
- Bellows
- Control-handle Tube
- Blower Tube
- Control Handle
- Backpack Plate
- Blower-tube Storage Knob
- Adjustable Support Harness
- Tapered Nozzle
- Cruise Control Button
- LCD Screen
- Turbo Button
- Trigger Switch
- Tube-hanging Groove
- Quick-release Lever
- Fuel Gauge
- Fan Icon
- Turbo Indicator
- Air-speed Indicator
- Cruise Control Icon
- Battery Icon
WARNING: The safe use of this product requires an understanding of the information on the tool and in this instruction manual as well as knowledge of the project you are attempting. Before use of this product, familiarize yourself with all operating features and safety rules.
ASSEMBLY
WARNING: If any parts are damaged or missing, do not operate this product until the parts are replaced.
Use of this product with damaged or missing parts could result in serious personal injury.
WARNING: Do not attempt to modify this product or create accessories not recommended for use with this blower. Any such alteration or modification is misuse and could result in a hazardous condition leading to possible serious personal injury.
WARNING: To prevent accidental starting that could cause serious personal injury, always remove the batteries from the tool when assembling parts.
ASSEMBLING THE BLOWER TUBES
Connecting the Control-handle Tube Assembly to the Bellows (Fig. C)
- Insert the upper end of the control-handle tube into the bellows as far as it will go.
- Fully tighten the screw in the clamping collar on the bellows.
C-1 Clamping Collar C-2 Screw
Connecting the Blower Tube to the Control-handle Tube (Fig. D)
- Loosen and remove the quick-release lever and wing nut from the tube clamp assembly fixed on the blower tube.
D-1 Tube Clamp D-2 Wing Nut - Align the groove in the blower tube with the rib on the control-handle tube, slide the blower tube over the control-handle tube as far as it will go.
- Insert the pin of the quick-release lever and close the lever onto the tube clamp.
- Tighten the wing nut to secure the tube clamp in place.
Connecting the Tapered Nozzle to the Blower Tube (Fig. E, F)

- Align the groove in the nozzle with the latch on the tube. Push the nozzle over the tube until it securely snaps into place.
- To remove the nozzle, press and hold the nozzle release button to disengage the latch, then pull the nozzle straight away from the blower tube.
E-1 Nozzle-release Button E-2 Latch
OPERATION
WARNING: Do not allow familiarity with this product to make you careless. Remember that a careless fraction of a second is sufficient to inflict serious injury.
WARNING: Do not use any attachments or accessories not recommended by the manufacturer of this product. The use of attachments or accessories not recommended can result in serious personal injury.
WARNING: Always remove the batteries from the product when you are assembling parts, making adjustments, cleaning, or when not in use. Removing the batteries will prevent accidental starting that could cause serious personal injury.
Before each use, inspect the entire product for damaged, missing, or loose parts, such as screws, nuts, bolts, caps,etc. Tighten securely all fasteners and caps and do not operate this product until all missing or damaged parts are replaced.
WARNING: If you encounter an emergency, separate the chest buckle straightly to take off the blower.
APPLICATION
You may use this product for the purposes listed below:
- Clearing hard surfaces such as driveways and walkways.
- Keeping decks and driveways free from leaves and pine needles.
NOTICE: The tool is to be used only for its prescribed purpose. Any other use is deemed to be a case of misuse.
INSTALLING/REMOVING THE BATTERIES CHARGE BEFORE FIRST USE.
Use only with batteries and chargers listed fig.B.
NOTICE: For best performance, we recommend use of any EGO 56V battery with a capacity higher than 5.0 Ah.
The blower has two active battery compartments on the left and right side of the battery compartment housing.
NOTE: The blower can operate with one or two batteries.
Using two batteries gives you a longer run time and efficient power draw managed by PEAK POWER™ technology.
If a battery has been inserted into battery compartment marked with 1 or 2 on the backpack plate, the corresponding battery icon illuminates on the LCD screen (Fig. G) after you turn on the blower.
| G-1 | Battery Compartment Position Mark |

- To Install (Fig. H)
Align the battery ribs with the mounting slots and press the battery down until you hear a “click”. Repeat the process to install the second battery.
- To Remove (Fig. I)
Depress the battery-release buttons and pull the batteries out.
WARNING: Always take care to note the location of your feet, children, or pets when pressing the battery release button. Serious injury could result if the battery falls. NEVER remove the battery when in a high location.
POSITIONING THE BACKPACK BLOWER
WARNING: Dress properly to reduce the risk of injury when operating this tool. Do not wear loose clothing or jewelry. Wear eye and ear/hearing protection. Wear heavy, long pants, boots and gloves. Do not wear short pants or sandals or go barefoot.
To Adjust The Support Harness
- Put your arms through the shoulder straps to support the blower on your back.
- Adjust both shoulder straps until you feel comfortable with the blower on your back (Fig. J).

- Snap the chest buckle and adjust its length if necessary (Fig. K).

- Snap the waist buckle and adjust its length so that the backpack is securely supported by your hips (Fig. L & M).


- Readjust the shoulder straps for security and comfort.
Makes sure that the backpack sits securely on your back, with the weight supported by the waist strap, and without excess movement when you move (Fig. N).
- Insert any extra length of belt around the waist into the elastic on both sides (Fig. O).

- To detach the tool from your back, just press the waist and chest buckles to release them (Fig. P).

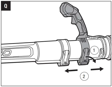
To Adjust the Control Handle
- Release the quick-release lever to move the control handle forward or backward as needed (Fig. Q & R) and then engage the quick-release lever to secure the handle in place.


- You may also rotate the handle as needed for comfort (Fig. S).

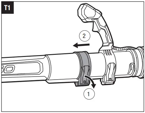
To Adjust the Control-handle Tube Length (Fig. T1, T2)

- Release the quick-release lever to move the blower tube to a comfortable operating position.
- Engage the quick-release lever to secure the blower tube in place
STARTING/STOPPING THE BLOWER
Trigger Switch (Fig. U1, U2)

- Depress the trigger switch to turn on the blower. The LCD screen displays the fuel gauge, battery icon, air speed indicator.
- The air speed of the blower is controlled with the trigger switch. The further the trigger switch is depressed, the more air flows out of the nozzle. Adjust the speed to suit the task at hand. The corresponding air speed icon displays on the LCD screen.
- Release the trigger to turn off the blower. After 6 seconds the LCD screen turns off.
Turbo Mode
With the trigger depressed and held, press the turbo button to maximize the airflow (Fig. U1). The turbo indicator and the fan icon illuminates on the LCD screen (Fig. U3).
NOTE: The blower returns to the previous speed when the turbo button is released.
Cruise Control Model
The cruise control mode offers operations without trigger switch.
To engage the cruise control mode:
- Depress and hold the trigger switch at the desired speed (Fig. U1).
- Press the cruise control button. Release the button after the cruise control icon appears on the LCD screen (Fig. U4).

- Release the trigger switch, the blower keeps running
Press the turbo button under cruise control mode can temporarily increase the air speed to the maximum level.
The blower resumes the previous speed when the turbo button is released.
To disengage the cruise control mode:
Press the cruise control button again to disengage the cruise control mode. The cruise control icon on the LCD screen disappears.
Tips For Using The Blower
- Use rakes and brooms to loosen debris before blowing.
In dusty conditions, slightly dampen surfaces if water is available. - Watch out for children, pets, open windows, or freshly washed cars, and blow debris safely away.
- After using blowers or other equipment, clean up!
MAINTENANCE
WARNING: When servicing, use only identical replacement parts. Use of any other parts may create a hazard or cause product damage. To ensure safety and reliability, all repairs should be performed by a qualified service technician.
WARNING: To avoid serious personal injury, always remove the battery from the product when cleaning or performing any maintenance.
GENERAL MAINTENANCE
Avoid using solvents when cleaning plastic parts. Most plastics are susceptible to damage from various types of N commercial solvents and may be damaged by their use.
Use clean cloths to remove dirt, dust, oil, grease, etc.
WARNING: Do not at any time let brake fluids, petrol, petroleum-based products, penetrating oils, etc., come in contact with plastic parts. Chemicals can damage, weaken or destroy plastic which may result in serious personal injury.
STORAGE
- Remove the battery from the blower.
- Clean all foreign material from the air inlets of the blower.
- Align the blower-tube storage knob with the tube hanging groove and hook the blower tube onto the battery compartment housing (Fig. V & W).
- Store in an enclosed space that is inaccessible to children. Keep away from corrosive agents, such as garden chemicals and de-icing salts.
V-1 Blower-Tube Storage Knob V-2 Tube-Hanging Groove
Protecting the environment
Do not dispose of electrical equipment, used battery and charger into household waste!
Take this product to an authorized recycler and make it available for separate collection. Electric tools must be returned to an environmentally compatible recycling facility.
TROUBLESHOOTING
| PROBLEM | CAUSE | SOLUTION |
| Blower doesn’t work. | ◾ No electrical contact between the blower and batteries. ◾ The batteries are depleted. ◾ The batteries or blower is too hot. | ◾ Remove battery, check contacts and reinsert the battery. ◾ Charge the batteries. ◾ Cool the batteries and blower until the temperature drops below 67°C. |
| The air velocity decreases significantly. | ◾ The air inlet is blocked by debris. ◾ Excessive wearing of motor fan. | ◾ Remove the batteries, clear the debris. ◾ Contact EGO service center for repair. |
| LCD Screen Fault. | ◾ LCD assembly is broken or bad wire connection of the LCD assembly. | ◾ Contact EGO service center for repair. |
WARRANTY
EGO WARRANTY POLICY
Please visit the website egopowerplus.com for full terms and conditions of the EGO Warranty policy

Always wear ear protection when operating this product.































