Husqvarna 350BT Leaf Blower User Manual
Introduction
California Proposition 65
WARNING!
The engine exhaust from this product contains chemicals known to the State of California to cause cancer, birth defects or other reproductive harm.
We have a policy of continuous product development and therefore reserve the right to modify the design and appearance of products without prior notice.
Intended use
Use the product to blow leaves and other unwanted material from areas such as lawns, pathways and aspha lt roads.
Canada EMC
This spark ignition system complies with the Canadian standard ICES-002.
Product description
This product is a backpack blower with a fuel engine.
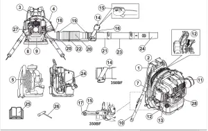
Product overview

- Frame
- Harness
- Engine cover
- Fan cover
- Air intake screen
- Fan
- Air filter
- Starter rope handle
- Fuel tank
- Waist belt
- Spark plug
- Vibration damping system
- Choke control
- Control handle
- Start/stop switch with throttle control (350BT)/Stop switch (350BF)
- Throttle trigger
- Throttle lever (350BF)
- Pipe angle
- Clamp
- Flexible hose
- Control pipe
- Cable clamp
- Intermediate pipe
- Blower nozzle
- Operator’s manual
- Combination wrench
- Air purge bulb
- Idle speed screw
Symbols on the product
WARNING! This product can be dangerous and cause serious injury or death to the operator or others. Be careful and use the product correctly.
Read the operator’s manual carefully and make sure that you understand the instructions before use.
Use approved hearing protection and approved eye protection. If the environment contains dust, use a breathing mask.
Use approved protective gloves
Mixture of gasoline and two-stroke oil.
Air purge bulb.
Keep all body parts away from hot surfaces.
Choke, open position.
Choke, closed position.
Look out for thrown objects. Thrown objects can cause serious injury. Use personal protective equipment.
Keep a safety distance at a minimum of 15 m to persons or animals.
The rating plate shows the serial number. yyyy is the production year and ww is the production week.
Note: Other symbols/decals on the product refer to certification requirements for other commercial areas.

The Emissions Compliance Period referred to on the Emission Compliance label indicates the number of operating hours for which the engine has been shown to meet Federal emissions requirement. Maintenance, replacement or repair of the emission control devices and system may be performed by any non-road engine repair establishment or individual.
| EMISSION CONTROL LABEL ABBREVIATIONS | |||||
| General: | |||||
| CAL | California | EXH/EVP | Exhaust and Evapora- tive | REGS | Regulations |
| DISPL | Displacement | EVAP | Evaporative | SORE | Small off road engines |
| ECS | Emission control system | HRS | Hours | US EPA | United States Environ- mental Protection Agen- cy |
| Exhaust emission control system: | |||
| ECM | Engine control module (Auto- tune) | OC | Oxidizing Cata- lyst |
| EM | Engine modifica- tion | TWC | Three way cata- lyst |
| Evaporative emission control systems: | |||
| C | Coextruded (Mul- tilayer) | P | Treated HDPE or PE |
| N | Nylon | S | Sealed |
Product liability
As referred to in the product liability laws, we are not liable for damages that our product causes if:
- the product is incorrectly repaired.
- the product is repaired with parts that are not from the manufacturer or not approved by the manufacturer.
- the product has an accessory that is not from the manufacturer or not approved by the manufacturer.
- the product is not repaired at an approved service center or by an approved authority.
Safety
Safety definitions
The definitions below give the level of severity for each signal word.
WARNING: Injury to persons
CAUTION: Damage to the product.
Note: This information makes the product easier to use.
General safety instructions
WARNING: Read the warning instructions that follow before you use the product.
- Do not do changes to the product without approval from the manufacturer and always use original
- accessories. Modifications and/or accessories that are not approved can result in serious injury or the death of the operator or others.
- Do not use a damaged product. Do the safety checks and maintenance given in this operator’s manual. All other maintenance must be done by approved servicing personnel.
- All servicing and repair operations must be done by approved servicing personnel. If a part of the product is defective, speak to your servicing dealer.
Safety instructions for operation
WARNING: Read the warning instructions that follow before you use the product.
This product can be dangerous and cause serious injury or death to the operator or others. Be careful and use the product correctly.
- Do an inspection of the product before use. Refer to Maintenance on page 11.
- Do not operate the product when you are tired, ill or under the influence of alcohol or other drugs that can decrease your vision, judgment or coordination.
- Install all covers and guards before use. To prevent electrical shock, make sure that the spark plug cap and ignition cable are not damaged.
- Do not touch the spark plug or ignition cable when the engine is on.
- Keep a safety distance at a minimum of 15 m to persons or animals. If persons, children or animals come nearer than 15 m, stop the product. Point the product away from persons, animals, open windows and other objects.
- Do not let children operate the product. Make sure that all operators read and understand the contents of this operator’s manual.
- Keep hands or other objects away from the blower housing during operation. Rotating parts can cause serious injury.
- Do not use the product if the air intake screen is not installed. Always make sure that the air intake screen is installed and not damaged before use.
- If an emergency occurs, release the waist belt and chest belt of the harness and let the product fall.
- Obey national regulations and directives.
- Keep all body parts away from hot surfaces.
- This product produces an electromagnetic field during operation. This field may under some circumstances interfere with active or passive medical implants. To reduce the risk of serious or fatal injury we recommend persons with medical implants to consult their physician and the medical implant manufacturer before operating this product.
- Too much vibration can cause damage to the circulation or the nervous system. Speak to your physician if you have symptoms, for example numbness, loss of feeling, tingling, pricking, pain, loss of strength or changes in skin color in your fingers, hands or wrists.
- Look out for thrown objects. Thrown objects can cause serious injury.
- Do not use the product in bad weather, for example fog, rain, strong winds and too cold environments.
To do work in bad weather can cause tiredness and dangerous conditions. - Make sure that you can move and keep a stable position. Do a check of the work area for possible obstacles, for example rocks. Be careful if you operate the product on a slope
- Do not put the product on the ground with the engine on.
- Do not operate the product from high positions, for example on a ladder.
- Make sure that you can always be heard if an accident occurs.
- Make sure that the exhaust fume outlet is not blocked. To prevent damage to the product, keep obstacles at a minimum distance of 50 cm from the exhaust fume outlet.
- Do not start the product indoors, in bad airflow or near flammable material. The engine exhaust fumes contain carbon monoxide, which can cause carbon monoxide poisoning. The engine exhaust fumes are hot and can contain sparks which can start a fire.
Personal protective equipment
WARNING: Read the warning instructions that follow before you use the product.
- Use approved personal protective equipment when you use the product. Personal protective equipment cannot fully prevent injury but it can decrease the degree of injury. Speak to your dealer for more information.
- Use approved hearing protection. Long-term exposure to noise can result in permanent hearing damage.
- Use approved eye protection. If you use a visor, you must also use approved protective goggles. Approved protective goggles must agree with the ANSI Z87.1 standard in the USA or EN 166 in EU countries.
- Use protective gloves during operation and maintenance.
- Use protective boots or shoes with non-slip soles.
- Use clothing of strong fabric and of full length. Do not use jewelry or open shoes. To decrease the risk on injury, your clothing must be close-fitting but not limit your movements. Put your hair above your shoulders to prevent that your hair enters rotating parts or catches on branches.
- Use breathing protection when there is a risk of dust.
- Keep first aid equipment near.
Safety devices on the product
WARNING: Read the warning instructions that follow before you use the product.
- Do not use a product with defective safety devices.
- Do a check of the safety devices regularly. Refer to Maintenance on
- If the safety devices are defective, speak to your Husqvarna servicing dealer.
To do a check of the muffler
WARNING: Do not use a product with a defective muffler.
WARNING: The muffler becomes very hot during and after operation, also at idle speed. Use protective gloves to prevent burn injuries.
WARNING: The inner side of the muffler contains chemicals that may be carcinogenic. Do not touch the muffler if it is damaged.
- Regularly do a visual check of the muffler. The muffler keeps noise levels to a minimum and sends exhaust fumes away from the operator. Refer to To do maintenance on the muffler on.
To do a check of the vibration damping system
- Make sure that there are no cracks or deformation on the vibration damping units.
- Make sure that the vibration damping units are correctly attached to the engine unit and handle unit.
Refer to Product overview on page 2 for information about where the vibration damping system is on your product.
To do a check of the start/stop switch
- Use the start/stop switch to stop the engine.
- Make sure that the engine stops fully.
To see where the start/stop switch is on your product, refer to Product overview on.
Harness safety
- Make sure that the waist belt is attached and correctly adjusted. Loose ends of the harness can enter rotating parts and cause damage to the fan. If the fan is damaged, loose parts of the product can eject and cause injury or damage.
WARNING: Read the warning instructions that follow before you use the product.
- Do not mix or add the fuel indoors or near a heat source.
- Do not start the product if there is fuel or oil on the product or on your body.
- Do not start the product if the engine has a fuel leak. Examine the engine for fuel leaks regularly.
- Always be careful with fuel. Fuel is flammable and the fuel fumes are explosive and can cause serious injury or death.
- Do not breathe in the fuel fumes, it can cause injury. Make sure that there is a sufficient airflow.
- Do not smoke near the fuel or the engine.
- Do not put the product or a fuel container near warm objects, an open flame, a spark or a pilot light.
- Always use approved containers for storage and transportation of fuel.
Safety instructions for maintenance
WARNING: Read the warning instructions that follow before you use the product.
- Stop the engine, remove the spark plug and let the engine become cool before maintenance and assembly.
- A blocked spark arrestor screen causes the engine to become too hot which causes damage to the engine.
Assembly
Introduction
WARNING: Read and understand the safety chapter before you assemble the product.
To assemble the blower pipe and the control handle on the product
Note: Lubricate the tubes and flexible hose to make them easier to assemble.
- Attach the flexible hose (A) to the pipe angle and the control pipe (B) with the clamps (C) and (D).

- Attach the handle holder (E) to the control pipe. Align the handle holder with the flange on the control pipe

- Adjust the position and angle of the control handle to a safe and correct work position. Tighten the knob.
- For 350BT: Attach the cable to the flexible hose with the cable clamp.

- Attach the intermediate pipe to the control pipe.

Note: If it is a requirement to use a longer circular blower pipe, an extended intermediate pipe is available. - Attach the blower nozzle to the intermediate pipe.
Note: The blower nozzle can only be installed on the intermediate pipe.
To assemble the handlebar (optional accessory)
- Disassemble the intermediate pipe.
- Remove the knob from the holder and push the holder onto the control pipe.
- Install the handlebar and the knob. Tighten the knob.

- Assemble the intermediate pipe
To assemble the flat nozzle (optional accessory)
The flat nozzle gives a higher air speed than the blower nozzle.
- Remove the blower nozzle from the intermediate pipe and install the flat nozzle.

Operation
Introduction
WARNING: Read and understand the safety chapter before you use the product.
Fuel
This product has a two-stroke engine
CAUTION: Incorrect type of fuel can result in engine damage. Use a mixture of gasoline and two-stroke oil.
Premixed fuel
- Use Husqvarna premixed alkylate fuel for best performance and extension of the engine life. This fuel contains less harmful chemicals compared to regular fuel, which decreases harmful exhaust fumes. The quantity of remains after combustion is lower with this fuel, which keeps the components of the engine more clean.
To mix fuel
Gasoline
- Use good quality unleaded gasoline with a maximum of 10% ethanol contents.
CAUTION: Do not use gasoline with an octane grade less than 90 RON/87
AKI. Use of a lower octane grade can cause engine knocking, which causes engine damages.
Two-stroke oil
- For best results and performance use Husqvarna two-stroke oil.
- If Husqvarna two-stroke oil is not available, use a two-stroke oil of good quality for air-cooled engines. Speak to your servicing dealer to select the correct oil.
CAUTION: Do not use two-stroke oil for water-cooled outboard engines,
also referred to as outboard oil. Do not use oil for four-stroke engines.
CAUTION: Do not use two-stroke oil for water-cooled outboard engines,
also referred to as outboard oil. Do not use oil for four-stroke engines.
To mix gasoline and two-stroke oil
| Gasoline, liter | Two-stroke oil, liter |
| 2% (50:1) | |
| 5 | 0.10 |
| 10 | 0.20 |
| 15 | 0.30 |
| 20 | 0.40 |
| US gallon | US fl. oz. |
| 1 | 2 ½ |
| 2 1/2 | 6 ½ |
| 5 | 12 ⅞ |
CAUTION: Small errors can influence the ratio of the mixture drastically when you mix small quantities of fuel. Measure the quantity of oil carefully and make sure that you get the correct mixture.
- Fill half the quantity of gasoline in a clean container for fuel.
- Add the full quantity of oil.
- Shake the fuel mixture.
- Add the remaining quantity of gasoline to the container.
- Carefully shake the fuel mixture.
CAUTION: Do not mix fuel for more than 1 month at a time.
To fill the fuel tank
WARNING: Obey the procedure that follows for your safety.
- Stop the engine and let the engine become cool.
- Clean the area around the fuel tank cap.

- Shake the container and make sure that the fuel is fully mixed.
- Remove the fuel tank cap slowly to release the pressure.
- Fill the fuel tank.
CAUTION: Make sure that there is not too much fuel in the fuel tank. The fuel expands when it becomes hot. - Tighten the fuel tank cap carefully.
- Clean fuel spillage on and around the product.
- Move the product 3 m/10 ft or more away from the refueling area and fuel source before you start the engine.
Note: To see where the fuel tank is on your product, refer to Product overview on.
To start the product
- If the engine is cold, push the choke lever to the closed choke position. Refer to Symbols on the product on
. - Push the air purge bulb again and again until fuel starts to fill the air purge bulb. It is not necessary to fill the air purge bulb fully.
- Set the throttle speed to 1/3 speed. Refer to To operate the throttle control/stop switch on page 9.
- Put the product on a flat surface on the ground.
- Hold the product with the left hand.

CAUTION: Do not use your feet to hold the product. - Pull the starter rope handle slowly until resistance occurs.
- Pull the starter rope handle quickly with the right hand. Pull the starter rope handle again and again until the engine starts.
Note: Do not pull the starter rope handle to full extension and do not let go of the starter rope handle. - If the engine is cold, push the choke lever to the open choke position gradually until the choke lever stops.
- If the engine is cold, let the engine operate for 2-3 minutes to become warm before operation.
WARNING: Air is released when the engine is started and when the product is set at idle speed. Do not let persons to come near the product or the blower tube.
To operate the throttle control/stop switch
- Apply full throttle (A).
- Apply 1/3 speed (B).
- Apply idle speed (C).
- Stop the product (D).
To operate the product
- This blower is a backpack type, and is carried using a shoulder harness while operating. It is operated and controlled with the handle on the tube using the right hand

- Operate the product at usual work hours. Obey local regulations.
- Decrease the pieces of equipment and select the correct speed for your task. Use the throttle at lowest position possible to prevent more noise and dust than necessary.
- Keep the blower nozzle near the ground.
Note: Husqvarna recommends that you use the full blower nozzle extension. - Make a note of the wind direction and operate the product in the direction of the wind.
- Use applicable garden tools to release material from the ground.
- In areas with dust, use spray equipment to wet the area. This decreases the operation time.
- After operation, keep the product in storage vertically.
To stop the product
CAUTION: Do not stop the product at full speed. Refer to To operate the throttle control/stop switch
- For 350BT: Put the start/stop switch with throttle control in the stop position.
- For 350BF: Push the stop switch.
To adjust the harness
- Put on the harness of the product.
- Tighten the shoulder straps until the product is tight against your body.

- Put the waist belt around your waist.
- Tighten the waist belt strap. Make sure that the weight of the blower stays on your hips.

Maintenance
Introduction
WARNING: Read and understand the safety chapter before you do maintenance on the product.
Maintenance schedule
| Maintenance | Daily | Weekly | Monthly |
| Clean the external surfaces. | X | ||
| Make sure that the control handle operates correctly. | X | ||
| Make sure that the start/stop switch operates correctly. Refer to To do a check of the start/stop switch on page 6. | X | ||
| Examine the engine, the fuel tank and the fuel lines for leaks. Examine the fuel filter for contamination. Replace the fuel filter if it is necessary. | X | ||
| Clean the air filter. Replace the air filter if it is necessary. | X | ||
| Tighten nuts and screws. | X | ||
| Examine the air intake and make sure that it is not blocked. | X | ||
| Examine the starter and the starter rope for damages. | X | ||
| Examine the vibration damping units for damages, cracks and deformation. Make sure that the vibration damping units are correctly installed. | X | ||
| Examine the spark plug. Refer to To do a check of the spark plug on page 11. | X | ||
| Clean the cooling system. | X | ||
| Clean the external surface of the carburetor and the area around it. | X | ||
| Clean the fuel tank. | X | ||
| Examine all cables and connections. | X | ||
| Examine and clean the spark arrestor screen on the muffler (for products without catalytic converter). | X | ||
| Examine and clean the spark arrestor screen on the muffler (for products with catalytic converter). | X | ||
| Examine the spark plug. Replace if it is necessary. | X |
To adjust the idle speed
- Make sure that the air filter is clean and that the air filter cover is attached.
- Adjust the idle speed with the idle speed screw. To see where the idle speed screw is on your product, refer to Product overview on page 2.
To do a check of the spark plug
CAUTION: Use the recommended spark plug. Refer to Technical data on page. An incorrect spark plug can cause damage to the product.
- Stop the engine and let the product become cool.
- Clean the spark plug if it is dirty
- Make sure that the electrode gap is correct. Refer to Technical data on.

- Replace the spark plug monthly or more frequently if it is necessary
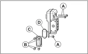
To do maintenance on the muffler
- Stop the engine and let the muffler become cool. Always use protective gloves.
- Remove the screws (A), the screws (B) and the exhaust duct (C).

- Remove the spark arrester screen (D) and clean it with a wire brush. Replace the spark arrester screen if it is damaged.
- Remove dirt from muffler and from the exhaust port of the cylinder with the wire brush.
- Attach the spark arrester screen (D) and the exhaust duct (C) with the screws (B). Tighten the screws to 2-3 Nm.
- Tighten the screws (A) to 8-12 Nm. Make sure that the muffler is correctly attached to the product.
To examine and clean the cooling system
The cooling system includes the cooling fins on the cylinder and the air intake screen.
- Stop the engine.
- Make sure that the cooling system is not dirty or blocked. If it is necessary, clean the air intake screen and cooling fins.
CAUTION: A dirty or blocked cooling system can increase the temperature of the engine and cause damage to the product. A clogged air intake screen decreases the blow force. - Examine the cooling system for damages. Make sure that the parts are attached correctly to the product.
To clean the air filter
CAUTION Do not use a product without an air filter or with a damaged air filter. Dust in the air can cause damage to the engine
- Push the choke control to the closed position.
- Remove the air filter cover (A).
- Remove the air filter (B) from the filter frame.
- Clean the air filter with warm water with soap.
Note: An air filter that has been used for a long time cannot be fully cleaned. Replace the air filter regularly and always replace a defective air filter - Clean the inner surface of the air filter cover (A) with a brush.
- Apply oil to the air filter. Refer to To apply oil to the foam air filter on page 12.
- Put the air filter in the filter frame.
- Attach the air filter cover to the product
To apply oil to the foam air filter
CAUTION: Always use Husqvarna special air filter oil. Do not use other types of
oil.
WARNING: Put on protective gloves. The air filter oil can cause skin irritation.
- Put the foam air filter in a plastic bag.
- Put the oil in the plastic bag.
- Rub the plastic bag to supply the oil equally across the foam air filter.

- Push the unwanted oil out of the foam air filter while in the plastic bag.

To replace the harness
WARNING: A damaged harness can make the product fall and cause injuries. Make sure to install the clamp correctly
- Stop the engine.
- Remove the clamp from the strap.
- Push the end of the strap through the eyelet.
- Pull the new strap through the eyelet.
- Put the pin into the strap to attach the clamp to the new strap.

Troubleshooting
| The engine is not possible to start | ||
| Check | Possible cause | Solution |
| Stop button. | Stop position | Set the stop switch to the start position. |
| Starter pawl/s. | Blocked or worn starter pawl/s. | Adjust or replace the starter pawl/s. |
| Clean around the starter pawl/s. | ||
| Speak to an approved servicing dealer. | ||
| Fuel tank. | Incorrect fuel type. | Drain the fuel tank and use correct fuel. |
| Carburetor. | Adjustment of the idle speed. | Adjust the idle speed with the idle adjustment screw. |
| Spark (no spark). | Spark plug dirty or wet. | Make sure that the spark plug is dry and clean. |
| Electrode gap on the spark plug is incor- rect. | Clean the spark plug. Make sure that the electrode gap is correct. Make sure that the spark plug is installed with a suppressor. | |
| Refer to technical data for the correct electrode gap. | ||
|
Spark plug. | Spark plug is loose. | Tighten the spark plug. |
| There is un- wanted materi- al on the spark plug electro- des. | Make sure that the fuel mixture is correct. | |
| Make sure that the air filter is clean. | ||
| Engine starts but stops again | ||
| Check | Possible cause | Solution |
| Fuel tank. | Incorrect fuel type. | Drain it and use the correct fuel. |
| Carburetor. | Engine will not operate cor- rectly at idle speed. | Speak to your servicing dealer. |
| Air filter. | Clogged air fil- ter. | Clean the air filter. |
Transportation and storage
Transportation and storage
WARNING: To prevent the risk of fire, make sure that there are no leaks or fumes during transportation or storage. Make sure that there is no risk of sparks or fire.
- Empty the fuel tank before transportation or longterm storage. Push the air purge bulb to make sure that all fuel is removed. Discard the fuel at an applicable disposal location.
- Make sure that the product is clean and that a full servicing is done before long-term storage.
- Remove the spark plug and put approximately 15 ml of two-stroke oil into the cylinder. Turn the product 3 times and install the spark plug again.
- Attach the product safely to the vehicle during transportation.
- Keep the product in a dry, cool and clean space with good airflow. Keep the product away from children.
Technical data
Technical data
| Husqvarna 350BT | Husqvarna 350BF | |
| Engine | ||
| Cylinder displacement, in.3 / cm3 | 3.06 / 50.2 | 3.06 / 50.2 |
| Idle speed, rpm | 2200 | 2200 |
| Catalytic converter | No | No |
| Ignition system1 | ||
| Spark plug | NGK CMR7H / TORCH AC7R | NGK CMR7H / TORCH AC7R |
| Electrode gap, in. / mm | 0.023-0.027 / 0.6-0.7 | 0.023-0.027 / 0.6-0.7 |
| Fuel and lubrication system | ||
| Fuel tank capacity, US Pint / l | 2.64 / 1.25 | 2.64 / 1.25 |
| Weight | ||
| Weight without fuel, lb / kg | 22.5 / 10.2 | 22.9 / 10.4 |
| Fan performance | ||
| Max. air velocity with blower nozzle, mph / m/s | 180 / 80 | 180 / 80 |
| Air flow with blower nozzle, cfm / m3/min | 494 / 14 | 494 / 14 |
- The spark ignition system complies with the Canadian ICES-002 standard.
Warranty
CALIFORNIA, U.S FEDERAL, AND CANADA EXHAUST AND EVAPORATIVE EMISSIONS CONTROL WARRANTY STATEMENT
YOUR WARRANTY RIGHTS AND OBLIGATIONS
The California Air Resources Board (CARB), U.S. Environmental Protection Agency (EPA), Environment and Climate Change Canada and Husqvarna Professional Products, Inc. are pleased to explain the exhaust and evaporative emissions (“emissions”) control system warranty on your 2021-2022* small off-road engine. In California, new equipment that use small offroad engines must be designed, built, and equipped to meet State’s stringent anti-smog standards. Husqvarna Professional Products, Inc. must warrant the emissions control system on your small off-road engine for the periods of time listed below provided there has been no abuse, neglect or improper maintenance of your small off-road engine or equipment leading to the failure of theemissions control system. Your emissions control system may include parts such as the carburetor or fuel injection system, the ignition system, catalytic convertor, fuel tanks, fuel lines (for liquid fuel and fuel vapors), fuel caps, valves, canisters, filters, clamps and other associated components. Also included may be hoses, belts, connectors, and other emission-related assemblies. Where a warrantable condition exists, Husqvarna Professional Products, Inc. will repair your small off-road engine at no cost to you including diagnosis, parts and labor.
MANUFACTURER′S WARRANTY COVERAGE
The exhaust and evaporative emissions control system on your small off-road engine is warranted for two years.
If any emissions-related part on your small off-road engine is defective, the part will be repaired or replaced by Husqvarna Professional Products, Inc..
OWNER′S WARRANTY RESPONSIBILITIES
- As the small off-road engine owner, you are responsible for performance of the required maintenance listed in your owner’s manual.
- Husqvarna Professional Products, Inc. recommends that you retain all receipts covering maintenance on your small off-road engine, but Husqvarna Professional Products, Inc. cannot deny warranty coverage solely for the lack of receipts or for your failure to ensure the performance of all scheduled maintenance.
- As the small off-road engine owner, you should however be aware that Husqvarna Professional Products, Inc. may deny you warranty coverage if your small off-road engine or a part has failed due to abuse, neglect, or improper maintenance or unapproved modifications.
- You are responsible for presenting your small offroad engine to a Husqvarna Professional Products, Inc. authorized servicing dealer as soon as the problem exists. The warranty repairs shall be completed in a reasonable amount of time, not to exceed 30 days. If you have any questions regarding your warranty rights and responsibilities, you should contact Husqvarna Professional Products, Inc. in
USA at 1-800-487-5951, in CANADA at 1-800-805-5523 or send e-mail correspondence to [email protected] or [email protected].
WARRANTY COMMENCEMENT DATE
The warranty period begins on the date the engine or equipment is delivered to an ultimate purchaser.
LENGTH OF COVERAGE
Husqvarna Professional Products, Inc. warrants to the ultimate purchaser and each subsequent owner that the engine or equipment is designed, built, and equipped so as to conform with all applicable regulations adopted by CARB and EPA, and is free from defects in materials and workmanship that causes the failure of a warranted part for a period of two years.
WHAT IS COVERED REPAIR OR REPLACEMENT OF PARTS
Repair or replacement of any defective warranted part will be performed at no charge to you at a brand authorized servicing dealer. Except for repairs and replacement under this Emission Control Warranty, you may choose a repair shop or other person to maintain, replace or repair emission control devices and systems. However, Husqvarna Professional Products, Inc. recommends that all maintenance, replacement and repairs of emission control devices and systems be performed by a brand authorized servicing dealer.
IMPORTANT
This product is compliant with U.S. EPA Phase 3 regulations for exhaust and evaporative emissions. To ensure EPA Phase 3, California Air Resources Board and Environment and Climate Change Canada regulation, we recommend using only genuine product branded replacement parts. Use of noncompliant replacement parts is a violation of federal and state laws.
WARRANTY PERIOD
Any warranted part which is not scheduled for replacement as required maintenance, or which is scheduled only for regular inspection to the effect of “repair or replace as necessary” is warranted for 2 years (or time defined in the product warranty statement, whichever is longer) from the date of purchase by the initial consumer purchaser. Any warranted part which is scheduled for replacement as required maintenance is warranted for the period of the time up to the first scheduled replacement for that part.
Any part repaired or replaced under the warranty must be warranted for the remaining warranty period.
DIAGNOSIS
You will not be charged for diagnostic labor that leads to the determination that a warranted part is in fact defective, provided that such diagnostic work is performed at a brand authorized servicing dealer.
OTHER DAMAGES
Husqvarna Professional Products, Inc. will repair other engine components caused by the failure of a warranted part still under warranty.
EMISSION WARRANTY PARTS LIST
- Carburetor and intake parts or fuel injection system.
- Air filter and fuel filter covered up to maintenance schedule.
- Spark Plug, covered up to maintenance schedule.
- Ignition Module.
- Mufflers with catalyst and exhaust manifolds.
- Fuel tank, fuel lines (for liquid fuel and fuel vapors), fuel cap, carbon canister and tip-over/anti-slosh valves as applicable.**
- Electronic Controls, Vacuum, temperature, and time sensitive valves and switches.
- Hoses, connectors, and assemblies.
- All other components the failure of which would increase the engine’s exhaust and evaporative emissions of any regulated pollutant as set forth at the following:
- For California see California Code of Regulations, 13 CCR §2405(d) and 2760(d).
- For U.S. and Canada see US Federal Code of Regulations, 40 C.F.R 1068 Appendix I (iii).
WHAT IS NOT COVERED
All failures caused by abuse, neglect, unapproved modifications, misuse or improper maintenance are not covered. ADD -ON OR MODIFIED PARTS: Add-on or modified parts that are not exempted by CARB or EPA may not be used. The use of any non-exempted add-on or modified parts will be grounds for disallowing a warranty claim. Husqvarna Professional Products, Inc. will not be liable to warrant failures of warranted parts caused by the use of a non-exempted add-on or modified part.
HOW TO FILE A CLAIM
If you have any questions regarding your warranty rights and responsibilities, you should contact your nearest authorized servicing dealer or call Husqvarna Professional Products, Inc. in USA at 1-800-487-5951, in CANADA at 1-800-805-5523 or send e-mail correspondence to [email protected] or [email protected].
WHERE TO GET WARRANTY SERVICE
Warranty services or repairs are provided through all Husqvarna Professional Products, Inc. authorized servicing dealers. If the nearest authorized servicing







.


























