Husqvarna 125B Series Leaf Blower

WARNING
The engine exhaust from this product contains chemicals known to the State of California to cause cancer, birth defects or other reproductive harm.
Note the following before starting:
Husqvarna AB has a policy of continuous product development and therefore reserves the right to modify he design and appearance of products without prior notice. Long-term exposure to noise can result in permanent hearing impairment. Always use approved hearing protection. This operator’s manual describes in detail how to use and service the blower and how to carry out regular maintenance. It also describes which measures should be taken to achieve maximum safety while operating the blower, how the safety devices work and how they should be serviced.
Note
The section of the manual that deals with safety, must be read and understood by all persons who come in contact with the blower.
This operator’s manual has been written for those who need guidance when it comes to fault tracing, thorough servicing and carrying out corrective maintenance of the blower.
There are warning symbols on the blower. Should any of the warning symbols on the blower become disfigured or worn, new ones should be ordered and fitted to the blower as soon as possible. Note that some of the warning symbols may be molded in certain components of the blower. The blower is used for blowing away leaves and other debris on the ground. When operating the blower, the operator must stand with both feet firmly on the ground. The Emissions Compliance Period referred to on the Emissions Compliance label indicates the number of operating hours for which the engine has been shown to meet Federal emissions requirements. Category C = 50 hours, B= 125 hours, and A= 300 hours. For reference, please fill out the following information that will be needed for future servicing of your blower:
Model Number.: __________ _
Serial Number.: __________ _
Purchase Date:. _________ _
Purchased From:
WARNING:
Under no circumstances may the design of the machine be modified without the permission of the manufacturer. Always use genuine accessories. Non-authorized modifications and/or accessories can result in serious personal injury or the death of the operator or others. Your warranty may not cover damage or liability caused by the use of non-authorized accessories or replacement parts.
KEY TO SYMBOLS

SAFETY INSTRUCTIONS
Personal safety equipment
Persons who use the blower shall wear the following safety equipment
- Approved ear protection_
- Approved eye protection.
- Approved protective gloves.
- Boots or work shoes with a non-slip sole.
- Face mask when operating the blower in dusty environments.

Personal safety
The following instructions apply to persons operating the blower:
- The operator shall have read and understood the contents of this manual.
- Do not wear loose clothing, scarves or neck chains or let long hair hang loose, since these can be drawn into rotating parts of the blower and cause injury.
- Do not operate the blower while under the influence of alcohol, drugs or when you are tired.
- Do not allow minors to operate the blower.
- Always have a first aid kit nearby.
Fuel Safety
WARNING:
The fuel used to run the blower has the following dangerous characteristics:
- Volatile liquid: its vapor and exhaust fumes are poisonous.
- Direct contact can cause skin irritation.
- It is extremely flammable.
Special safety instructions apply to the type of fuel used for the blower. These instructions are specified under the Fuel handling section.
Muffler
The muffler is designed to give the lowest possible noise level and to direct the engine’s exhaust fumes away from the operator. Mufflers fitted with catalytic converters are also designed to reduce harmful exhaust components.
WARNING:
The exhaust fumes from the engine are hot and may contain sparks which can start a fire. Never start the machine indoors or near flammable material!
- Mufflers fitted with catalytic converters become extremely hot during use and after stopping. This also applies at idling speeds. Contact can result in burns to the skin. Be aware of the risk of fire!
Safety Equipment
WARNING:
The blower must never be used if any of the safety devices or guards are missing, damaged or not in working order.
The blower is equipped with a number of safety devices and guards for the prevention of accidents. These are described in the general description of the blower. The safety devices and guards also require regular inspection and maintenance. These measures and the interval at which they should be carried out are specified in the Maintenance section.
Safety while operating the blower
- Do not allow bystanders or animals to be in the work area, Le. 50 feet (i 5 meters) from the operator.
- The blower may throw objects at high velocity that can ricochet and hit the operator, This may cause serious eye damage.
- Never point the blower nozzle toward people or animals.
- Stop the engine before fitting or dismantling accessories or other components.
- Never operate the blower if any of the guards are missing.
- Never operate the blower in poorly ventilated spaces where exhaust fumes might otherwise be inhaled.
- Stop the engine before refueling. Move the unit at least in 0 feet (3 meters) from fueling site before attempting to start.
- The catalytic muffler is extremely hot while the blower is running and after it has stopped. The same applies when the blower is running at idling speed. Be aware of the danger of fire, especially while operating the blower near flammable materials and/or where flammable fumes are present
- Be careful, particularly if left hand operation is applied. Avoid any direct body contact with inlet cover area. Keep jewelry, loose clothing, or clothing with loosely hanging straps, ties, tassels, etc., away from inlet cover area.
- Do not operate the blower while standing on a ladder or a stand.
Other safety measures
- Operate the blower only at reasonable hours, i.e. not early in the morning or late at night when people might be disturbed. Comply with times listed in local ordinances. Usual recommendations are 9:00 a. m. to 5:00 p.m., Monday through Saturday.
- Operate the blower at the lowest possible throttle setting to do the job.
- Check the condition of the blower before operation, especially the muffler, air intake and air filter.
- Use a rake or a broom to loosen ground debris before blowing.
- Under dusty conditions, slightly spray the work area with a hose.
- Conserve water by using blowers instead of hoses for many lawn and garden applications, including areas such as roof gutters, screens, patios and gardens etc.
- Watch out for children, pets, open windows or vehicles, and blow debris safely away.
- Use the full nozzle extension so the air stream can work close to the ground.
- After using the blower, clean up and dispose of debris in trash receptacles.
DESCRIPTION
The blower

- Shoulder strap (125BVx-SERIES)
- Throttle trigger
- STOP switch
- Variable speed control
- Fan housing
- Fuel cap
- Air filter
- Choke
- Primer bulb
- Inlet cover
- Vacuum handle (“125Bx-SERIES and 125BVx-SERIES)
- Cutters (125Bx-SERIES and i258Vx-SERIES)
- Fan impeller
- Standard nozzle
- High velocity nozzle
- Blower tube
- Tube clamp bolt
- Tube clamp nut
- Muffler
- Ground wire
- Starter handle
- Starter device
- Carburetor adjustment screws
- 2-stroke engine oil
- Operator’s manual
Accessories (125Bx-SERIES and 125BVx-SERIES)

- Vacuum device with collection components consisting of items 22-26 below
- Collection bag tube
- Collection bag
- Vacuum tube in two sections
- Screw
- Shoulder strap
Safety Equipment
The following equipment on the blower is designed for protecting personnel and materials. These components should receive special attention whenever you operate, inspect and service the blower.
Stop Switch
- The stop switch (A) is used to stop the engine

Muffler
- The muffler is designed to give the lowest possible noise level and to direct the engine’s exhaust fumes away from the operator_ Mufflers fitted with catalytic converters are also designed to reduce harmful exhaust components.
- The engine exhaust fumes are hot and can contain sparks, which may cause fire if they come in contact with dry or flammable material.
- Some blower models, especially those sold in countries where the climate is dry, are equipped with a spark arresting screen (B). This screen must be cleaned or replaced at specific intervals. See the Maintenance section.

WARNING:
The muffler is extremely hot while the engine is running and after it has stopped. DO NOT TOUCH THE MUFFLER IF IT IS HOT! This can cause severe burns.
Other equipment
Throttle trigger
- The speed and the output of the engine are regulated by the throttle trigger (C).

Variable speed control
- The variable speed control (D) is designed to allow setting engine speed as necessary during blower use only.

- To avoid causing damage to the unit, DO NOT attempt to use the variable speed control during starting or during vacuum use.
Fan housing
- The blower fan housing (E) and the fan impeller (F) provide high performance air discharge.

Grounding wire
- The ground wire (G) reduces static build-up during operation in dry conditions

Inlet cover
- An inlet cover is located on the side of the fan housing Opening this cover allows access for cleaning and inspecting the impeller (125Bx -SERIES- 125BVx-SERIES only). If the vacuum and tube is the used, it must be fitted to the opening in the inlet cover. To open the inlet cover ,use a tool to lift th edge of the cover opposite the hinge (indicated by arrow on inlet cover).

WARNING:
Never start the blower if the inlet cover is not closed, is damaged if or the cannot vacuum be tube closed is fitted). (except
Cutters
(125Bx-SERlES and 125BVx-SERIEs)
- Two cutters cutters(J) are fastened to the impeller The cutters are there to mulch leaves and other debris that have been vacuumed before they enter the collection bag.
Blower tube and nozzle
NOTE:
The tube clamp bolt and nut must be installed prior to initial use (see the general description of the blower on page 6)
- The blower tube (K) has a begged slot mounting system to the unit To install or remove the blower tube (or co,ecf_3n bag tube for the 125BVx SERIES). the tube
clamp bolt must be removed• Align slot in the blower air outlet with the raised rib on the tube and insert tube until the holes in the tube and housing align. Re-insert the
tube clamp bolt and tighten - The nozzles (L) have a bayonet mount for connection to the blower tube. Air is channeled through the blower tube to the nozzles, where the air discharge velocity increases and the air stream discharge pattern is formed to provide best performance. The length of the blower tube can be adjusted by twisting the nozzle to the left to disengage the bayonet mount and sliding the nozzle to the appropriate position. Twist the nozzle to the right until a click is felt to re secure the nozzle.

Starter device and starter handle
The starter device (M) is located on the side of the engine shrouding and en- gages the crankshaft only when the starter handie (N) is pulled.
Fuel cap
The fuel cap (0) is located at the rear of the engine shrouding on the fuel tank and has a seal to prevent fuel from leaking out
Air filter
The air filter (P) consists of a fiber filter medium in a resilient frame. The air filter should be cleaned at specific intervals (see Maintenance section). Otherwise, the blower will consume too much fuel, the performance will be reduced and an oily deposit may form on the spark plug electrodes.
Choke
The choke (0) is located below the air filter cover and should be used every time the engine is cold-started.
Adjusting the carburetor
NOT FOR ALL MODELS
- There are three adjusting screws (R) for adjusting the carburetor:
- Low speed jet
- High speed jet
- Adjustment screw for idling
- Adjusting the carburetor involves adapting the engine to local operating conditions, e.g. climate, altitude, gasoline and type of two-stroke engine oil used. For details about carburetor adjustment, see the Maintenance section.

FUEL HANDLING
Fuel Mixture
CAUTION! The machine is equipped with a two-stroke engine and must always be run using a mixture of gasoline and twostroke engine oil. It is important to accurately measure the amount of oil to be mixed to ensure that the correct mixture is obtained. When mixing small amounts of fuel, even small inaccuracies can drastically affect the ratio of the mixture.
WARNING: Always ensure there is adequate ventilation when handling fuel.
Gasoline

CAUTION! Always use high quality unleaded gasoline.

This engine is certified to operate on unleaded gasoline.
The lowest recommended octane rating is 87. If you run the engine on lower octane rating than 87, “knocking” can occur. This leads to an increesed engine temperature, which can result in a serious engine breakdown.
When working at continuous high revs a higher octane rating is recommended.
Two-stroke oil
- For great results and performance use HUSQVARNA two-stroke oil, which is specially formulated for our two-stroke engines. Mixture 1 :50 (2%).
- To maximize the life of your blower, you may choose to use a high quality synthetic oil formulated for two-stroke engines. Mixture 1 :50 (2%).
- Never use two-stroke oil intended for water-cooled outboard engines, sometimes referred to as outboard oil.
- Never use oil intended for 1our-stroke engines.
| Gasoline | Two-stroke oil |
| 2% (1:50) | |
| U.S. gallon | U.S. fl. oz. |
| 1 | 21/2 |
| 2 1/2 | 61/2 |
| 5 | 12 7/8 |
Mixing
- Always mix the gasoline and oil in a clean container intended for fuel.
- Always start by filling haft the amount of the gasoline to be used. Then add the entire amount of oil. Mix (shake) the fuel mixture. Add the remaining amount of gasoline.
- Mix (shake) the fuel mixture thoroughly before filling the machine’s fuel tank.

- Do not mix more than one month’s supply of fuel at a time.
- If the machine is not used for some time, the fuel tank should be emptied and cleaned.
WARNING: The catalytic converter muffler gets very hot during and after use. This also applies during idling. Be aware of the fire hazard, especially when working near flammable substances and/or vapors.
Fueling
WARNING: Taking the following precautions, will lessen the risk of fire:
- Do not smoke or place hot objects near fuel.
- Always shut off the engine before refueling.
- Always stop the engine and let it cool for a few minutes before refueling.
- When refueling, open the fuel cap slowly so that any excess pressure is released gently.
- Tighten the fuel cap carefully after refueling.
- Always move the machine away from the refueling area before starting.
STARTING AND STOPPING

- Clean the area around the fuel cap. Contamination in the tank can cause operating problems.
- Ensure that the fuel is well nixed by shaking the container before filling the tank.
Starting and Stopping
WARNING: Never start the blower if the inlet cover is not closed, is damaged or cannot be closed
(except if the vacuum tube is fitted).
Cold engine
Primer bulb: Press the primer bulb 10 times until fuel begins to fill the bulb. The primer bulb need not be completely filled.

Choke: Move the blue engine choke lever over to the FULL CHOKE (closed) position.

Starting: Hold the body of the machine on the ground using your left hand
(CAUTION! Not with your foot!).
Firmly grip the starter rope handle with your right hand. DO NOT squeeze throttle trigger. Slowly pull out the cord until you feel some resistance (the starter pawls grip); then quickly and powerfully pull the cord.
WARNING: Never wrap the starter cord around your hand.
Pull starter handle until engine attempts to run, but no more than 3 pulls. Move choke to ½ position and pull the cord until the engine starts and runs. Allow the engine to warm up for approximately 10 seconds: then, move the choke to the OFF CHOKE (opened) position.
NOTE: If engine dies, return blue engine choke lever to the closed position and repeat starting steps.
CAUTION! Do not pull the starter cord all the way out and do not let go of the starter handle when the cord is fully extended. This can damage the machine.
Warm Engine
With a warm engine, squeeze and hold the throttle trigger_ Move choke to½ position. Pull starter rope sharply while squeezing throttle trigger until engine runs. Move the choke to the OFF CHOKE (opened) position.

Stopping
To stop the engine, push and release the engine STOP switch (S). The switch will automatically return to the ON position. Wait 7 seconds before attempting to restart unit to allow switch to reset.

USING THE BLOWER
To blow away debris on the ground
Fitting the blower tube and nozzle on the blower
WARNING: When fitting the blower tube and nozzle, the engine must be switched off.
The blower tube (T) has a pegged slot mounting system to the unit. To install or remove the blower tube (or collection bag tube for 125BVx-SERIES), the tube clamp bolt must be removed. Align slot in the blower air outlet with the raised rib on the tube and insert tube until the holes in the tube and housing align. Re-insert the tube clamp bolt and tighten.

The nozzles (U) have a bayonet mount for connection to the blower tube. Air is channeled through the blower tube to the nozzles, where the air discharge velocity increases and the air stream discharge pattern is formed to provide best performance. The length of the blower tube can be adjusted by twisting the nozzle to the left to disengage the bayonet mount and sliding the nozzle to the appropriate position. Twist the nozzle to the right until a click is felt to re-secure the nozzle.
Blowing
Before you begin blowing, put on the required safety equipment.
WARNING: When working with the blower, wear the required personal safety equipment:
- Hearing protection.
- Eye protection.
- Protective gloves.
- Face mask in dusty environments.

125BVx-SERIES can be used with a shoulder strap for extra comfort. The strap should be worn over the shoulder as shown.

WARNING: Never point the blower nozzle at people or animals. The high-velocity air stream can contain particles that may cause serious injury, especially if the blower has previously been used for vacuuming. Be careful, particularly if left hand operation is applied. Avoid any direct body contact with inlet cover area. Keep jewelry, loose clothing, or clothing with loosely hanging straps, ties, tassels, etc., away from inlet cover area.
WARNING: Never start the blower if the inlet cover is not closed, is damaged or cannot be closed (except if the vacuum tube is fitted).
WARNING: Do not operate the blower while standing on a ladder or a stand.
Start the blower as described in the Starting and Stopping section. Work according to the following instructions:
- Never blow air toward fixed objects such as walls, large rocks, automobiles and fences.
- When working inside corners, blow from the corner and inward toward the center of the work area. Otherwise, debris can fly up in your face and cause eye injury.
- Never point the blower nozzle at delicate plants.
Standard Nozzle
The standard nozzle (V) is included with the 125B, I 25Bx-SERIES and I 25BVx-sERIES· When greater accuracy and high air stream concentration is desired, use the standard nozzle.

High-velocity Nozzle
The high-velocity nozzle (W) is an accessory of the blower (included with the
125Bx-SERIES and 1258Vx-SERIES). When a wider air stream and greater air velocity is desired, use the high-velocity nozzle.
To vacuum debris from the ground (125Bx-SERIES and 125BVx-SERIES)
Fitting the collection bag with the various vacuum tubes
The vacuuming device is an accessory (included with the 1258Vx-SEHES).
WARNING: When fitting the tubes to the blower, the engine must be switched off.
- Open the collection bag. Insert the collection bag tube from inside the bag to fit in the vacuum inlet opening of the bag as shown. Ensure elastic is seated in groove. Close the zipper on the bag.
- Remove the blower tube and install the collection bag tube. Install and tighten tube clamp bolt. Attach the carrying strap to the collection bag loops.
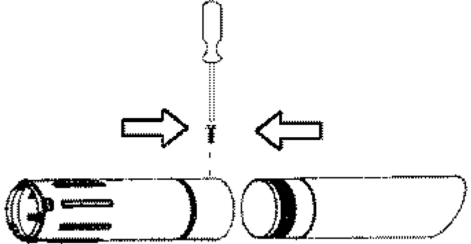
- Align arrows on lower vacuum tube and upper vacuum tube. Push lower vacuum tube into upper vacuum tube until the lower tube is securely seated in the upper tube (about 3 inches/7 cm). Permanently assemble the two tubes together with the supplied screw.

- Open the cover on the side of the blower by using a screwdriver to pry up under the edge of the cover on the side opposite the hinge (indicated by arrow on inlet cover).
- Press the vacuum tubes in the large opening at the underside of the blower and align the tabs with the slots in the tube. Turn it until the bayonet mount locks (lock symbols 0: align).

Vacuuming
Before vacuuming, put on the required safety equipment.
WARNING: When working with the blower, wear the required personal safety equipment:
- Hearing protection.
- Eye protection.
- Protective gloves.
- Face mask in dusty environments.

When operating the blower, the collection bag must be supported by the shoulder strap. The strap should be worn over the shoulder as shown.

WARNING: Always check that the collection bag is intact and the zipper is closed before starting the blower. Never use a damaged bag. There is risk of injury due to flying debris. Be careful, particularly if left hand operation is applied. Avoid any direct body contact with the exhaust outlet area.
WARNING: Never start the blower if the inlet cover is not closed, is damaged or cannot be closed (except if the vacuum tube is fitted).
WARNING: Do not operate the blower while standing on a ladder or a stand.
Start the blower as described in the Starting and Stopping section. Work according to the following instructions:
- Do not vacuum large solid objects that can damage the fan, such as wood, cans (tins) or lengths of string or ribbon.
- Do not let the vacuum tube strike the ground.
- The collection bag can be emptied by first stopping the unit and then opening the zipper on the side.
MAINTENANCE
Maintenance Safety
The owner is responsible for the performance of all required maintenance as defined in the operator’s manual. Disconnect the spark plug before performing maintenance, except carburetor adjustments.
WARNING: Improper maintenance could result in serious engine damage or in serious injury.
Carburetor
Your Husqvarna product has been designed and manufactured to specifications that reduce harmful emissions. After the engine has used 8-10 tanks of fuel, the engine will be run-in. To ensure that it continues to run at peak performance and to minimize harmful exhaust emissions after the run-in period, ask your servicing dealer to adjust your carburetor.
Function
- The carburetor governs the engine’s speed via the throttle control. Air and fuel are mixed in the carburetor.
- The T -screw (BB) regulates the throttle setting at idle speed. If the T -screw is turned clockwise this gives a higher idle speed; turning it counterclockwise gives a lower idle speed.
Basic Setting
- The basic carburetor settings are adjusted during testing at the factory. Fine adjustment should be carried out by a skilled technician.
Recommended idle speed:
See ”Technical data” section.
Recommended max. speed:
See ”Technical data” section.
Fine adjustment of the idle speed-T
Adjust the idle speed using the idle adjustment T -screw if it is necessary to readjust. The idle speed is correctly adjusted when the engine will run smoothly in every position.

Muffler
Some mufflers are fitted with catalytic converters. See the Technical data section to find out if your machine is equipped with a catalytic converter.
The muffler is designed to dampen the noise level and to direct the exhaust fumes away from the user. The exhaust fumes are hot and can contain sparks, which can result in fire if the exhaust fumes are directed towards a dry and flammable material.
Some mufflers are equipped with a special spark arresting screen (CC). If your machine is fitted with this type of screen, it should be cleaned regularly. To access the screen, remove the outlet cover on the front of the muffler, Use a wire brush to clean the screen. On mufflers without a catalytic converter the screen should be cleaned weekly, or replaced if necessary. On mufflers fitted with a catalytic converter the screen should be checked and cleaned monthly. If the screen is damaged it should be replaced. If the screen is frequently blocked, this can be a sign that the function of the catalytic converter is impaired. Contact your dealer to inspect the muffler. A blocked screen will cause the engine to overheat resulting in damage to the cylinder and piston.
CAUTION! Never use a machine that has a faulty or loose muffler. Ensure the muffler bolts are tight.

WARNING: Mufflers fitted with catalytic converters get very hot during use and remain so for some time after stopping. This also applies at idle speed. Contact can result in burns to the skin. Remember the risk of fire!
WARNING: Bear in mind that: Engine exhaust fumes contain carbon monoxide, which can cause carbon monoxide poisoning. For this reason you should not start or run the machine indoors, or anywhere that is poorly ventilated. The exhaust fumes from the engine are hot and may contain sparks which can start a fire. Never start the machine indoors or near flammable material!
WARNING: The inside of the muffler contain chemicals that may be carcinogenic. Avoid contact with these elements in the event of a damaged muffler.
Cooling System
The engine is equipped with a cooling system for maintaining the right operating temperature.
The cooling system consists of the following components:
- Air intake on the starter device (DD}.
- Fan blades on the flywheel (EE).
- Cooling fins on the cylinder (FF).
- Cylinder cowling (guides cooling air flow against cylinder surfaces).
Clean the cooling system by brushing once a week, or more often, if necessary.
A dirty or blocked cooling system will cause the blower to overheat and this will damage the cylinder and piston.

Air Filter
The air filter (GG) must be regularly cleaned to remove dust and dirt in order to avoid:
- Carburetor malfunctions
- Starting problems
- Loss of engine power
- Unnecessary wear to engine parts
- Excessive fuel consumption
- Elevated content of harmful exhaust fumes.

Clean the filter every 25 hours, or more regularly if conditions are exceptionally dusty.
Cleaning the air filter
Remove the air filter cover (HH) and take out the filter. Wash it clean in warm, soapy water. Rinse thoroughly. Ensure that the filter is dry before reinstalling it.
An air filter that has been in use for a long time cannot be cleaned completely. The filter must therefore be replaced with a new one at regular intervals.
CAUTION! A damaged air filter must always be replaced.
Spark Plug
The spark plug condition is influenced by:
- Incorrect carburetor adjustment.
- An incorrect fuel mixture (too much or in- correct type of oil).
- Poor quality gasoline and/or oil.
- A dirty air filter.
These factors cause deposits on the spark plug electrodes, which may result in operating problems and starting difficulties.
If the machine is low on power, difficult to start or runs poorly at idle speed: always check the spark plug first before taking any further action. lf the spark plug is dirty, clean it and check that the electrode gap is 0.024″ (0.6 mm). The spark plug should be replaced after about a month in operation or earlier if necessary.

CAUTION! Always use the recommended spark plug type! Use of the wrong spark plug can damage the piston/cylinder.
Maintenance schedule
Below you will find some general maintenance instructions.
Daily maintenance
- Clean the exterior surfaces of the blower.
- Check that the variable speed control and the throttle trigger function in a safe manner. Replace damaged parts.
- Check that the stop switch works properly. Replace if necessary.
- Clean the air filter. Replace if necessary.
- 125Bx-SERIES and 125BVx-SERIES:
Check that the inlet cover can be locked in the closed position. Carefully check that the fan impeller is clean. especially if the blower has been used for collecting debris (vacuuming). - Check that all nuts and screws are properly tightened.
- Check that all the housings are free of cracks. Replace damaged parts.
- 125Bx-SERIES and i 25BVx-SERIES: Check that the collection bag is intact and that the zipper works. Replace it if necessary.
Weekly maintenance
- Check the condition of the starter device, the starter cord and the tensioning spring. Replace damaged parts.
- Check the condition of the air intake at the starter device. Remove debris if it is clogged.
- Clean the outside of the spark plug. Remove it and check the electrode gap. Adjust the gap to 0.024″ (0.6 mm), or replace the spark plug. Use resistor spark plug Champion RCJ-SY or equivalent.
- Clean the fan blades on the flywheel.
- Clean or replace the spark arresting screen (not on mufflers with a catalytic converter).
- Clean the carburetor area.
- Clean the air filter.
Monthly maintenance
- Clean the fuel tank.
- Clean the outside of the carburetor and the area around it.
- Clean the fan blades on the flywheel and the area around it.
- Check fuel lines for cracks or other damage. Change if necessary.
- Change the fuel filter in fuel tank. Check all cables and connections. Replace damaged parts.
- Replace the spark plug. Use spark plug Champion RCJ-SY or equivalent.
- Change the air filter.
TECHNICAL DATA


WARRANTY STATEMENT
SECTION 1: LIMITED WARRANTY
Husqvarna warrants Husqvama product to the original purchaser to be free from defects in material and workmanship from the date of purchase for the ‘Warranty Period” of the products as set forth below:
Lifetime Warranty: Ignition coils and modules.
2 Year NON-COMMERCIAL Warranty: Blowers for non-commercial, non-professional, non-institutional or non-income producing use, except as herein stated.
Emission control system components necessary to comply with GARB and EPA regulations.
1 Year Warranty: All blowers used for commercial, institutional, professional, or income producing purposes or use.
SECTION 2: HUSQVARNA’S OBLIGATIONS UNDER THE WARRANTY
Husqvarna will repair or replace defective components without charge for parts or labor if a component fails because of a defect in material or workmanship durin;i the warranty period.
SECTION 3: ITEMS NOT COVERED BY THIS WARRANTY
The following items are not w1ered by this warranty:
- Normal customer maintenance items which become worn through normal regular use, including, but not limited to, filters, lubricants, rewind springs, spark plugs, and starter ropes.
- Natural discoloration of material due to ultraviolet light
SECTION 4: EXCEPTIONS AND LIMITATIONS
This warranty shall be inapplicable to defects resulting from the following:
- Accident, abuse, misuse, negligence and neglect, including stale fuel, dirt, abrasives, moisture, rust, corrosion, or any adverse reaction due to incorrect storage or use habits.
- Failure to operate or maintain the unit in accordance with the operator’s manual or instruction sheet furnished by Husqvarna.
- Alterations or modifications that change the intended use of the product or affects the product’s performance, operation, safety, or durability, or causes the product to fail to comply with any applicable laws.
- Additional damage to parts or components due to continued use occurring after any of the above.
REPAIR OR REPLACEMENT AS PROVIDED UNDER THIS WARRANTY IS THE EXCLUSIVE REMEDY OF THE PURCHASER. HUSOVARNA SHALL NOT BE LIABLE FOR ANY INCIDENTAL OR CONSEQUENTIAL DAMAGES FOR BREACH OF ANY EXPRESS OR IMPLIED WARRANTY ON THESE PRODUCTS EXCEPT TO THE EXTENT PROHIBITED BY APPLICABLE LAW ANY IMPLIED WARRANTY OR MERCHANTABILITY OR FITNESS FOR A PARTICULAR PURPOSE ON THESE PRODUCTS IS LIMITED IN DURATION TO THE WARRANTY PERIOD AS DEFINED IN THE LIMITED WARRANTY STATEMENT HUSOVARNA RESERVES THE RIGHT TO CHANGE OR IMPROVE THE DESIGN OF THE PRODUCT WITHOUT NOTICE. AND DOES NOT ASSUME OBLIGATION TO UPDATE PREVIOUSLY MANUFACTURED PRODUCTS.
Some states do not allow the exclusion of incidental or consequential damages, or limitations on how long an implied warranty lasts, so the above limitations or exclusions may not apply to you. This warranty gives you specific legal rights, and you may also have other rights which vary from state to state.
SECTION 5: CUSTOMER RESPONSIBILITIES
The product must exhibit reasonable care, maintenance, operation, storage and general upkeep as written in the maintenance section of the operator’s manual. Should an operational problem or failure occur, the product should not be used, but delivered as is to an authorized Husqvarna dealer for evaluation. Proof of purchase, as explained in Section 6, rests solely with the customer.
SECTION 6: PROCEDURE TO OBTAIN WARRANTY CONSIDERATION
It is the Owner’s and Dealer’s responsibility to make certain that the Warranty Registration Card is properly filled out and mailed to Husqvarna. This card should be mailed within ten (10) days from the date of purchase in order to confirm the warranty and to facilitate post-sale se1Vice.Proof of purchase must be presented to the authorized Husqvarna dealer in order to obtain warranty se1Vice. This proof must include date purchased, model number, serial number, and complete name and address of the selling dealer. To obtain the benefit of this warranty, the product believed to be detective must be delivered to an authorized Husqvarna dealer in a timely manner, no later than thirty (30) days from date of the operational problem or failure. The product must be delivered at the owner’s expense. Pick-up and delivery charges are not covered by this warranty. An authorized Husqvarna dealer can be normally located through the “Yellow Pages” of the local telephone directory or by calling i -800-438- 7297 for a dealer in your area.
Husqvarna
7349 Statesville Road
CHARLOTTE, NC 28269
U.S. EPA/ CALIFORNIA/ ENVIRONMENT CANADA EMISSION CONTROL WARRANTY STATEMENT
YOUR WARRANTY RIGHTS AND OBLIGATIONS:
The U-8. Environmental Protection Agency, California Air Resources Board, Environment Canada and HUSQVARNA are pleased to explain the emissions control system warranty on your year 2007 and later small off-road engine. In California, all small off-road engines must be designed, built, and equipped to meet the State’s stringent anti-smog standards. HUSQVARNA must warrant the emission control system on your small off-road engine for the periods of time listed below provided there has been no abuse, neglect, or improper maintenance of your small off-road engine. Your emission control system includes parts such as the carburetor, the ignition system and the fuel tank (California only). Where a warrantable condition exists, HUSQVARNA will repair your small off-road engine at no cost to you. Expenses covered under warranty include diagnosis, parts and labor_
MANUFACTURER’S WARRANTY COVERAGE:
If any emissions related part on your engine (as listed under Emissions Control Warranty Parts List) is defective or a defect in the materials or workmanship of the engine causes the failure of such an emission related part, the part will be repaired or replaced by HUSOVARNA
OWNER’S WARRANTY RESPONSIBILITIES:
As the small off-road engine owner, you are responsible for the performance of the required maintenance listed in your operator’s manual. HUSQVARNA recommends that you retain all receipts covering maintenance on your small off-road engine, but HUSOVARNA cannot deny warranty solely for the lack of receipts or for your failure to ensure the performance of all scheduled maintenance. As the small off-road engine owner, you should be aware that HLSQVARNA may deny you warranty coverage if your small off-road engine or a part of it has failed due to abuse, neglect, improper maintenance, unapproved modifications, or the use of parts not made or approved by the original equipment manufacturer. You are responsible for presenting your small off-road engine to a HUSQVARNA authorized repair center as soon as a problem exists. Warranty repairs should be completed in a reasonable amount of time, rot to exceed 30 days. If you have any questions regarding your warranty rights and responsibilities, you should contact your nearest authorized service center or call HUSQVARNA at 1-800-438-7297.
WARRANTY COMMENCEMENT DATE:
The warranty period begins on the date the small off-road engine is purchased. LENGTH OF COVERAGE:
This warranty shall be for a period of two years from the initial date of purchase. WHAT IS COVERED: REPAIR OR REPLACEMENT OF PARTS.
Repair or replacement of any warranted part will be pertormed at no charge to the owner at an approved HUSQVARNA servicing center. If you have any questions regarding your warranty rights and responsibilities, you should contact your nearest authorized service center or call HUSOVARNA at 1-800-438-7297.
WARRANTY PERIOD:
Any warranted part which is not scheduled for replacement as required maintenance, or which is scheduled only for regular inspection to the effect of “repair or replace as necessary” shall be warranted for 2 years. Any warranted part which is scheduled for replacement as required maintenance shall be warranted for the period of time up to the first scheduled replacement point for that part.
DIAGNOSIS:
The owner shall not be charged for diagnostic labor which leads to the determination that a warranted part is defective if the diagnostic work is performed at an approved HUSQVARNA servicing center. CONSEQUENTIAL DAMAGES: HUSOVARNA may be liable for damages to other engine components caused by the failure of a warranted part still under warranty. WHAT IS NOT COVERED:
All failures caused by abuse, neglect, or improper maintenance are not covered. ADD-ON OR MODIFIED PARTS:
The use of add-on or modified parts can be grounds for disallowing a warranty claim. HUSO VARNA is not liable to cover failures of warranted parts caused by the use of add-on or modified parts.
HOW TO FILE A CLAIM:
If you have any questions regarding your warranty rights and responsibilities, you should contact your nearest authorized service center or call HUSQVARNA at 1-800-438-7297.
WHERE TO GET WARRANTY SERVICE:
Warranty services or repairs shall be provided at all HUSQVARNA service centers. Call 1-800-438-7297.
MAINTENANCE, REPLACEMENT AND REPAIR OF EMISSION RELATED PARTS:
Any HUSOVARNA approved replacement part used in the performance of any warranty maintenance or repair on emission related parts will be provided without charge to the owner if the part is under warranty.
EMISSION CONTROL WARRANTY PARTS LIST:
Carburetor, Ignition System: Spark Plug
(covered up to maintenance schedule), Ignition Module, Muffler including Catalyst, Fuel Tank (California only).
MAINTENANCE STATEMENT:
The owner is responsible for the performance of all required maintenance as defined in the operator’s manual.
































