TORO 51821 Brushless Leaf Blower

Product Information Flex-Force Power SystemTM 60V MAX Axial Blower
The Flex-Force Power SystemTM 60V MAX Axial Blower is designed for residential homeowners to move leaf-like debris outdoors. It uses Toro 60V lithium-ion battery packs that are designed to be charged only by Toro 60V lithium-ion battery chargers. Model 51821T does not include a battery or a charger. The blower is equipped with a safety-alert symbol that identifies important safety messages to prevent accidents. The manual uses DANGER, WARNING, and CAUTION to indicate the level of hazard associated with an unsafe action or situation.
Product Usage Instructions
- Register the product at www.Toro.com and write down the model and serial numbers in the space provided. The model and serial numbers are located on the product as shown in Figure 1.
- Use only Toro 60V lithium-ion battery packs and chargers that are intended for use with this blower. Using other products for purposes other than their intended use could prove dangerous to you and bystanders.
- Read the safety instructions carefully before using the blower and follow them to avoid injury and product damage.
- Charge the battery pack fully before using the blower. Insert the battery pack into the blower until it clicks into place.
- Press and hold the trigger to start the blower. Adjust the speed using the speed control dial.
- Move the blower back and forth to blow leaf-like debris outdoors.
- Release the trigger to stop the blower.
- Clean the blower after each use. Remove the battery pack and wipe the blower with a clean, damp cloth. Do not use solvents or harsh chemicals to clean the blower.
- Store the blower in a dry place away from children and pets. Remove the battery pack before storing the blower.
- Contact an Authorized Service Dealer or Toro Customer Service if you need assistance, genuine Toro parts, or additional information.
For assistance, please see www.Toro.com/support for instructional videos or contact 1-888-384-9939 before returning this product.
WARNING
CALIFORNIA Proposition 65 Warning The power cord on this product contains lead, a chemical known to the State of California to cause birth defects or other reproductive harm. Wash hands after handling. Use of this product may cause exposure to chemicals known to the State of California to cause cancer, birth defects, or other reproductive harm.
Introduction
This blower is intended to be used by residential homeowners to move leaf-like debris as needed outdoors. It is designed to use Toro 60V lithium-ion battery packs. These battery packs are designed to be charged only by Toro 60V lithium-ion battery chargers. Using these products for purposes other than their intended use could prove dangerous to you and bystanders. Model 51821T does not include a battery or a charger. Read this information carefully to learn how to operate and maintain your product properly and to avoid injury and product damage. You are responsible for operating the product properly and safely. Visit www.Toro.com for more information, including safety tips, training materials, accessory information, help finding a dealer, or to register your product Whenever you need service, genuine Toro parts, or additional information, contact an Authorized Service Dealer or Toro Customer Service and have the model and serial numbers of your product ready. Figure 1 identifies the location of the model and serial numbers on the product. Write the numbers in the space provided.
Important: With your mobile device, you can scan the QR code (if equipped) on the serial number plate to access warranty, parts, and other product information.

Model and serial number location.
- Model No.
- Serial No.
Safety-Alert Symbol
The safety-alert symbol (Figure 2) shown in this manual and on the machine identifies important safety messages that you must follow to prevent accidents.
Safety-alert symbol
The safety-alert symbol appears above information that alerts you to unsafe actions or situations and is followed by the word DANGER, WARNING, or CAUTION.
- DANGER indicates an imminently hazardous situation which, if not avoided, will result in death or serious injury.
- WARNING indicates a potentially hazardous situation which, if not avoided, could result in death or serious injury.
- CAUTION indicates a potentially hazardous situation which, if not avoided, may result in minor or moderate injury.
This manual uses two other words to highlight information. Important calls attention to special mechanical information and Note emphasizes general information worthy of special attention.
Safety
IMPORTANT SAFETY INSTRUCTIONS
WARNING
When using electric gardening tools, always read and follow basic safety warnings and instructions to reduce the risk of fire, electric shock, and personal injury, including the following:
Read All Instructions
Training
- The operator of the tool is responsible for any accidents or hazards occurring to others or their property.
- Do not allow children to use or play with the tool, battery pack, or the battery charger; local regulations may restrict the age of the operator.
- Do not allow children or untrained people to operate or service this device. Allow only people who are responsible, trained, familiar with the instructions, and physically capable to operate or service the device.
- Before using the tool, battery pack, and battery charger, read all the instructions and cautionary markings on these products.
- Become familiar with the controls and proper use of the tool, battery pack, and battery charger.
Preparation
- Keep bystanders and children away from the operating area.
- Use only the battery pack specified by Toro. Using other accessories and attachments may increase the risk of injury and fire.
- Plugging the battery charger into an outlet that is not 120 V can cause a fire or electric shock. Do not plug the battery charger into an outlet other than 120 V. For a different style of connection, use an attachment plug adapter of the proper configuration for the power outlet if needed.
- Do not use a damaged or modified battery pack or battery charger, which may exhibit unpredictable behavior that results in fire, explosion, or risk of injury.
- If the supply cord to the battery charger is damaged, contact an Authorized Service Dealer to replace it.
- Charge the battery pack with only the battery charger specified by Toro. A charger suitable for one type of battery pack may create a risk of fire when used with another battery pack.
- Charge the battery pack in a well-ventilated area only.
- Follow all charging instructions and do not charge the battery pack outside of the temperature range specified in the instructions. Otherwise, you may damage the battery pack and increase the risk of fire.
- Do not operate the tool without all guards and other safety protective devices in place and functioning properly on the tool.
- Dress properly—Wear appropriate clothing, including eye protection; long pants; substantial, slip-resistant footwear; and hearing protection. Tie back long hair and do not wear loose clothing or loose jewelry that can get caught in moving parts. Wear a dust mask in dusty operating conditions.
Operation
- Avoid dangerous environments—Do not use the tool in rain or in damp or wet locations.
- Use the proper tool for your application—Using the tool for purposes other an its intended use could prove dangerous to you and bystanders.
- Prevent unintentional starting—Ensure that the switch is in the OFF position before connecting to the battery pack and handling the tool. Do not carry the tool with your finger on the switch or energize the tool with the switch in the ON position.
- Operate the tool only in daylight or good artificial light.
- Remove the battery pack from the tool before adjusting it or changing accessories.
- Keep your hands and feet away from the opening and all moving parts.
- Stop the tool, remove the battery pack from the tool, and wait for all movement to stop before adjusting, servicing, cleaning, or storing the tool.
- Remove the battery pack from the tool whenever you leave it unattended.
- Do not force the tool—Allow the tool to do the job better and safer at the rate for which it was designed.
- Do not overreach—Keep proper footing and balance at all times, especially on slopes. Walk, never run with the tool.
- Stay alert—Watch what you are doing and use common sense when operating the tool. Do not use the tool while ill, tired, or under the influence of alcohol or drugs.
- Ensure that the ventilation openings are kept clear of debris.
- Do not insert any object into the opening or use the tool with a blocked opening. Keep the opening free from dust, lint, hair, or anything else that could reduce the air flow.
- Use extra care when using the tool to clean stairways.
- Under abusive conditions, the battery pack may eject liquid; avoid contact. If you accidently come into contact with the liquid, flush with water. If the liquid contacts your eyes, seek medical help. Liquid ejected from the battery pack may cause irritation or burns.
- Do not expose a battery pack or tool to fire or excessive temperature. Exposure to fire or temperature above 130°C (265°F) may cause explosion.
- CAUTION—A mistreated battery pack may present a risk of fire, explosion, or chemical burn.
- Do not disassemble the battery pack.
- Replace the battery pack with a genuine Toro battery pack only; using another type of battery pack may cause a fire or risk of injury.
- Keep battery packs out of the reach of children and in the original packaging until you are ready to use them.
Maintenance and Storage
- Maintain the tool with care—Keep it clean and in good repair for best performance and to reduce the risk of injury. Follow the instructions for lubricating and changing accessories. Keep handles dry, clean, and free from oil and grease.
- When the battery pack is not in use, keep it away from metal objects such as paper clips, coins, keys, nails, and screws that can make a connection from one terminal to another. Shorting the battery terminals may cause burns or a fire.
- Keep your hands and feet away from moving parts.
- Stop the tool, remove the battery pack from the tool, and wait for all movement to stop before adjusting, servicing, cleaning, or storing the tool.
- Check the tool for damaged parts—If there are damaged guards or other parts, determine whether it will operate properly. Check for misaligned and binding moving parts, broken parts, mounting, and any other condition that may affect its operation. Unless indicated in the instructions, have an Authorized Service Dealer repair or replace a damaged guard or part.
- Keep all fasteners on the tool tight.
- Do not attempt to service or repair the tool, battery pack, or battery charger except as indicated in the instructions. Have an Authorized Service Dealer perform service using identical replacement parts to ensure that the product is safely maintained.
- Store an idle tool indoors in a place that is dry, secure, and out of the reach of children.
Safety and Instructional Decals
Safety decals and instructions are easily visible to the operator and are located near any area of potential danger. Replace any decal that is damaged or missing
144-3094

- The battery pack is charging.
- The battery pack is fully charged
- The battery pack is over or under the appropriate temperature range.
- Battery pack charging fault
144-3098

144-3096

144-3081

- Warning—read the Operator’s Manual; stay away from moving parts; keep all guards and shields in place; wear eye protection; do not expose to rain.
- Warning—keep bystanders away from the machine in all directions.
- Thrown object hazard—keep bystanders away.
144-3082

- Warning—read the Operator’s Manual; stay away from moving parts; keep all guards and shields in place; wear eye protection; do not expose to rain.
- Warning—keep bystanders away from the machine in all directions.
- Thrown object hazard—keep bystanders away.
137-9461

Battery charge status
140-8475

- Read the Operator’s Manual.
- Call2Recycle® battery recycling program
- Keep away from open fire or flames.
- Do not expose to rain.
Setup
Important: The battery pack is not fully charged when you purchase it. Before using the tool for the first time, refer to Charging the Battery Pack (page 11).
Assembling the Blower
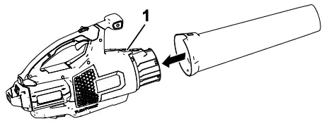
Slide the blower tube onto the blower housing. You may need to press down on the tube latch for the blower tube to lock into place (Figure 3).

Tube latch
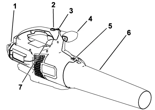
Product Overview

- Battery and battery cavity
- Turbo boost button
- Speed lock
- Handle knob
- Blower tube latch
- Blower tube
- Variable-speed trigger

- Battery charger Model 88610 (included with Model 51821)
- Battery pack Model 88620 (included with Model 51821)
Specifications
| Model | 51821, 51821T |
| Rated Voltage | 60V DC maximum, 54 VDC nominal usage |
| Charger Type | Toro 60V lithium-ion chargers |
| Battery Type | Toro 60V lithum-ion batteries |
Appropriate Temperature Ranges
| Charge/ store the battery pack at | 5°C (41°F) to 40°C (104°F)* |
| Use the battery pack at | -30°C (-22°F) to 49°C (120°F) |
| Use the blower at | 0°C (32°F) to 49°C (120°F) |
Charging time will increase if you do not charge the battery within this range. Store the tool, battery pack, and battery charger in an enclosed clean, dry area.
Attachments/Accessories
A selection of Toro approved attachments and accessories is available for use with the machine to enhance and expand its capabilities. Contact your Authorized Service Dealer or authorized Toro distributor or go to www.Toro.com for a list of all approved attachments and accessories. To ensure optimum performance and continued safety certification of the machine, use only genuine Toro replacement parts and accessories. Replacement parts and accessories made by other manufacturers could be dangerous.
Operation
WARNING
The blower can throw debris, possibly causing serious personal injury to you or bystanders.
- Do not blow hard objects, such as nails or bolts.
- Do not operate the blower near bystanders or pets.
- Be careful of blowing direction (i.e., blow away from bystanders, windows, automobiles, etc.). Only use as much speed as required.
- Use extra care when cleaning debris from stairs or other tight areas.
Starting the Blower
Important: Use the battery pack only in temperatures that are within the appropriate range; refer to Specifications (page 9).
- Make sure that the vents on the blower are clear of any dust and debris.
- Align the cavity on the battery pack with the tongue in the handle housing (Figure 6).
- Grasp the handle, and push the battery pack into the handle until the latch locks into place (Figure 6).

- Battery latch
- To start the blower, squeeze the variable-speed trigger (Figure 7).
Note: Engage the speed lock to keep the machine on without pressing the variable-speed trigger (Figure 7).

- Speed lock
- Turbo boost button
- Variable-speed trigger
- Battery latch
- Blower venting areas
Adjusting the Air Speed of the Blower
To achieve maximum performance (air speed), fully depress the variable-speed trigger, then press and hold the turbo boost button for the desired amount of time (Figure 7). To adjust the air speed as you blow, use the variable-speed trigger (Figure 7). To maintain the current air speed, engage the speed lock (Figure 7).
Shutting Off the Blower
To shut off the blower, disengage the speed lock (if in use) and release the variable-speed trigger (Figure 7).
Important: After stopping the blower, do not leave the speed lock engaged with the battery pack in the blower.
Whenever you are not using the blower or are transporting the blower to or from the work area, remove the battery pack.
Removing the Blower Tube
Press down on the tab latch to separate the blower tube from the blower (Figure 8).

Tube latch
Removing the Battery from the Blower
Press the battery latch to release the battery pack and slide the battery pack out of the blower (Figure 9).

Charging the Battery Pack
Important: The battery pack is not fully charged when you purchase it. Before using the tool for the first time, place the battery pack in the charger and charge it until the LED display indicates the battery pack is fully charged. Read all safety precautions.
Important: Charge the battery pack only in temperatures that are within the appropriate range; refer to Specifications (page 9).
Note: At any time, press the battery-charge-indicator button on the battery pack to display the current charge (LED indicators).
- Ensure that the vents on the battery and charger are clear of any dust and debris.

- Battery pack cavity
- Battery pack venting areas
- Battery pack terminals
- Battery-charge-indicator button
- Line up the charger with the cavity on the back of the battery pack
- Slide the charger into the battery pack until it is fully seated (Figure 10).
- To remove the charger, slide the charger backward out of the battery.
- Refer to the following table to interpret the LED indicator light on the battery charger
| Indicator light | Indicates |
| Off | No battery pack inserted |
| Green blinking | Battery pack is charging |
| Green | Battery pack is charged |
| Red | Battery pack and/or battery charger is over or under the appropriate temperature range |
| Red blinking | Battery pack charging fault* |
Refer to Troubleshooting (page 13) for more information.
Important: The battery can be left on the charger for short periods between uses. If the battery will not be used for longer periods, remove the battery from the charger; refer to Storage (page 12).
Storage
Important: Store the tool, battery pack, and charger only in temperatures that are within the appropriate range; refer to Specifications (page 9).
Important: If you are storing the battery pack for the off-season, remove the battery pack from the tool and charge the battery pack until 2 or 3 LED indicators turn green on the battery. Do not store a fully charged or fully depleted battery. When you are ready to use the tool again, charge the battery pack until the left indicator light turns green on the charger or all 4 LED indicators turn green on the battery.
- Disconnect the product from the power supply (i.e., remove the plug from the power supply or the battery pack) and check for damage after use.
- Do not store the tool with the battery pack installed.
- Clean all foreign material from the product.
- When not in use, store the tool, battery pack, and battery charger out of the reach of children.
- Keep the tool, battery pack, and battery charger away from corrosive agents, such as garden chemicals and de-icing salts.
- To reduce the risk of serious personal injury, do not store the battery pack outside or in vehicles.
- Store the tool, battery pack, and battery charger in an enclosed clean, dry area.
Preparing the Battery Pack for Recycling
Important: Upon removal, cover the terminals of the battery pack with heavy-duty adhesive tape. Do not attempt to destroy or disassemble the battery pack or remove any of its components
Lithium-ion battery packs labeled with the Call2Recycle seal can be recycled at any participating retailer or battery recycling facility in the Call2Recycle program (US and Canada only). To locate a participating retailer or facility closest to you, please call 1-800-822-8837 or visit www.call2recycle.org. If you cannot locate a participating retailer or facility nearby, or if your rechargeable battery is not labeled with the Call2Recycle seal, please contact your local municipality for more information on how to responsibly recycle the battery. If you are located outside of the US and Canada, please contact your authorized Toro distributor.
Troubleshooting
Perform only the steps described in these instructions. All further inspection, maintenance, and repair work must be performed by an authorized service center or a similarly qualified specialist if you cannot solve the problem yourself. Always remove the battery from the tool when troubleshooting, inspecting, maintaining, or cleaning the tool.
| Problem | Possible Cause | Corrective Action |
| The tool does not start. | 1. The battery is not fully installed in the tool.
2. The battery pack is not charged.
3. The battery pack is damaged. 4. There is another electrical problem with the tool. | 1. Remove and then replace the battery into the tool, making sure that it is fully installed and latched. 2. Remove the battery pack from the tool and charge it. 3. Replace the battery pack. 4. Contact an Authorized Service Dealer. |
| The tool does not reach full power. | 1. The battery pack charge capacity is too low. 2. The air vents are blocked. | 1. Remove the battery pack from the tool and fully charge the battery pack. 2. Clean the air vents. |
| The tool does not run or does not run continuously. | 1. There is moisture on the leads of the battery pack. 2. The battery is not fully installed in the tool.
3. The battery pack is low on charge. | 1. Allow the battery pack to dry or wipe it dry. 2. Remove and then replace the battery in the tool, ensuring that it is fully installed and latched. 3. Charge the battery pack. |
| The speed lock does not hold when engaged. | 1. The speed lock screw is loose. | 1. Tighten the speed lock screw by turning the speed lock screw ¼ turn. If the speed lock still does not hold when engaged, turn the speed lock screw an additional ¼ turn. |
| The battery pack loses charge quickly. | 1. The battery pack is over or under the appropriate temperature range. | 1. Move the battery pack to a place where it is dry and the temperature is between 5°C (41°F) and 40°C (104°F). |
| The battery charger is not working. | 1. The battery charger is over or under the appropriate temperature range.
2. The outlet that the battery charger is plugged into does not have power. | 1. Unplug the battery charger and move it to a place where it is dry and the temperature is between 5°C (41°F) and 40°C (104°F). 2. Contact your licensed electrician to repair the outlet. |
| The LED indicator light on the battery charger is red. | 1. The battery charger and/or battery pack is over or under the appropriate temperature range. | 1. Unplug the battery charger and move the battery charger and battery pack to a place where it is dry and the temperature is between 5°C (41°F) and 40°C (104°F). |
| Problem | Possible Cause | Corrective Action |
| The LED indicator light on the battery charger is blinking red. | 1. There is an error in the communication between the battery pack and the charger.
2. The battery pack is weak. | 1. Remove the battery pack from the battery charger, unplug the battery charger from the outlet, and wait 10 seconds. Plug the battery charger into the outlet again and place the battery pack on the battery charger. If the LED indicator light on the battery charger is still blinking red, repeat this procedure again. If the LED indicator light on the battery charger is still blinking red after 2 attempts, properly dispose of the battery pack at a battery recycling facility. 2. Properly dispose of the battery pack at a battery recycling facility. |
California Proposition 65 Warning Information
Prop 65 applies to any company operating in California, selling products in California, or manufacturing products that may be sold in or brought into California. It mandates that the Governor of California maintain and publish a list of chemicals known to cause cancer, birth defects, and/or other reproductive harm. The list, which is updated annually, includes hundreds of chemicals found in many everyday items. The purpose of Prop 65 is to inform the public about exposure to these chemicals.
Prop 65 does not ban the sale of products containing these chemicals but instead requires warnings on any product, product packaging, or literature with the product. Moreover, a Prop 65 warning does not mean that a product is in violation of any product safety standards or requirements. In fact, the California government has clarified that a Prop 65 warning “is not the same as a regulatory decision that a product is ‘safe’ or ‘unsafe.’” Many of these chemicals have been used in everyday products for years without documented harm. For more information, go to https://oag.ca.gov/prop65/faqs-view-all. A Prop 65 warning means that a company has either (1) evaluated the exposure and has concluded that it exceeds the “no significant risk level”; or (2) has chosen to provide a warning based on its understanding about the presence of a listed chemical without attempting to evaluate the exposure.
Prop 65 warnings are required under California law only. These warnings are seen throughout California in a wide range of settings, including but not limited to restaurants, grocery stores, hotels, schools, and hospitals, and on a wide variety of products. Additionally, some online and mail order retailers provide Prop 65 warnings on their websites or in catalogs.
Prop 65 standards are often more stringent than federal and international standards. There are various substances that require a Prop 65 warning at levels that are far lower than federal action limits. For example, the Prop 65 standard for warnings for lead is 0.5 μg/day, which is well below the federal and international standards.
- Products sold in California require Prop 65 labelling while similar products sold elsewhere do not.
- A company involved in a Prop 65 lawsuit reaching a settlement may be required to use Prop 65 warnings for its products, but other companies making similar products may have no such requirement.
- The enforcement of Prop 65 is inconsistent.
- Companies may elect not to provide warnings because they conclude that they are not required to do so under Prop 65; a lack of warnings for a product does not mean that the product is free of listed chemicals at similar levels.
Why does the manufacturer include this warning?
the manufacturer has chosen to provide consumers with as much information as possible so that they can make informed decisions about the products they buy and use. the manufacturer provides warnings in certain cases based on its knowledge of the presence of one or more listed chemicals without evaluating the level of exposure, as not all the listed chemicals provide exposure limit requirements. While the exposure from the manufacturer products may be negligible or well within the “no significant risk” range, out of an abundance of caution, the manufacturer has elected to provide the Prop 65 warnings. Moreover, if the manufacturer does not provide these warnings, it could be sued by the State of California or by private parties seeking to enforce Prop 65 and subject to substantial penalties.














