DELTACO GAMING GAM-134 Desk Mount Arm Multi-Color LEDS

- Read the entire instruction manual before you start installation and assembly. If you have any questions regarding any of the instructions or warnings, please contact your retailer for assistance.
- Caution: Usage together with products heavier than the rated weight may result in instability which can cause possible injury.
- The product must be attached as specified in assembly instructions. Improper installation may result in serious injury.
- Safety gear and proper tools must be used. This product should only be installed by a qualified person.
- Make sure that the supporting surface will safely support the combined weight of the equipment and all attached hardware and components.
- Use the mounting screws provided and do not over tighten the mounting screws.
- This product contains small items that could be a choking hazard if swallowed. Keep these items away from children.
- This product is intended for indoor use only.
Using this product outdoors could lead to product failure and personal injury. - Important: Ensure that you have received all parts according to the component checklist prior to installation. If any parts are missing or faulty, contact Deltaco or the retailer where you purchased the product.
- Caution: Do not exceed the marked max weight.
Serious injury or property damage may occur! - Check that the product is secure and safe to use,at regular intervals (at least every three months).
WHAT IN THE BOX

OVERVIEW

HARDWARE TOOLS

INSTRUCTION


Warning: Stored energy

Hold the monitor arm firmly with 1 hand on each opposite side. Ask another person to cut off the cable tie. Slowly release the pressure until it is fully extended.



Adjustments

Hold the monitor arm horizontally to avoid damage to monitors or monitor arm. Ask for help from a 2nd person if needed.

1f the monitor arm is falling, turn it Counterclockwise until it stays in place.

IF the monitor arm is rising too much, turn it clockwise until it stays in place.

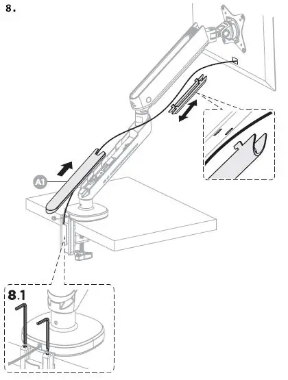
Storage for hex keys.

Caution: Do not push the monitor arm outside the arrow s area. To avoid tipping over.

If the monitor does not stop at desired position, tighten the screws.
It the monitor does not stop at desired position, tighten the screws.
Control the LEDS with the remote control. Place the remote control on the magnet when it is not being used. To connect to a USB power source you must first connect the USB cable as in step(1), figure 10C.
Adjustments

- On/off
- Increase or decrease LED speed.
- Next or previous mode.
- Press 1 time: automatic mode. Press 7 times: mode with 7 static colours.
- Increase or decrease brightness.
- Pair button: press and hold for 5 seconds to pair or unpair the remote control to the product.
The product will flash green 3 times to confirm the pairing. When you unpair it will flash white 3 times. Note: The product is already paired, so pairing is not needed. However, it could be used for troubleshooting. - Set button: While the product is in automatic mode (4.), it changes between different LED loops. Press the set button (7.) and then the pair button (6.) to keep repeating the current LED loop.
- Static colours.
SIMPLIFIED EU DECLARATION OF CONFORMITY
The simplified EU declaration of conformity referred to in Article 10(9) shall be provided as follows:
Hereby, DistIT Services AB declares that the radio equipment type wireless device is in compliance with Directive 2014/53/EU. The full text of the
EU declaration of conformity is available at the following internet address:
All DoC’s can be found the product’s specific website,to access it go to: https://www.deltaco.se/produlkter/xx (just change xx to the article number, for example
https://www.deltaco.se/produkter/TWS-111)
Then click on the tab “Info/Certifikat”.
www.deltacogaming.com/Made in China

















