DoorBird A1121 IP Access Control Device Instruction Manual
INSTALLATION MANUAL
Read these instructions carefully before starting to use any components. Keep the manual so you can refer to it at a later date if required. If you hand over the device to other persons for use, please hand over the operating manual as well.
You can always find the most up-to-date version of th installation manual on www.doorbird.com/support
To make things easier we use the term “device” for the product “IP Access Control Device A1121” and “mobile device” for a smartphone or tablet.
Liability
Every care has been taken in the preparation of this document. Please inform Bird Home Automation GmbH of any inaccuracies or omissions. Bird Home Automation GmbH cannot be held responsible for any technical or typographical errors and reserves the right to make changes to the product and manuals without prior notice. Bird Home Automation GmbH makes no warranty of any kind with regard to the content of this document, including, but not limited to, the implied warranties of merchantability and fitness for a particular purpose. Bird Home Automation GmbH shall neither be liable nor responsible for incidental or consequential damages in connection with the furnishing, performance or use of this material. This product is only to be used for its intended purpose.
Equipment Modifications
This equipment must be installed and used in strict accordance with the instructions given in the user documentation. This equipment contains no components that require service by the user.
Unauthorized equipment changes or modifications will invalidate all applicable regulatory certifications and approvals.
Symbols used
Danger: Indicates a hazardous situation which, if not avoided, will result in death or serious injury.
Warning: Indicates a hazardous situation which, if not avoided, could result in death or serious injury.
Caution: Indicates a hazardous situation which, if not avoided, could result in minor or moderate injury.
Notice: Indicates a situation which, if not avoided, could result in damage to property.
Important: Indicates significant information which is essential for the product to function correctly.
Note: Indicates useful information which helps in getting the most out of the product.
Hazard information
WARNING
- Mounting, installation and servicing work on electrical devices may only be performed by a qualified eletrician. Failure to observe this regulation could result in the risk of serious damage to health or fatal injury due to electric shocks.
- Devices with 110-240 V connection: The device may only be connected to an easily accessible power socket outlet. The mains adapter must be pulled out if a hazard occurs.
- For power supply, only use the original plugin mains adapter delivered with the device, separately available DIN rail power supplies or a recommended PoE-Switch/PoE-Injector as specified in this manual.
- Because of electrostatic charging, direct contact with the circuit board can result in destruction of the device. Direct contact with the circuit board must therefore be avoided at any time.
- Observe the EN 60065 resp. EN 60950 resp. EN 62368 standard.
- Do not use the device if there are signs of damage to the housing, control elements or connecting sockets, for example, or if it demonstrates a malfunction. If you have any doubts, please have the device checked by an authorized expert.
- Do not open the device. This voids the warranty of the device. The device does not contain any parts that can be maintained by the user. In the event of an error, please have the device checked by an authorized expert.
- For safety, approval and licensing reasons (CE/ FCC/IC etc.), unauthorized change and/or modification of the device is not permitted.
- The device is not a toy: do not allow babies and children to play with it.
- To avoid the danger of suffocation, keep any packing materials away from babies and children. Plastic films/bags, pieces of polystyrene, etc. are not a toy and can be dangerous in the hands of a child. Discard any packing materials immediately after removing the product. Do not reuse packing materials.
- Always lay cables in such a way that they do not become a risk to people and domestic animals.
- Voltage is applied to parts within the equipment. Do not touch any parts that are not associated with the installation, wiring, or connection. Electric shock could result.
- On devices which are not marked as weatherproof: Keep the device away from water or any other liquid.
- Do not install or make any wire terminations while power supply is plugged in. It can cause eletric shock or damage to the device.
- Before turning on power, make sure wires are not crossed or shorted. If not, fire or eletric shock could result.
- High voltage may be present internally. Do not open the device. Electric shock could result.
- The device is not of explosion-proof. Do not install or use near gases or flammable materials. Fire or explosion could result.
- Do not install two power supplies in parallel to a single input. Fire or damage to the device could result. Be sure to connect a single power supply to the device.
- Do not connect any terminal on the device to an AC power line. Fire or electric shock could result.
- Keep AC cord from being marred or crushed. If the AC cord is fractured, fire or electric shock could result.
- Do not plug or unplug with wet hands. Electric shock could result.
- Do not put any metal or flammable material into the device. Fire, electric shock, or device trouble could result.
- Existing wiring may contain high voltage AC electricity. Damage to the device or electric shock could result. Wiring and installation must be done by a qualified eletrician.
- When mounting the device on a wall or ceiling, install the device in a convenient location, but not where it could be jarred or bumped. Injury could result.
- On devices with ground terminals, connect to an earth ground. Otherwise fire or malfunction could result.
- On devices with plastic or real glass, do not put high pressure on the glass. If fractured, injury could result.
- On devices with LCD, if LCD is punctured, do not allow contact with the liquid crystal inside.
Injury could result. If necessary, gargle your mouth and clean your eyes or skin with clear water for at least 15 minutes and consult your doctor. - Do not put anything on the device or cover the device with cloth, silicone, glue, coating separate covering etc. Fire or device issues could result.
- Do not install the device in any of the following locations. Fire, electric shock, or device trouble could result.
- Places under direct sunlight or places near heating equipment that varies in temperature.
- Places subject to dust, oil, chemicals, hydrogen sulfide (hot spring).
- Places subject to moisture and humidity extremes, such as bathrooms, cellars, greenhouses, etc.
- Places where the temperature is very low, such as inside a refrigerated area or in front of an air conditioner.
- Places subject to steam or smoke (e.g. near heating or cooking surfaces).
- Where noise generating devices such as dimmer switches or inverter electrical appliances are closeby.
- Locations subject to frequent vibration or impact.
- On devices with intercom, be sure to perform a call test with low audio volume on both intercom devices. A sudden call etc. may arrive causing for example damage to your ear.
- If the device does not operate properly, unplug the power supply.
- All devices which are not marked as weatherproof are designed for indoor use only. Do not use outdoor.
- On devices which are marked weather-proof:
Do not spray with high-pressure water. Device issues could result. - We do not assume any liability for damage to property or personal injury caused by improper use or the failure to observe the hazard information. In such cases, any claim under warranty ceases. For consequential damages, we assume no liability!
Safety instructions

- The device shall be used in compliance with local laws and regulations.
- Store the device in a dry and ventilated environment.
- Avoid exposing the device to shocks or heavy pressure.
- Do not install the device on unstable brackets, surfaces or walls. Make sure the material is strong enough to support the weight of the device.
- Use only applicable tools when installing the device. Using excessive force with tools could cause damage to the device.
- Do not use chemicals, caustic agents, or aerosol cleaners.
- Use a clean dry cloth for cleaning.
- Use only accessories that comply with technical specification of the device. These can be provided by Bird Home Automation GmbH.
- Use only spare parts provided by or recommended by Bird Home Automation GmbH.
- Do not attempt to repair the device by yourself. Contact Bird Home Automation GmbH for service matters.
- Keep the device more than 1 m (3.3‘) away from microwave, radio, TV, wireless router and any other wireless devices.
- On devices with intercom or built-in speaker or built-in microphone or signal transmission functions, keep the wires more than 30 cm (12‘‘) away from AC 100-240 V wiring. AC induced noise and/or device malfunction could result.
- Install the device in an area that will be accessible for future inspections, repairs and maintenance.
- If the device is used close to a cellular phone, the device may malfunction.
- The device can be damaged if dropped. Handle with care.
- The device turns inoperative during power failure.
- On devices with intercom or built-in speaker or built-in microphone, in areas where cellular or Radio / TV broadcasting station antennas are closeby, the device may be affected by radio frequency interference.
- On devices with LCD screen, it must be noted in advance that the LCD panel, though manufactured with very high precision techniques, inevitably will have a very small portion of its picture elements always lit or not lit at all. This is not considered a device malfunction.
- On devices with intercom, due to the environmental sound around the device, it may hinder smooth communication, but this is not a malfunction.
- On devices with Username/Password, the
Username/Password to access the device is the customer‘s responsibility. Make sure to use a password that cannot be easily guessed by a third party. We recommend that you change the Password on a regular basis. - We will, under no circumstances, be liable for damage that occurs due to failures in power supply, network equipment or terminal devices; failures due to Internet providers and cellular network providers; failures such as disconnected lines and other losses in communication, which makes it impossible to provide this service as well as in any way delay this service due to any other causes outside of our responsibility; or if an error or missing data occurs during transmission.
Information on disposal for users of waste electrical & electronic equipment (private household)
This symbol on the products and/or accompanying documents means that used electrical and electronic products should not be mixed with general household waste. For proper treatment, recovery and recycling, please take these products to designated collection points, where they will be accepted an a free of charge basis. Alternatively, in some countries you may be able to return your products to your local retailer upon th purchase of an equivalent new product. Disposing of this product correctly will help to save valuable resources and prevent any potential negative effects on human health and the environment which could otherwise arise from inappropriate waste handling.
Please contact your local authority for further details of your nearest designated collection point. Penalties may be applicable for incorrect disposal of this waste, in accordance with national legislation.
Information on disposal in other countries outside the European Union
This symbol is only valid in the European Union. If you wish to discard this product, please contact your local authorities or dealer and ask for the correct method of disposal.
Transportation
When transporting the device, use the original packaging or equivalent to prevent damage to the device.
Warranty Information
For information about the device warranty, see www.doorbird.com/warranty
COMPONENTS
- 1x Main Electrical Unit with front panel

- 1x Wall-mounting bracket (surface-mounted model)

- 1x Flush-mounting housing (flush-mounted model)

- 1x Installation manual

- 1x Quickstart guide with Digital Passport

- 1x Drilling template

- 1x Power supply unit (mains adapter) with four country-specific adapters

- 1x RJ45 adapter

- 1x Disassembly tool for screw connection terminal plug

- Small parts

The sketches in this manual may differ from the purchased model.
DEVICE
Front

- Keypad wit 12 keys
- Dual frequency RFID reader (125 KHz, 13.56 MHz)
- Bluetooth transceiver
- Status icons with Diagnostic LEDs
- Security screw
- Wiegand jack
- Screw connection terminal
- SETUP Button (SET) of the device to e.g. configure the WiFi interface of the device using the DoorBird App
VIDEOS
Need help with the installation? Be sure to watch our installation videos which can be found on http://www.doorbird.com/support
Each individual step of the installation is clearly documented in the videos.
INSTALLATION
All the steps below should be carried out carefully by a competent adult, taking into consideration any applicable safety regulations. Please contact us directly or seek the advice of a competent specialist.
Please ensure that all wires used for the installation are undamaged along their entire length and approved for this type of use.
Network speed and network components
Please ensure that the upload speed of your Internet connection is at least 0.5 Mbps. The user experience is only as good as your network speed, network stability and quality of your network components, such as your Internet Router and WiFi access points or WiFi repeaters. Please also make sure that your network components are no older than two years old, have been manufactured by a well-known manufacturer, and have the latest firmware installed.
Should these requirements not be fulfilled, it may occur that push notifications are delayed or not delivered to your mobile device.
Requirements:
High-speed Internet (via landline): DSL, cable or optical fibre
Network: Ethernet, with DHCP
SWITCHING OFF POWER
Switch off the power to all wires leading to the assembly location, e.g. power supply for the device or an electrical door opener.
DISMANTLING THE EXISTING ACCESS CONTROL DEVICE
Should there already be an access control device on the exterior wall of the house, please remove it.
DETERMINING THE ASSEMBLY LOCATION
Do not expose the device to direct sunlight.
The housing temperature can exceed the maximum allowed temperature limit. This can result in damage of electric and mechanic components of the device and injuries especially when touching exterior parts of the device. White and bright silver-colored front plates absorb less sunlight than dark ones.
Any defects caused by direct sunlight are not covered by warranty
Important note for cavity mounting (e.g. in pedestals and mailboxes):
To protect the electronic units, please ensure that the technical components are protected against dripping and running water caused by condensate or entering the mounting space through openings.
To protect the electronic units, ensure that the mounting space inside is not accumulating water.
Sufficient air circulation must be ensured, as well as unobstructed drainage of water at the base of the installation.
Failure to do so will result in warranty being declined.
ASSEMBLING THE MOUNTING HOUSING
The product is available as a surface-mounted, flush-mounted and retrofit version. In the flush-mounted version, the front panel is slightly larger to better cover the hole in the wall, and the mounting housing (backbox) is made entirely of metal instead of plastic.
In the retrofit version, the front panel is slightly larger to better cover the hole in the existing panel and the mounting is not realized with a separate mounting housing (backbox) but with metal clamps.
- Flush-mounted model

- Retrofit model

If the wall of the house is not made of wood, you should drill dowel holes 5 mm (0.19 in) in diameter in the wall according to the drilling template and then place the dowels provided into the boreholes.
If you must drill holes in a wall, insert screws into a wall or lever up a wall, ensure that no cables or mains (gas, water, etc.) are to be found in the wall.
If the wall of the house is made of wood, dowels are not normally required. There are special dowels for assembling the device on an insulating wall, e.g. Fischer insulating dowels.
DISASSEMBLING THE FRONT PANEL
(APPLIES ONLY TO THE SURFACE-MOUNTED AND FLUSH-MOUNTED MODEL)
Remove the front panel with the attached Main Electrical Unit carefully from the mounting housing (backbox) using the orange (Torx+Pin) screw driver provided.
We have designed the front panel and the safety screw in a way that it cannot be screwed through the front panel so that is does not fall off / get lost during installation..
- Flush-mounted model

- Surface-mounted model

Turn the safety screw counter-clockwise until it is loose. Pull the front panel with attached Main Electrical Unit out of the mounting housing (backbox).
MOUNTING
Lead all cables and wires you want to connect to the device through the mounting housing (for retrofit version: through the hole in the existing panel).
- Flush-mounted model
Please make sure that the outer frame of the flushmounted housing rests on the outside of the wal and that the edge of the flush-mounted housing is sealed all around against moisture from the outside.

- Surface-mounted model
Before mounting: Pierce through the middle of the rubber seal for the cable entry using a screwdriver.

NETWORK CONNECTION OPTIONS
You can connect the device to the network by either using a WiFi 2.4 GHz connection or a network cable.
OPTION 1
Network cable (recommended, maintenance free)
Install a network cable (which is plugged into a network switch / router with Internet access) from the inside of your building to the assembly location. The network cable between the assembly location and the network switch / router can have a maximum length of 80 m/262 ft (IEEE 802.3). If you must span a distance of more than 80 meters/262 feet you can put a network switch in between. Make sure to use a high-quality Cat.5 network cable or better and with proper shielding (Screened Foiled Twisted Pair (S/FTP or SFTP)) whereby the shield is connected to the outer metal shield of the RJ45 plug (8P8C).
The device itself does not have an RJ45 socket. The scope of delivery includes an RJ45 adapter that can be routed out of the housing. As an alternative, the RJ45 connector of the network cable can be removed on the device side to connect the wires directly to the Phoenix strip according to the assignment under point 7 „CONNECTING THE DEVICE“.
If you have only two wires available at the assembly location, you may use the “DoorBird 2-Wire Ethernet PoE ConverteA1071”, sold separately. It allows you to transfer network data (Ethernet) and power (PoE) with a simple two-wire cable over long distances. For example, existing buildings with a simple two-wire bell wire can be equipped with network technology without having to retrofit any network cables.
For reasons of network stability, we principally recommend using a network cable, as WiFi is sensitive to interference (range, house walls acting as shields, reliability of performance, third party WiFi networks, wireless transmitters causing interference in the area, etc.).
OPTION 2
WiFI 2.4 GHz
When using WiFi please make sure you have a good WiFi signal at the assembly location of the device. You can increase the WiFi signal by using so called “WiFi repeaters”, which can boost your WiFi signal. You shoul install such a WiFi repeater close to the assembly location of the device, typically inside your home and close to the device.
For further information regarding WiFi installations, please visit www.doorbird.com/wifi
PREPARE POWER SUPPLY
The device does not have a battery as power supply, therefore, choose one of the following options.
OPTION 1
Power supply using the power supply unit (mains adapter)
To power the device using the provided mains adapter, 2 insulated wires are required. The power supply unit has a 300 cm (9.8 ft) long cable with two insulated wires. The network connection is then established via a network cable or alternatively via WiFi.
Do not plug the power supply unit into the wall socket yet.
Only use the power supply unit provided along with the device, or a DIN-rail power supply unit (see “OPTION 3”) that you can obtain from us separately, since this has been specially stabilized electrically and is equipped with an integrated audio interference reduction device. Other power supply units may destroy the device or cause poor transmission quality. The warranty automatically expires if you use a different power supply unit.
The provided mains adapter is only capable to power one device. It is not designed to power multiple devices simultanously.
If you must power more than one device with one power supply, we recommend to use a PoE-Switch with PoE Standard IEEE 802.3af Mode A or an appropriate DIN rail power supply (see “OPTION 3”).
The power supply unit is plugged into a wall socket, usually where the two wires from your assembly location come out of the wall in the interior of the house.
The provided mains adapter is not outdoor-ready and for indoor-use only
If you must power more than one device with one power supply , we recommend to use a PoE-Switch with PoE Standard IEEE 802.3af Mode A or an appropriate DIN rail power supply (see “OPTION 3”).
OPTION 2
Power supply and network connection using PoE (Power over Ethernet)
To power the device via a PoE-Switch (e.g. D-Link DGS-1008P) or PoEInjector (e.g. DoorBird Gigabit PoE Injector A1093), use a CAT.5 cable or higher in accordance with the PoE standard IEEE 802.3af Mode A.
A CAT.5 cable or higher must be used for this purpose, as network signals can only be transmitted over completely insulated, shielded and twisted cables. If you use PoE as a source of power, the four wires for PoE then simultaneously form the data line. The device will not start if your PoESwitch/PoE-Injector does not support the PoE Standard IEEE 802.3af Mode A.
Do not combine the power supply from the power supply unit (mains adapter) with the power supply via PoE.
You can find further information about PoE here: http://www.doorbird.com/poe

- Disconnect the PoE-Switch or PoE-Injector from the power grid.
- Place the network cable in the installation site of the device.
Theoretically (not recommended by us!), an unshielded, but over the whole length (max. 80 m/262 ft) twisted bell wire with two pairs of wires (first twisted pair of wires: “T+, T-”, second twisted pair of wires “R+, R-”) can be used for the network and PoE transmission as an alternative to a Cat.5 network cable or better. This is comparable to a Cat.3 network cable. In this case, however, we cannot guarantee the data throughput or the stability of the network connection and power supply; this must be measured and checked on site by qualified personnel over several hours (network data is transmitted at high frequency, therefore a shielded Cat.5 network cable twisted in pairs or better must normally be used).
OPTION 3
Power supply using a DIN rail power supply unit
Alternatively to the mains adapter, we offer DIN rail power supplies in our online shop, which can be installed by a specialist. The network connection is then made via a network cable or alternatively via WiFi.
CONNECTING THE DEVICE
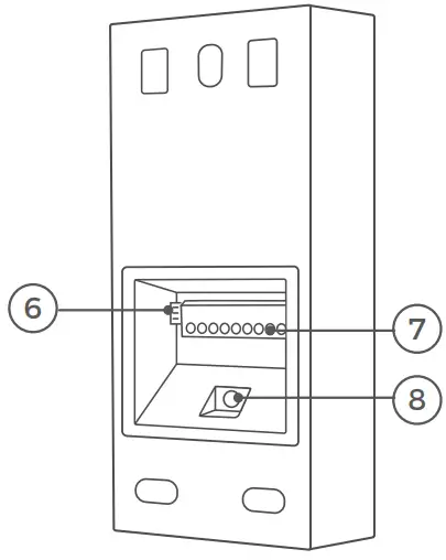
It is possible to connect the cables and wires to the device conveniently and safely via the labeled screw connection terminal. You can connect all necessary cables and wires to the device now.
Please remove any cables and wires from the connection ports of the device that you do not need.
The product comes with a disassembly tool that allows you to safely remove the connector from the screw terminal socket. Please do not use any other tool, e.g. a screwdriver, as this may damage the circuit board of the device.
For easier installation we strongly recommend to remove the plug from screw connection terminal while you connect the cables and wires.
Port | Description | |
LAN/POE T+ T- R+ R- |
| The device does not have an integrated standarized RJ45 socket to ensure …
Use only four wires (1, 2, 3 and 6) of a standard Network cable Cat.5 or better, coming from the Internet Router/PoE-Switch/PoE-Injector |
| Cat.5 / Cat.6 Network cable T+ White and orange network cable wire (Number 1, Transmit Data +) | |
| Cat.7 Network cable (Installation cable) T+ White network cable wire from pair “orange/white” (Number 1, Transmit Data +) NOTICE: Do not power the device simultaneously via the power supply from the power supply unit (mains adapter) and the power supply via PoE. | |
R1, R1![]() |
| Bi-stable latching relay #1, max. 24 V DC/AC, 1 A. Security feature: The relay keeps its state even in the case of loss of power. You can configure the default state of the relay (open/close) via the DoorBird App. These ports can be used to connect e.g. an electric door opener. The device does not supply power to the connected device. The power supply for the electric door opener must be installed separately. When wiring an electric door opener directly to the device. There is a risk that the electric door opener could be tampered by unauthorized third parties (e. g. by breaking the device and short-circuiting the wiring of the door opener). Therefore, we generally recommend the use of a remote safety relay mounted indoors (e. g. DoorBird I/O Door Controller A1081) for wiring an electric door opener for a more secure installation in your home. |
R2, R2![]() | ![]() | Bi-stable latching relay #, max. 24 V DC/AC, 1 A. Security feature: The relay keeps its state even in the case of loss of power. You can configure the default state of the relay (open/close) via the DoorBird App. These ports can be used to connect e.g. an electric door opener. The device does not supply power to the connected device. The power supply for the electric door opener must be installed separately When wiring an electric door opener directly to the device. There is a risk that the electric door opener could be tampered by unauthorized third parties (e. g. by breaking the device and short-circuiting the wiring of the door opener). Therefore, we generally recommend the use of a remote safety relay mounted indoors (e. g. DoorBird I/O Door Controller A1081) for wiring an electric door opener for a more secure installation in your home. |
| 15 VDC + |
| 15 V DC Power supply input, negative pole (-). Please connect the black wire of the power supply unit (mains adapter) supplied with this device if you do not power the device using PoE. NOTICE: Do not power the device simultaneously via the power supply from the power supply unit (mains adapter) and the power supply via PoE. |
| 15 VDC + | 15 V DC Power supply input, positive pole (+). Please connect the red wire of the power supply unit (mains adapter) supplied with the device here, if you do not power the device using PoE. NOTICE Do not power the device simultaneously via the power supply from the power supply unit (mains adapter) and the power supply via PoE. | |
| D0 | Data Low. For Wiegand output (RFID reader, Keypad). Max. 5 mA per output (data line). Wiegand can be turned on/off and configured via the DoorBird App. The Small parts bag provided contains a cable with tree individual wires (black, green, white) and plug. Please use this cable to connect your Wiegand device (D0: Green wire). | |
| D1 |
| Data High. For Wiegand output (RFID reader, Keypad). Max. 5 mA per output (data line). Wiegand can be turned on/off and configured via the DoorBird App. The Small parts bag provided contains a cable with tree individual wires (black, green, white) and plug. Please use this cable to connect your Wiegand device (D1: white wire). |
| GND | Ground. For Wiegand output (RFID reader, Keypad). Wiegand can be turned on/off and configured via the DoorBird App. The Small parts bag provided contains a cable with tree individual wires (black, green, white) and plug. Please use this cable to connect your Wiegand device (GND: Black wire). | |
Please take care when connecting the cables and wires. Connecting the cables and wires the wrong way may damage the device. Wires without insolation material must not protrude out of the green screw connection terminal, it may lead to electrical short and damage the device.
ASSEMBLE THE DEVICE TO THE MOUNTNG HOUSING (BACKBOX)
If you use the surface- or flush-mounted version, assemble the front panel with the attached Main Eletrical Unit carefully using the orange (Torx+Pin) screw driver provided with the wall mounting-bracket / mounting housing. Turn the safety screw clockwise until it is hand-tight.

Tighten the safety screw by hand only (less than 5 newton meter [Nm]), otherwise the Main Eletrical Unit housing may be damaged.
ACTIVATE THE DEVICE
If the device is to be supplied with power by a mains adapter, plug the power adapter of the device into a wall socket. If the device is to be powered via PoE, switch on the PoE-Switch/ PoE-Injector which is connected to the device. If the device is to be powered via DIN-rail power supply, switch on the DIN-rail power supply.
The Keypad LEDs indicate whether the device is supplied with power. The LEDs light up in white color a few seconds after you have connected the device to the power supply.
If Keypad LEDs do not light up, please check the power supply. When using a wall-plug power supply and not PoE, please check whether you have connected the positive pole and negative pole to the device correctly.
The device is ready for operation (booting up process, any software updates, etc.) once it has emitted a short diagnosis sound (two beeps) from the integrated piezo speaker and the Diagnostic LEDs light up for a few seconds in blue color. This may last for up to 5 minutes.
DOWNLOADING AND INSTALLING THE APP
Download the “DoorBird” App by Bird Home Automation onto your mobile device from the Apple App Store or Google Play Store. You can always find the most up-to-date version of the App manual on www.doorbird.com/support If you use WiFi for connecting the device to your Internet Router, first go to the DoorBird App > ”WiFi Setup“ and follow the instructions.
If you have finished the WiFi setup or have connected the device to your Internet Router by means of a network cable, go to the DoorBird App > “Add device” and click on the QR code icon in the “User” field. Scan the user QR code found on the “Digital Passport” provided with the device.
If you have problems adding the device to the App please check if the device is online ( www.doorbird.com/checkonline ). If the device is not online, please check the WiFi or network cable connection again.
DIAGNOSTIC-LEDS
Both LEDs light up blue:
for 5 seconds continuously illuminated – Device is connected to the internet.
for 30 seconds with flashing intervals of 1 second – Device has no internet connection.
for 30 seconds with flashing intervals of 3 seconds – Device has no network connection.
Both LEDs light up yellow:
for 30 seconds with flashing intervals of 1 second – Device has entered WiFi setup mode
DIAGNOSTIC SOUNDS
The device may emit brief diagnostic sounds after it has been connected to power supply / network / Internet, e.g. upon boot process finished, press of a key, WiFi Setup Mode enabled, RFID Reader detected tag, Relay triggered.
TAMPER SENSOR
The device has a built-in tamper sensor that can be configured via the app to send an alert over the network (e.g. a push notification) if the device is moved during operation.
BLUETOOTH TRANSCEIVER
The device has a built-in Bluetooth® transceiver. We will add further functionality for interesting applications soon. Please check our company news blog or the latest version of this manual at www.doorbird.com/support for updates.
DOORBIRD CONNECT
The device features many options to integrate it into third-party applications. For information, terms and conditions see www.doorbird.com/connect
MAINTENANCE OF THE FRONT PANEL
Cleaning and maintenance instructions
All of our front panels are made of high-quality materials and are designed for a durable lifetime. Since this kind of devices are usually installed in unprotected outdoor areas, they are exposed to adverse weather conditions and aggressive substances, especially close to frequently used roads, in coastal and industrial areas. Therefore, please consider the following care instructions. Unfortunately, we cannot accept any liability for damage if these instructions are not being observed. Aggressive dirt such as bird droppings should be removed as quickly as possible.
Aggressive stains such as bird droppings should be removed as soon as possible.
Never use abrasive detergents such as steel wool or scouring milk!
Warm water is usually sufficient, if necessary with a little detergent, a soft cloth or brush. Plastic parts must not be treated with metal care products.
Remove all residues of cleaning agents or lubricants to avoid stains or discolouration after the maintenance.
Stainless Steel
Only high-quality stainless steel is used for all available DoorBird devices. However, high-quality stainless steel can also rust, as approx. 70 % of stainless steel is made of iron. Rust resistance is only achieved by a protective layer (also called passive layer), which covers the iron like a skin. This protective layer consists essentially of chromium and other precious metals.
Iron particles, grinding dust and chips deposited on stainless steel can lead to corrosion (rust film). These iron particles can be found everywhere, but especially in coastal and industrial areas and close to frequently used roads. Please remove ferrous deposits immediately, as they will attack your device and lead to real rust if not removed. To remove rust, simply wipe off the dust; in addition, a care product is recommended, e.g. WD 40, available e.g. at Amazon for less than € 5.00. Simply apply in a thin layer and rub in. The same applies if rust appears on the engravings on the stainless steel surface.
Cement or lime splashes should be carefully removed as soon as possible with a wooden spatula before hardening.
The following cleaning detergents are not to be used as they reduce corrosion resistance:
- products containing chloride and hydrochloric acid
- Bleach (in case of accidental use, rinse thoroughly with water) Silver polish
After the cleaning with clear water wipe with damp cloth and rub dry to avoid lime traces. Lime residues can be avoided by using demineralized water.
Stainless steel PVD coated
PVD coated, chrome-plated or gold-plated surfaces are recommended to be cleaned with a grease dissolving detergent and clear water or with a clean and dust-free microfiber cloth. For high-gloss surfaces, use a scratch-free cloth (e.g. cleaning cloth for glasses, furniture polishing cloth, etc.).
Lacquered surfaces
Clean painted surfaces and lettering with a soft, scratch-free cloth moistened with a mild soap solution (e.g. cleaning cloth for glasses, furniture polishing cloth, etc.). To prevent stains or discoloration, the detergents should be wiped off without leaving any residue. Be particularly careful with lettering in order not to damage the film or the print.
LEGAL NOTES
General remarks
- Door Bird is a registered trademark of Bird Home Automation GmbH.
- Apple, the Apple logo, Mac, Mac OS, Macintosh, iPad, Multi-Touch, iOS, iPhone and iPod touch are trademarks of Apple Inc.
- Google, Android and Google Play are trademarks of Google, Inc.
- The Bluetooth® word mark and logos are registered trademarks of Bluetooth SIG, Inc.
- All other company and product names may be trademarks of the respective companies with which they are associated.
- We reserve the right to make changes to our products in the interests of technical advancement. The products shown may also look different from the products supplied based on ongoing enhancement.
- Reproducing or using texts, illustrations and photos from this instruction manual in any media – even if only in the form of excerpts – shall only be permitted with our express written consent.
- The design of this manual is subject to copyright protection. We do not accept any liability for any errors or any erroneous content or printing errors (even in the case of technical specifications or within graphics and technical sketches).
- Our products are in compliance with all technical guidelines, electrical and telecommunications regulations applicable in Germany, the EU and the USA.
- Our products and also the components contained therein (ICs, software, etc.) may only be used for civilian non-military purposes.
Data privacy and data security
- For maximum security, the device uses the same encryption technologies as are used in online banking. For your security, no port forwarding or DynDNS is used either.
- The data centre location for remote access over the Internet by means of an App is obligatory in the EU if the determined Internet IP-Address location of the device is within the EU. The data centre is operated in line with the most stringent security standards.
- Video, audio and any other surveillance methods can be regulated by laws that vary from country to country. Check the laws in your local region before installing and using this device for surveillance purposes.
If the device is a door-, indoor station or camera:
- In many countries video and voice signal may only be transmitted once a visitor has rung the bell (data privacy, configurable in the App).
- Please carry out the mounting in such a way that the detection range of the camera limits the device exclusively to the immediate entrance area.
- The device may come with a visitor history and motion sensor. You can activate/deactivate this function if required.
If necessary, indicate the presence of the device in a suitable place and in a suitable form.
Please observe any relevant country-specific statutory regulations concerning the use of surveillance components and surveillance cameras applicable at the installation site.
Check with the property owner and your house community if you are allowed to install and use this product. Bird Home Automation GmbH cannot be held responsible for any miss-use or miss-configuration of this product, including the unauthorized opening of a door. Bird Home Automation cannot be held responsible for damages caused by improper existing installations or improper installation.
Software and operating system’s updates (so-called “firmware updates”) are generally automatically installed on the products of Bird Home Automation GmbH via Internet, if technically possible. Automatic firmware updates keep the products‘ software up to date so that they always work reliably, safely and efficiently. Through further development, features can be added, extended or slightly changed. Major changes or limitations to existing features will generally occur if Bird Home Automation GmbH deems it necessary (e.g. for data protection, data security or stability reasons, or to keep them up to date). When a firmware update is available, Bird Home Automation GmbH‘s servers generally automatically distribute it to all compatible products connected to the Internet or Bird Home Automation GmbH‘s servers. This process is gradual and can take several weeks. As soon as a product receives a firmware update, the system will be installed and will restart by itself. Installed firmware updates cannot be undone. Since the products and software of Bird Home Automation GmbH are not explicitly customer-specific products, a customer cannot deny an automatic update if the product is connected to the Internet or to the Bird Home Automation GmbH’s server.
Publisher
Bird Home Automation GmbH
Uhlandstraße 165
10719 Berlin
Germany
Web: www.doorbird.com
Email: [email protected].
It is possible that these manual still contains typographical errors or printing errors. The information in this manual will be checked regularly and corrections will be made in the next version. We accept no liability for errors of a technical or printing nature and their consequences.















































