
Installation Manual (Pages 2-18)
IP I/O DOOR CONTROLLER A1081 Series
VERSION 1.2, MIN. HW 1.02
INSTALLATION MANUAL
Read these instructions carefully before starting to use any components.
Keep the manual so you can refer to it at a later date if required. If you hand over the device to other persons for use, please hand over the operating manual as well.
You can always find the most up-to-date version of the installation manual on www.doorbird.com/support To make things easier we use the term “device” for the product “IP I/O Door Controller” and “mobile device” for a smartphone or tablet.
Liability
Every care has been taken in the preparation of this document.
Please inform Bird Home Automation GmbH of any inaccuracies or omissions.
Bird Home Automation GmbH cannot be held responsible for any technical or typographical errors and reserves the right to make changes to the product and manuals without prior notice. Bird Home Automation GmbH makes no warranty of any kind with regard to the content of this document, including, but not limited to, the implied warranties of merchantability and fitness for a particular purpose. Bird Home Automation GmbH shall neither be liable nor responsible for incidental or consequential damages in connection with the furnishing, performance, or use of this material. This product is only to be used for its intended purpose.
Equipment Modifications
This equipment must be installed and used in strict accordance with the instructions given in the user documentation. This equipment contains no components that require service by the user. Unauthorized equipment changes or modifications will invalidate all applicable regulatory certifications and approvals.
Symbols used
Danger: Indicates a hazardous situation that, if not avoided, will result in death or serious injury.
Warning: Indicates a hazardous situation that, if not avoided, could result in death or serious injury.
Caution: Indicates a hazardous situation that, if not avoided, could result in minor or moderate injury.
Notice: Indicates a situation that, if not avoided, could result in damage to property.
Important: Indicates significant information which is essential for the product to function correctly.
Note: Indicates useful information which helps in getting the most out of the product.
Hazard information
WARNING
- Mounting, installation, and servicing work on electrical devices may only be performed by a qualified electrician. Failure to observe this regulation could result in the risk of serious damage to health or fatal injury due to electric shocks.
- Devices with 110-240 V connection: The device may only be connected to an easily accessible power socket outlet. The main adapter must be pulled out if a hazard occurs.
- For power supply, only use the original plug-in mains adapter delivered with the device or a recommended PoE-Switch/PoE-Injector as specified in this manual.
- Because of electrostatic charging, direct contact with the circuit board can result in the destruction of the device. Direct contact with the circuit board must therefore be avoided at any time.
- Observe the EN 60065 resp. EN 60950 resp. EN 62368 standard.
- Do not use the device if there are signs of damage to the housing, control elements, or connecting sockets, for example, or if it demonstrates a malfunction. If you have any doubts, please have the device checked by an authorized expert.
- Do not open the device. This voids the warranty of the device. The device does not contain any parts that can be maintained by the user. In the event of an error, please have the device checked by an authorized expert.
- For safety, approval, and licensing reasons (CE/FCC/IC, etc.), unauthorized change and/or modification of the device is not permitted.
- The device is not a toy; do not allow children to play with it. Do not leave packaging material lying around. Plastic films/bags, pieces of polystyrene, etc. can be dangerous in the hands of a child.
- Always lay cables in such a way that they do not become a risk to people and domestic animals.
- Voltage is applied to parts within the equipment. Do not touch any parts that are not associated with the installation, wiring, or connection.
Electric shock could result. - On devices that are not marked as weather-proof: Keep the device away from water or any other liquid.
- Do not install or make any wire terminations while the power supply is plugged in. It can cause electric shock or damage to the device.
- Before turning on the power, make sure wires are not crossed or shorted. If not, fire or electric shock could result.
- High voltage may be present internally. Do not open the device. Electric shock could result.
- The device is not of explosion-proof. Do not install or use near gases or flammable materials. Fire or explosion could result.
- Do not install two power supplies in parallel to a single input. Fire or damage to the device could result. Be sure to connect a single power supply to the device.
- Do not connect any terminal on the device to an AC power line. Fire or electric shock could result.
- Keep AC cord from being marred or crushed. If the AC cord is fractured, fire or electric shock could result.
- Do not plug or unplug with wet hands. Electric shock could result.
- Do not put any metal or flammable material into the device. Fire, electric shock, or device trouble could result.
- Existing wiring such as chime wiring, etc. may contain high voltage AC electricity. Damage to the device or electric shock could result. Wiring and installation must be done by a qualified electrician.
- When mounting the device on a wall or ceiling, install the device in a convenient location, but not where it could be jarred or bumped. The injury could result.
- On devices with ground terminals, connect to earth ground. Otherwise, fire or malfunction could result.
- On devices with plastic or real glass, do not put high pressure on the glass. If fractured, the injury could result.
- On devices with LCD, if LCD is punctured, do not allow contact with the liquid crystal inside. The injury could result. If necessary, gargle your mouth and clean your eyes or skin with clear water for at least 15 minutes and consult your doctor.
- Do not put anything on the device or cover the device with cloth, silicone, glue, coating, separate covering, etc. Fire or device issues could result.
- Do not install the device in any of the following locations. Fire, electric shock or device trouble could result.
– Places under direct sunlight or places near heating equipment that varies in temperature.
– Places subject to dust, oil, chemicals, and hydrogen sulfide (hot spring).
– Places subject to moisture and humidity extremes, such as bathrooms, cellars, greenhouses, etc.
– Places where the temperature is very low, such as inside a refrigerated area or in front of an air conditioner.
– Places subject to steam or smoke (e.g. near heating or cooking surfaces).
– Where noise-generating devices such as dimmer switches or inverter electrical appliances are close by.
– Locations are subject to frequent vibration or impact. - On devices with intercom, be sure to perform a call test with the low audio volume on both intercom devices. A sudden call etc. may arrive causing for example damage to your ear.
- If the device does not operate properly, unplug the power supply.
- All devices which are not marked as weather-proof are designed for indoor use only. Do not use outdoor.
- On devices that are marked weather-proof: Do not spray with high-pressure water. Device issues could result.
- We do not assume any liability for damage to property or personal injury caused by improper use or the failure to observe the hazard information. In such cases, any claim under warranty ceases. For consequential damages, we assume no liability!
Safety instructions

- The device shall be used in compliance with local laws and regulations.∙ Store the device in a dry and ventilated environment.
- Avoid exposing the device to shocks or heavy pressure.
- Do not install the device on unstable brackets, surfaces, or walls. Make sure the material is strong enough to support the weight of the device.
- Use only applicable tools when installing the device. Using excessive force with tools could cause damage to the device.
- Do not use chemicals, caustic agents, or aerosol cleaners.
- Use a clean dry cloth for cleaning.
- Use only accessories that comply with the technical specifications of the device. These can be provided by Bird Home Automation GmbH.
- Use only spare parts provided by or recommended by Bird Home Automation GmbH.
- Do not attempt to repair the device by yourself. Contact Bird Home Automation GmbH for service matters.
- Keep the device more than 1 m (3.3′) away from microwave, radio, TV, wireless router and any other wireless devices.
- On devices with intercom or built-in speaker or built-in microphone or signal transmission functions, keep the wires more than 30 cm (12”) away from AC 100-240 V wiring. AC-induced noise and/or device malfunction could result.
- Install the device in an area that will be accessible for future inspections, repairs and maintenance.
- If the device is used close to a cellular phone, the device may malfunction.
- The device can be damaged if dropped. Handle with care.
- The device turns inoperative during power failure.
- On devices with an intercom or built-in speaker or built-in microphone, in areas where cellular or Radio / TV broadcasting station antennas are close by, the device may be affected by radio frequency interference.
- On devices with LCD screens, it must be noted in advance that the LCD panel, though manufactured with very high precision techniques, inevitably will have a very small portion of its picture elements always lit or not lit at all. This is not considered a device malfunction.
- On devices with an intercom, the environmental sound around the device, it may hinder smooth communication, but this is not a malfunction.
- On devices with Username/Password, the Username/Password to access the device is the customer’s responsibility. Make sure to use a password that cannot be easily guessed by a third party. We recommend that you change the Password on a regular basis.
- We will, under no circumstances, be liable for damage that occurs due to failures in power supply, network equipment or terminal devices; failures due to Internet providers and cellular network providers; failures such as disconnected lines and other losses in communication, which makes it impossible to provide this service as well as in any way delay this service due to any other causes outside of our responsibility; or if an error or missing data occurs during transmission.
Transportation
When transporting the device, use the original packaging or equivalent to prevent damage to the device.
Warranty Information
For information about the device warranty, see www.doorbird.com/warranty
COMPONENTS
Package Contents
- 1x Device
- 1x Power supply unit (mains adaptor) with four country-specific adaptors
- 1x RJ45 network cable (300 cm)
- 2x Phillips countersunk head screws
- 2x Dowels
- 1x Installation manual
- 1x Drilling template
- 1x DIN-Rail adapter
- 1x 2,4 GHz Antenna
- 1x Quick start guide with Digital Passport
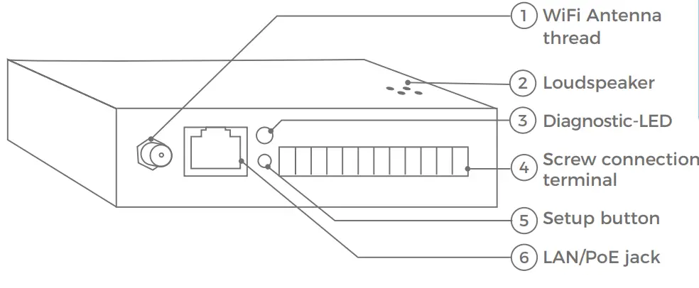
Device
WiFi Antenna thread to connect the 2.4 GHz WiFi Antenna supplied with the device.
- Loudspeaker for Diagnostic Sounds.
- Diagnostic-LED Diagnostic LED to visualize the current status of the device.
- Screw connection terminal to connect external devices such as electric door openers and power to the device.
- Setup button (SET) of the device, to e.g. configure the WiFi interface of the device using the DoorBird App.
- LAN/PoE jack RJ45 jack to connect a standard Network cable Cat.5 or better, coming from the Internet Router/PoE-Switch/ PoE-Injector.
VIDEOS
Need help with the installation? Be sure to watch our installation videos which can be found on http://www.doorbird.com/support Each individual step of the installation is clearly documented in the videos.
INSTALLATION
All the steps below should be carried out carefully by a competent adult, taking into consideration any applicable safety regulations. Should you have any questions, please contact us or a competent specialist directly.
Please ensure that all wires used for the installation are undamaged along their entire length and approved for this type of use.
Network speed and network components Please ensure that the upload speed of your Internet connection is at least 0.5 Mbps. You can also carry out a speed test at any time via the DoorBird App.
The user experience is only as good as your network speed, network stability, and quality of your network components, such as your Internet Router and WiFi access points or WiFi repeaters. Please also make sure that your network components are no older than two years old, have been manufactured by a well-known manufacturer, and have the latest firmware installed.
Should these requirements not be fulfilled, it may occur, for example, that the performance of audio and video is poor or push notifications are delayed or do not arrive on your smartphone or tablet at all.
High-speed Internet (via landline): DSL, cable or optical fiber Network: 802.11b/g/n 2.4 GHz or Ethernet, with DHCP
STEP 1: SWITCHING OFF POWER
Switch off the power to all wires leading to the assembly location, i.e. the door chime, electric door opener, power supply unit for the video door station etc..
STEP 2: DETERMINING THE ASSEMBLY LOCATION
The device is IP50 certified (not water-proof). Please make sure to put the device into appropriate housing if you want to use it outdoors.
The network cable between the device and the PoE-Switch/PoE-Injector/ Internet Router can have a maximum length of 80 meters/262 feet.
You can mount the device permanently on a wall or ceiling. If you do not want to mount it permanently, please skip the rest of this step.
Press the drilling template of the device against the wall or ceiling at the desired installation site and mark the boreholes with a pencil. Remove the drilling template again.
Ensure that no cables are to be found in the wall or ceiling behind the boreholes.
If the wall of the house is not made of wood, you should drill dowel holes 5 mm in diameter in the wall according to the drilling template and then place the dowels provided into the boreholes. If the wall of the house is made of wood, you will usually not require any dowels. There are special dowels for assembling the device on an insulating wall, e.g. Fischer insulating dowels. Please check with your insulating material manufacturer regarding which dowels they recommend.
Use the Phillips countersunk head screws provided to position it in the dowels or on the wall, so that the countersunk head screws protrude a few millimeters above the wall.
STEP 3: WIFI ANTENNA
The device has a built-in 2.4 GHz WiFi interface, to connect it wirelessly to your Internet Router. Please assemble the WiFi antenna supplied with the device to the WiFi antenna thread of the device. The WiFi interface of the device is automatically inactive if you use a network cable to connect the device to your PoE-Switch/PoE- injector/Internet Router.
STEP 4: POWER SUPPLY OPTIONS
The device can be powered using the power supply unit (mains adaptor) supplied with it (Option 1) or via PoE (Power over Ethernet) using a network cable (Option 2). The device can be alternatively also be supplied with power using a DIN-rail power supply unit that you can obtain directly from us. The device does not use battery power.
Option 1: Power supply using the power-supply unit (mains adaptor)
The power supply unit (mains adaptor) supplied with the device has a 300 cm long cable with two insulated wires.
Do not plug the power supply unit into the wall socket yet. Only use the power supply unit provided along with the device, or a DIN-rail power supply unit that you can obtain from us separately since this has been specially stabilized electrically and is equipped with an integrated audio interference reduction device.
Other power supply units may destroy the device or cause poor transmission quality. The warranty expires automatically if you use a different power supply unit.
Option 2: Power supply via PoE
To power, the device via a PoE-Switch (e.g. D-Link DGS-1008P) or PoE-Injector (e.g. DoorBird Gigabit PoE Injector) in accordance with the PoE standard IEEE 802.3af Mode A, the four wires bearing the numbers 1, 2, 3 and 6 of a Cat.5 cable or better are to be used. A Cat.5 cable or better must be used as network signals can only be transmitted over completely insulated, shielded, and twisted cables. If you use PoE as a source of power, the WiFi interface of the device is automatically inactive, and the four wires for PoE then simultaneously form the data link. The device won’t start if your PoE-Switch/ PoE-Injector does not support the PoE Standard IEEE 802.3af Mode A (see
Diagnostic-LED and Diagnostic-Sounds).
![]()
- Disconnect the PoE-Switch or PoE-Injector from the power grid.
- Run the network cable to the installation location of the device.
You can find further information about PoE here: http://www.doorbird.com/poe
STEP 5: CONNECTING THE DEVICE
It is possible to connect the cables and wires to the device conveniently and safely via labeled connection ports. You can connect all necessary cables and wires to the device now. Please remove any cables and wires from the connection ports of the device that you do not need.
Remove about 5 mm of insulation material at the end of the wires that you would like to connect to the green screw connection terminal of the device.

| PORT | DESCRIPTION |
| LAN/POE | RJ45 jack to connect a standard Network cable Cat.5 or better, coming from the Internet Router/PoE-Switch/ PoE-Injector. |
REL1, REL1![]() | Bi-stable latching relay #1, max. 1-24 V DC/V AC, 1 Ampere. Security feature: The relay keeps its state even in the case of loss of power. You can configure the default state of the relay (open/close) via the DoorBird App. These ports can be used to connect e.g. an electric door opener. The device does not supply power to the connected device. The power supply for the electric door opener must be installed separately. |
REL2, REL2![]() | Bi-stable latching relay #2, max. 1-24 V DC/V AC, 1 Ampere. Security feature: The relay keeps its state even in the case of loss of power. You can configure the default state of the relay (open/close) via the DoorBird App. These ports can be used to connect e.g. an electric door opener. The device does not supply power to the connected device. The power supply for the electric door opener must be installed separately. |
REL3, REL3![]() | Bi-stable latching relay #3, max. 1-24 V DC/V AC, 1 Ampere. Security feature: The relay keeps its state even in the case of loss of power. You can configure the default state of the relay (open/close) via the DoorBird App. These ports can be used to connect e.g. an electric door opener. The device does not supply power to the connected device. The power supply for the electric door opener must be installed separately. |
EXT1, EXT1![]() | First Dry-contact (potential-free), max. 0 V DC/V AC, 0 Ampere. These ports can be used to connect e.g. an external sensor, e.g. door sensor or motion sensor. You can configure the event to be triggered by these ports using the DoorBird App. |
EXT2, EXT2![]() | Second Dry-contact (potential-free), max. 0 V DC/V AC, 0 Ampere. These ports can be used to connect e.g. an external sensor, e.g. door sensor or motion sensor. You can configure the event to be triggered by these ports using the DoorBird App. |
| 15 VDC – | 15 VDC Power supply input, negative pole (-). Please connect the black wire of the power supply unit (mains adaptor) supplied with the device here, if you do not power the device using PoE. |
| 15 VDC + | 15 V DC Power supply input, positive pole (+). Please connect the red wire of the power supply unit (mains adaptor) supplied with the device here, if you do not power the device using PoE. |
| Please take care when connecting the cables and wires. Connecting the cables and wires the wrong way may damage the device. |
STEP 6: FINAL ASSEMBLY
Mount the device on the Phillips countersunk head screws you already positioned in step 2, if you want to mount the device permanently on a wall or ceiling.
STEP 7: ACTIVATING THE DEVICE
Switch on the power leading to the assembly location.
If you use the power supply unit (mains adaptor) to power the device, plugit into a wall socket. If you use PoE to power the device, make sure to switch on the power of the PoE-Switch / PoE-Injector that you have connected the device to.
Do not power the device simultaneously via the power supply from the power supply unit (mains adaptor) and the power supply via PoE.
You can see if the device receives power by checking the Diagnostic-LED, which lights up about 30 to 60 seconds after the device gets connected to power. The device is ready for operation (booting up process, any software updates, etc.) once it has emitted a short diagnosis sound from the integrated loudspeaker. This may last for up to 5 minutes. Should you not hear a sound, please check the power supply. When using a wall-plug power supply and not PoE please check whether you have connected the positive pole and
negative pole to the device correctly.
STEP 8: DOWNLOADING AND INSTALLING THE APP
Download the “DoorBird” App by Bird Home Automation onto your mobile device from the Apple App Store or Google Play Store. You can always find the most up-to-date version of the App manual on www.doorbird.com/support If you use WiFi for connecting the device to your Internet Router, first go to the DoorBird App “Settings → WiFi Setup” and follow the instructions.
If you have finished the WiFi setup or have connected the device to your Internet Router by means of a network cable, go to the DoorBird App “Settings → Administration” and log in to the Administration area of the DoorBird Video Door Station (using the authentication details of the desired Video Door Station!) you would like to pair the device with (using the authentication details of the desired Video Door Station!). To pair the device there, go to “Peripherals → Settings → Add”.
If you have problems adding the device to the App please check if the device is online (www.doorbird.com/checkonline). If the device is not online, please check the WiFi or network cable connection again.
DIAGNOSTIC-LED
You can see if the device is powered on by checking the Diagnostic-LED, which lights up about 30 to 60 seconds after the power is connected.
DIAGNOSTIC-SOUNDS
The device emits brief diagnostic sounds about 30 to 60 seconds after it has been connected to power.
TECHNICAL SPECIFICATIONS
Dimensions:
122 x 86 x 32 mm (L x W x H)
4.8 x 3.39 x 1.26 in (L x W x H)
Power supply:
15 V DC or Power over Ethernet (PoE 802.3af mode A)
Operating conditions:
-25 to 55°C / -13 to 131°F Humidity 10 to 85 % RH (non condensing)
Connectors:
SMA, RJ45 for LAN/PoE, 12-pin screw terminal for
- 15 V DC input (+, -)
- Bi-stable latching relay #1, max. 1-24 V DC/V AC, 1 Ampere
- Bi-stable latching relay #2, max. 1-24 V DC/V AC, 1 Ampere
- Bi-stable latching relay #3, max. 1-24 V DC/V AC, 1 Ampere
- External input 1 (potential-free)
- External input 2 (potential-free)
WiFi:
2.4 GHz, 802.11 b/g/n, external antenna
PoE:
IEEE 802.3 af/at (mode A)
System requirements:
Mobile end device: latest iOS on iPhone/iPad, latest Android on smartphone/tablet
Internet: High-speed landline broadband Internet connection, DSL, cable or fiber, no socks or proxy server
Network: 802.11 b/g/n 2.4 GHz or Ethernet Network, with DHCP Compatible with all DoorBird IP video door stations.
Scope of delivery:
1 x I/O Door Controller
1 x Network cable
1 x power supply (110 – 240 V AC to
15 V DC) with 4 country adapters
1 x Top hat rails adapter
1 x drill jig
Approvals:
CE, FCC, UL, RoHS, IP50
Weather-proof:
No
Weight:
174 g
Errors and omissions excepted.
LEGAL NOTES
General remarks
- DoorBird is a registered trademark of Bird Home Automation GmbH.
- Apple, the Apple logo, Mac, Mac OS, Macintosh, iPad, Multi-Touch, iOS, iPhone, and iPod touch are trademarks of Apple Inc.
- Google, Android, and Google Play are trademarks of Google, Inc.
- The Bluetooth® word mark and logos are registered trademarks of Bluetooth SIG, Inc.
- All other company and product names may be trademarks of the respective companies with which they are associated.
- We reserve the right to make changes to our products in the interests of technical advancement. The products shown may also look different from the products supplied based on ongoing enhancement.
- Reproducing or using texts, illustrations, and photos from this instruction manual in any media – even if only in the form of excerpts – shall only be permitted with our express written consent.
- The design of this manual is subject to copyright protection. We do not accept any liability for any errors or any erroneous content or printing errors (even in the case of technical specifications or within graphics and technical sketches).|
- Our products are in compliance with all technical guidelines and electrical and telecommunications regulations applicable in Germany, the EU and the USA.
Data privacy and data security
- For maximum security, the device uses the same encryption technologies as are used in online banking. For your security, no port forwarding or DynDNS is used either.
- The data center location for remote access over the Internet by means of an App is obligatory in the EU if the determined Internet IP-Address location of the device is within the EU. The data center is operated in line with the most stringent security standards.
- Video, audio, and any other surveillance methods can be regulated by laws that vary from country to country. Check the laws in your local region before installing and using this device for surveillance purposes.
If the device is a door-, indoor station, or camera:
- In many countries video and voice, signals may only be transmitted once a visitor has rung the bell (data privacy, configurable in the App).
- Please carry out the mounting in such a way that the detection range of the camera limits the device exclusively to the immediate entrance area.
- The device may come with a visitor history and motion sensor. You can activate/deactivate this function if required.
If necessary, indicate the presence of the device in a suitable place and in a suitable form.
Please observe any relevant country-specific statutory regulations concerning the use of surveillance components and surveillance cameras applicable at the installation site.
Check with the property owner and your house community if you are allowed to install and use this product. Bird Home Automation GmbH cannot be held responsible for any miss-use or misconfiguration of this product, including the unauthorized opening of a door.
Bird Home Automation cannot be held responsible for damages caused by improper existing installations or improper installation.
Software and operating system updates (so-called „firmware updates“) are generally automatically installed on the products offered by Home Automation GmbH via Internet, if
technically possible. Automatic firmware updates keep the products‘ software up to date so that they always work reliably, safely, and efficiently.
Through further development, features can be added, extended, or slightly changed. Major changes or limitations to existing features will generally occur if Bird Home Automation GmbH deems it necessary (e.g. for data protection, data security, or stability reasons, or to keep them up to date). When a firmware update is available, Bird Home Automation GmbH‘s servers generally automatically distribute it to all compatible products connected to the Internet or Bird Home Automation GmbH‘s servers. This process
is gradual and can take several weeks. As soon as a product receives a firmware update, the system will be installed and will restart by itself.
Installed firmware updates cannot be undone.
Since the products and software of Bird Home Automation GmbH are not explicitly customer-specific products, a customer cannot deny an automatic update if the product is connected to the Internet or to the Bird Home Automation GmbH’s server.
Instructions for disposal
Do not dispose of the device with regular domestic waste. Electronic equipment must be disposed e.g. at local collection points for waste electronic equipment in compliance with the Waste Electrical and Electronic Equipment Directive.
Publisher
Bird Home Automation GmbH
Joachimsthaler Str. 12
10719 Berlin
Germany
Web: www.doorbird.com
Email: [email protected]























