SIGNATURE HARDWARE 440542 Banewell During Colgante Hanging Light

Banewell Pendant Colgante Luminaire Suspendu
SKU: 453836
Banewell Pendant Colgante Luminaire Suspendu is an electrical fixture that requires professional installation. It is important to observe all local plumbing and building codes during installation. Signature Hardware recommends consulting a professional if you areunfamiliar with installing electric fixtures. Signature Hardware does not accept liability for any damage to the faucet, plumbing, sink, countertop, or personal injury during installation.
Product Before You Begin
Unpack and inspect the product for shipping damage before beginning installation. In case of any damage, contact Signature Hardware by visiting www.signaturehardware.com or emailing [email protected].
Product Getting Started
Ensure that you have gathered all the required materials that are needed for the installation. Recommended tools for assembly include: safety goggles, wire cutters, wall anchor (2 pcs), Phillips screwdriver, mounting bracket (1 pc), wood screws (2 pcs), ball nut (1 pc), mounting screws (1 pc), and threaded tube (1 pc).
Care Instructions
To clean the fixture, wipe it with a soft cloth. Clean the glass with a mild soap. Do not use abrasive materials such as scouring pads or powders, steel wool or abrasive paper.
Instructions for Installation
- Install the plastic anchor (G) into the wall.
- Attach the mounting bracket (B) to the plastic anchor (G) using wood screws (2 pcs).
- Thread one end of the threaded tube (M) into the fixture (A).
- Thread the other end of the threaded tube (M) into mounting bracket (B).
- Determine the length of chain required to hang the fixture and attach one end of the chain (K) to the open loop (J) of the fixture.
- Attach the other end of the chain to loop (I). Request assistance for this step since fixture may be heavy and difficult to hold while attaching the chain.
- Unwrap supply wire and ground wire and weave them up through the chain.
- Connect the ground wire to mounting bracket (B) using green ground screw.
- Connect the supply wires to the electrical box following local electrical codes.
Additional Questions
If you have any further questions, check out Signature Hardware’s Help Center at www.signaturehardware.com for product and warranty information, or contact their customer service through live chat or by emailing [email protected].
BEFORE YOU BEGIN
We recommend consulting a professional if you are unfamiliar with installing electric fixtures. Signature Hardware accepts no liability for any damage to the faucet, plumbing, sink, counter top, or for personal injury during installation.
Observe all local plumbing and building codes.
Unpack and inspect the product for shipping damage. If any damage is found, contact our Customer
- Relations team via live chat at www.signaturehardware.com or by emailing [email protected].
GETTING STARTED
Ensure that you have gathered all the required materials that are needed for the installation.
ADDITIONAL QUESTIONS?
Still need help? Check out our Help Center at www.signaturehardware.com for product and warranty information, or contact us through live chat or by emailing [email protected].
FOR YOUR SAFETY
WARNING: Be sure the electricity to the wires you are working on is shut off, either the fuse is removed or the circuit breaker is shut off. You don’t need special tools to install this fixture. Be sure to follow the steps in the order given. Under no circumstances should a fixture be hung on house electrical wires, nor should a swag type fixture be installed on a ceiling which contains a radiant type heating system. Read instructions carefully, if you are unclear as to how to proceed, consult a qualified electircian.
CARE INSTRUCTIONS
To clean, wipe fixture with a soft cloth. Clean glass with a mild soap. Do not use abrasive materials such as scouring pads or powders, steel wool or abrasive paper.
TOOLS REQUIRED FOR ASSEMBLY & INSTALLATION
(not included):



RECOMMENDED TOOLS AND ACCESSORIES





SAVE THIS MANUAL: RETAIN FOR CONSUMER ’ S USE. READ THESE INSTRUCTIONS COMPLETELY BEFORE INSTALLING THE PRODUCT: FOR PRODUCT OR INSTALLATION QUESTIONS PLEASE CALL CUSTOMER SERVICE AT 1-800-221-3379.
INSTALLATION
(FIG 1)
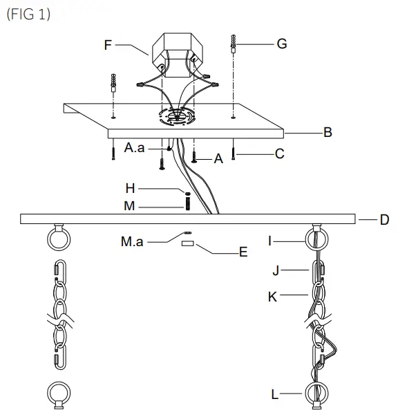
- Install the plastic anchor (G) into the wall.

- Secure mounting bracket (B) to the outlet box with outlet box screw (A) and wood screw (C).
- Thread hex nut (G) onto threaded tubing (M).
- Thread other end of threaded tube (M) into mounting bracket (B).
- Taking the chain, determine the length you require to hang the fixture.
- Attach one end of the chain (K) to the open loop (J) of the fixture.
- Attach other end of chain to loop (I). Request assistance for this step since fixture may be heavy and difficult to hold while attaching the chain.
- Unwrap supply wire and ground wire and weave them up through the chain.
- Connect ground wire to mounting bracket (B) using green ground screw .
- Connect lead supply wire (typically black or the red of the two-conductor cord) to lead fixture wire (typically black or the smooth, marked side of the two-conductor cord) with appropriately sized twist on connector.
- Connect neutral supply wire (typically white of the twoconductor cord) to neutral fixture wire (typically white or the ridged, unmarked side of the two-conductor cord) with appropriately sized twist on connector.
- After wires are connected, tuck them carefully inside outlet box.
- Slip matching hole of canopy (D) over threaded tubing (M) and slide up till canopy is against ceiling . Hold fixture position.
- Thread hex nut (M.a) then ball nut (E) onto end of threaded tubing (M) and tighten to secure fixture to ceiling.


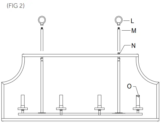
- Install the tube (M) into the nipple (N).
- Install the loop (L) into the tube (M).
- Install light bulbs (not provided). Please do not exceed the maximum wattage capacity recommended on the socket (O). We recommend the use of a clear light bulb.























