SIGNATURE HARDWARE 476929 Colgante Pendant Light Instruction Manual
BEFORE YOU BEGIN
We recommend consulting a professional if you are unfamiliar with installing electric fixtures. Signature Hardware accepts no liability for any damage to the property, the product or for personal injury during installation. Observe all local electrical building codes. Unpack and inspect the product for shipping damage. If any damage is found, contact our Customer Relations team via live chat at www.signaturehardware.com or by emailing [email protected].
GETTING STARTED
Ensure that you have gathered all the required materials that are needed for the installation.
ADDITIONAL QUESTIONS?
Still need help? Check out our Help Center at www. signaturehardware.com for product and warranty information, or contact us through live chat or by emailing [email protected].

FOR YOUR SAFETY
WARNING: Be sure the electricity to the wires you are working on is shut off, either the fuse is removed or the circuit breaker is shut of. You don’t need special tools to install this fixture. Be sure to follow the steps in the order given. Under no circumstances should a fixture be hung on house electrical wires, nor should a swag type fixture be installed on a ceiling which contains a radiant type heating system. Read instructions carefully. If you are unclear as to how to proceed, consult a qualified electrician.
CARE INSTRUCTIONS
To clean, wipe fixture with a soft cloth. Clean glass with a mild soap. Do not use abrasive materials such as scouring pads or powders, steel wool or abrasive paper.
TOOLS AND MATERIALS:

”





INSTALLATION
- Carefully push fixture wires up through bottom of stem (P). Pull fixture wires out of top of stem (P). Pull fixture wires taut. Screw bottom of stem (P) onto top of fixture body (O).

- Determine desired hanging height of fixture. Select the quantity of stems (M) to achieve that height
- Carefully push fixture wires from top of stem (P) up through bottom of stem (M). Pull fixture wires out of top of stem (M). Pull wires taut.
- Carefully push fixture wires through remaining stems (M). Thread stems (M) together carefully keeping fixture wires taut.
- From last stem (M), push fixture wires up through swivel (S) attached to canopy (D). Carefully pull fixture wires up through canopy (D). Keep fixture wires pulled taut.
- Screw last stem (M) to swivel (S) on canopy (D).

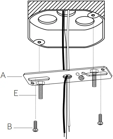
- Carefully pull house wires down out of junction box so ] house wires are easily accessible to connect fixture wires.
- Position mounting bracket (A) so threaded ends of ] attached fixture mounting screws (E) are facing down towards floor
- Carefully pull house wires through center hole in mounting bracket (A).
- Align small holes in mounting bracket (A) with holes in junction box.
- Thread each junction box screw (B) into each hole in mounting bracket (A) and into holes in junction box. Tighten junction box screws (B) to secure mounting bracket (A) to junction box.

- Strip 3/4” of insulation from ends of fixture wires
- Twist the end of fixture white wire to the end of house white wire together. Twist a wire nut onto ends of wires. Wrap electrical tape around wire nut and wires to secure connection. Twist the end of fixture black wire and the end of house black wire together. Twist a wire nut onto the ends of wires. Wrap electrical tape around wire nut and wires to secure connection. Loosen ground screw on mounting bracket (A). Wrap house ground wire around ground screw leaving enough ground wire to attach to fixture ground wire. Twist the end of fixture ground wire to the end of house ground wire together. Twist a wire nut onto ends of wires. Wrap electrical tape around wire nut and wires to secure connection.
Note: If you have electrical questions consult your local electrical code for approved grounding methods. - After wires are connected, carefully tuck wires inside junction box.
- Carefully raise fixture up to ceiling. Place canopy (D) over mounting bracket (A). Pass holes in canopy (D) over ends of fixture mounting screws (E).
- Screw one threaded cap (F) onto each fixture mounting screw (E). Tighten threaded caps (F) to secure fixture to ceiling. DO NOT over tighten.

- Screw recommended bulb (E12 Candelabra bulb type, not included) into socket. Verify correct bulb wattage marked on socket of fixture. WARNING: DO NOT exceed maximum bulb wattage.
- Raise glass shade (K) up to fixture. Pass the hole in top of glass shade (K) over bulb. Fit top of glass shade (K) into socket cup. Screw one thumbscrew (L) into each hole in socket cup. Equally tighten thumbscrews (L) to secure glass shade (K) in place. DO NOT over tighten.






















