V2C Trydan Smartest Charger User Manual
Dear Customer, The entire V2C team would like to thank you for purchasing one of our e-Chargers. Our passion for design and innovation makes all our products leaders in technology and design. If you have any suggestions for improvement, you can send us an email to [email protected]. We hope you enjoy it. Thank you, the V2C Team
V2C bears the CE symbol. V2C applies the corresponding declarations of conformity.
V2C complies with the ROHS directive (2011/65/EC). V2C applies the corresponding declarations of conformity.
Electrical and electronic equipment and its accessories should be disposec of separately from household waste.
SAFETY WARNINGS
- The owner is obliged to comply with the safety instructions. V2C accepts no liability for any claims arising from such non-compliance.
- This mode 3 charging point is classified in accordance with section 5 of UNE-EN 61851-1 in an EV power supply system connected to an AC mains supply. Depending on the version chosen, the EV power supply system will be plug and cord or permanently connected. It can be used both outdoors and indoors, and can be used in both restricted and unrestricted access.
- Never use damaged, worn or dirty charging connectors.
- The owner shall ensure that the charger is always operated in perfect condition.
- The charging plug or connector (including the charging cable) and the charging station housing must be checked regularly for damage (visual inspection).
- In the event of a defect, the charging station must be disconnected and replaced.
- Repairs to the charging station are prohibited and may only be carried out by the manufacturer (e-Charger must be replaced).
- Do not make any unauthorized change or modifications to the charging station!
- The use of adapters or converters/prolongers is not permitted.
- Do not remove any identification such as safety symbols, warning signs, type plates, nameplates or line markings!
- Unplug the charging cable by pulling on the connector, never on the cable. Danger of damage!
- Never clean the charging station with a high-pressure water jet (hose, high pressure cleaner, etc.)
LEGAL NOTICE
This manual is subject to change without notice. The images in this manual contained in this manual are representative and may differ slightly from the actual products.
GENERAL CHARACTERISTICS

e-Charger: Trydan
Color: Black
Material: Polycarbonate MVR
Weight: 7 kg
Hose length: 5 m / 10 m
Hose type: Smooth / Spring
Operating temperature: -25º a 50º
Storage temperature: -40º a 70º
Display*: 2,6”
Illumination according to charge state.
Depending on model.
Product number composition
- Model TRY
- Intensity 32
- Grid type 1
- Hose type L5
- 10m L10
- Spring M
- Socket S
- Protections P
- Schuko SC

- Accessories:
- Leak detector V2C-F
- Remote control V2C-R
- Cable support V2C-SOP
- Stand V2C-PED

V2C LED LIGHTING INDICATIONS
The V2C logo on the front of the e-Charger lights up according to the charging status:
White: the vehicle is not connected.
Blue flashing: vehicle is charging. The speed of the flashing is directly related to the directly related to the intensity of the charge.
Light blue: timer activated. Charging is scheduled.
Green: vehicle charging is complete. Green flashing: it reports that it is connected to V2C Cloud via WiFi.
Red: Error 1 (Communication) or Error 2 (Message).
Pink: the e-Charger is being updated.
Yellow: Control Pilot Error (car communicatin error)
V2C CLOUD
Download the App
Create an account
- On the ‘Login’ screen click on “Sign up here”. (You can also log in to the app using your Google or Apple account).
- Enter your email and password and tap on ‘Create account’.
- Access the email address provided above and verify your account by clicking on the link.
- Your account is now created. You can log in to the app with your email and password.

Add your e-Charger
- On the main screen of the app, click on the ‘+’ icon at the top right.

- Enter the ID number of the charging point manually or by scanning the QR code on the sticker on the charger. Find the label containing the serial number on the side of the e-Charger.

- Add a name (you can change it later).
- Click on “Add charger”.
Program a charge
Charges can be programmed for Bluetooth or WiFi devices.
- Access the app and tap on the charging point.
- Click on the calendar icon. You have two timers: Timer 1 and Timer 2. Select the day of the week and the time you want it to be activated. You can work with both in combination. For example, Monday from 16.30-18.30 in timer 1 and Monday from 19.15 to 20:00 in timer 2. So that between 18:30 and 19:15 the recharging point will be stopped.

View statistics
- Global statistics of all our chargers: click on the button at the top right.
- Statistics of a single charger: select the e-Charger you wish to consult and then select the icon with the 3 dots.
Global statistics
Statistics of a single charge
Update your e-Charger
When your charger needs updating you will receive a notification. Make sure you have a stable WiFi connection.
- Select the charger.

- Click on the settings icon at the top right.

- Scroll to the bottom of the page and click on ‘Update fimware’.

If the ‘Update fimware’ option does not appear, this means that you already have the latest version.
DYNAMIC POWER CONTROL
- Log in to the V2C Cloud application.

- Select the e-Charger and access its configuration.

- Click on ‘Dynamic power control’.

- Activate dynamic power control and select the meter and type of installation.

- Go back to the configuration screen and access ‘Configure dynamic control’.

- Specify the minimum recharge current (> 6 Amps) and maximum current (< 32 Amps). After select ‘Configure installation power’.

- Establish different time slots and the maximum contracted power. In the case of having a single power range, add the timetable from 00:00 to 24:00 both daily and at weekends. If it is a photovoltaic installation, indicate the operating mode in each time slot (PV + Minimum power, Exclusive PV or Grid + Photovoltaic).

ALEXA
Pair your Alexa device with your e-Charger for a voice-controlled, immersive technology
experience.
Pair your e-Charger with Alexa by following the instructions below:
https://v2charge.com/wp-content/uploads/2022/05/Link-Alexa.pdf
Get to know Alexa’s functional commands:
https://v2charge.com/alexa-functional-commands/
FITTING AND REMOVAL OF THE HOSE
Positioning the hose
- Insert the hose into the holder, leaving a small gap at the bottom so that it does not collide with the integrated locking clip.

- Slide the hose down to snap it into the integrated locking clip.

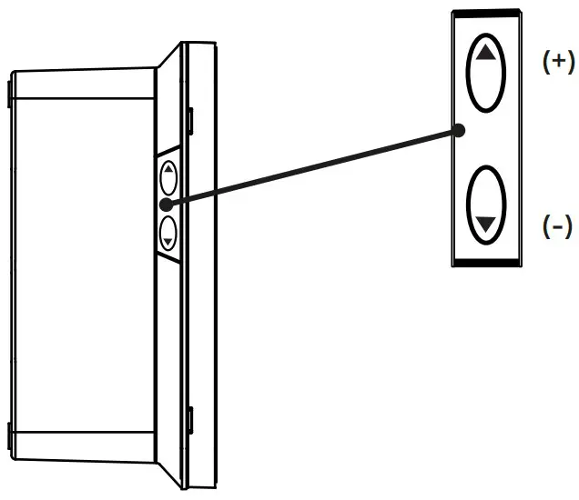
Trydan has two buttons at the top of the left side, as shown in the picture
To access the configuration you must press the two buttons simultaneously for 4 to 5 seconds. for 4 or 5 seconds.
The upper button is assigned to forward (+) and the lower button to backward (-).
There are 3 main configuration categories: System, Additional and Installation.
To move from one category to another you must press any button with a short press.
To enter a specific category, long press the button above.
Within the category, you can move from one parameter to another by short presses. To access and modify one of them, hold the top button with a long press.
Modify the parameter with short presses, and save the configuration with a long press on either of the two long press on any of the two buttons.
In the following link you can consult the Display Configuration Manual: https://drive.google.com/uc?id=13uBfzsA67QOw0xbnPUuLtEp1M_gjMXx&export=download You can also consult the display configuration menu schematic:
https://drive.google.com/ucid=1KSXWJIZtp679WhPSLsF2YT8F9KQGUDi1&export=download
SUPPORT
In the following link you can find frequently asked questions and useful information when setting up and using your e-Charger: https://v2charge.com/trydan/support/
At V2C we have a Technical Support Centre. Enter the following link, fill in the required fields and we will contact you as soon as possible:
https://v2charge.atlassian.net/servicedesk/customer/portal/3/group/4/create/12
You can also access the Technical Support Centre through the V2C Cloud app
- Click on the User icon.

- Click on the Support section.

- Select ‘Report an incident’.

- Click on ‘Submit ticket’.

- Select the ‘Technical Support’ option.

You can also contact our Technical Support department on +34 64 420 49 92.










































