V2C Trydan 7.4 kW Electric Vehicle Charger

Dear Customer,
The entire V2C team would like to thank you for purchasing one of our e-Chargers.
Our passion for design and innovation makes all our products leaders in technology and design. If you have any suggestions for improvement, you can send us an email to [email protected].
We hope you enjoy it.
Thank you, the V2C Team.
V2C bears the CE symbol. V2C applies the corresponding declarations of conformity.
V2C complies with the ROHS directive (2077/65/EC). V2C applies the corresponding declarations of conformity.
Electrical and electronic equipment and its accessories should be disposed of separately from household waste.
SAFETY WARNINGS
Projection of debris, risk of injury.
Caution.
Risk of electric shock. Switch off and wait a few minutes.
Grounding required.
WARNING! Failure to comply with the safety instructions may result in danger to life, personal injury and damage to the device. V2C accepts no liability for any claims resulting from such non-compliance.
Electrical hazard! The installation, initial start and maintenance of the electrical charging station may only be carried out by qualified and competent personnel who are fully responsible for compliance with the existing installation regulations and standards.
This mode 3 charging point is classified according to section 5 of UNE-EN 67851-l in an EV power supply system connected to an AC supply network. Depending on the version chosen, the EV power supply system will be plug and cable or permanently connected. It can be used both outdoors and indoors and can be used in both restricted and unrestricted access. Mounting is on a wall/post/column, and on a flat surface. It has a class II electric shock protection.
Never use damaged, worn or dirty charging connectors.
The owner shall ensure that the charger is always operated in perfect condition.
The charging plug or connector (including the charging cable) and the charging station housing must be checked regularly for damage (visual inspection).
In the event of a fault, the charging station must be switched off and replaced.
Repair of the charging station is prohibited; it can only be carried out by the manufacturer (the e-Charger must be replaced).
Do not make any unauthorised alterations or modifications to the charging station!
The use of adapters or converters is not allowed.
Do not remove any identification such as safety symbols, warning signs, type plates, name plates or line markings!
Ventilation:
Due to the possible release of toxic or explosive gases during the indoor loading process, some require an external ventilation system.
Unplug the charging cable by pulling on the connector, never on the cable. Risk of damage!
Never clean the charging station with a high-pressure water jet (hose, high-pressure cleaner, etc.)!
LEGAL NOTICE
This manual is subject to change without notice. The images contained in this manual are representative and may differ slightly from the actual products.
GENERAL CHARACTERISTICS

e-Charger: Trydan
Colour: Black Material, Polycarbonate MVR
Weight: 2 kg (without hose) 2,5 kg (without charging cable and with protections) Hose length, 5 m / 10 m
Hose type: Smooth/ Spring
Operating temperature: -5° a 45° Storage temperature, -40° a 70° Display•, 7″ RGB lighting depending on state of charge.
Product number composition
Model.
Intensity.
Network type.
Hose type.
Protections.
Accessories
Leak detector:
Remote.
Display.
TOOLS REQUIRED FOR INSTALLATION
- Drill

- Screwdriver.

- Hammer.

- Measuring tape.

- Crown drill bit.

- Pencil.

ACCESSORIES INCLUDED IN THE RECHARGING POINT
![]() | Cable glands. | xl |
![]() | Zinc-plated star screw with 04,8x32mm. | x4 |
![]() | Pan head screw with 03x6mm washer. | x5 |
![]() | N+Plus Nylon Plug 06x3Omm | x4 |
![]() | Plug BLG Barrel BK l5,9×8,5mm. | x4 |
![]() | Methacrylate protector with 06mm holes. | x1 |
FOLLOW THESE STEPS FOR THE INSTALLATION
- Drill an hole on the top of the charger -s case with the crown bit. Place the cable gland and pass the cable through it.

- Ensure safe distances for installation.

- Place the template over the installation space and mark the drilling points with a pencil.

- Drill over the drilling points with a 06mm drill bit.

- Insert the 06x3Omm Taco N+Plus Nylon plugs.

- Place thee-Charger on the wall and match the holes with the previously drilled holes.

- Insert the 04,8x32mm zinc-plated pan-head screws and then the plugs.

- Connect the wires to the protections (if present) or to the electrical terminals (if not present). See point 7.

- Screw on the acrylic plexiglass protector with 03×6,8mm.

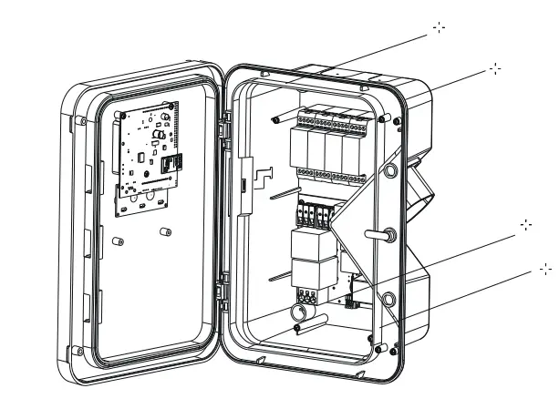
WIRING INSTALLATION
The power supply line must be connected to an existing installation and must conform to local regulations. Observe the applicable national and international installation standards (e.g. IEC 60364-7 and IEC603645-52).
Selection of the residual current circuit breaker (RCB).
Each charging station must be connected to its own residual current circuit breaker. No other current circuits must be connected to this residual current circuit breaker. A suitable rated current IN must be selected for the circuit breaker fitted. (In accordance with each country’s standard).
Circuit breaker sizing.
Determine the rated current according to the data on the rating plate, in accordance with the selected load power and the supply line. Depending on the national regulations, it may be necessary to add additional protection elements.
Sizing of the supply line.
When dimensioning the installation, please do so according to the current state regulations.
Be aware of the temperatures that the cable may suffer assuming the charge characteristics.
Network connection device.
The charging station does not have a power switch. The differential and the circuit breaker in the supply line act as a mains connection device. The charging station can be switched on at all times and only switched off in the event of infrequent use.
Single-phase configuration.
Connect the wires to the connection terminal according to the attached drawing: yellow wire (l) to equipotential bonding (PE), blue wire (2) to neutral (N) and brown wire (3) to phase R (Ll).
Three-phase configuration.
Connect the wires to the connecting terminal according to the attached drawing: yellow wire (l) for equipotential bonding (PE), blue wire (2) for neutral (N), brown wire (3) for R Phase (Ll), black wire (4) for S Phase (L2) and grey wire (5) for T Phase (L3).
Single-phase configuration with protections.
Connect the cables to the connection terminal according to the attached drawing: blue wire (l) to terminal N, brown wire (2) to terminal Land yellow wire (3) to terminal PE.
FITTING AND REMOVAL OF THE HOSE
Hose setup.
- Insert the hose into the hose holder leaving a small gap at the bottom, so that it does not collide with the integrated locking clip.
- Slide the hose down to engage it into the integrated locking clip.

Hose removal.
- Slide the hose upwards to release it from the locking clip.
- Pull the hose outwards, out of the holder.

V2C LED LIGHTING INDICATIONS
The V2C logo on the front of thee-Charger lights up according to the charging status:
White: vehicle has no hose connected.
Blue flashing: the vehicle is charging. The speed of the flashing is directly related to the intensity of the charge.
Green: vehicle charging is complete.
Pink: thee-Charger is being update.
DYNAMIC POWER CONTROL INSTALLATION
- Connect the 8-wire UTP cable between the slave and the charging point according to the T-568A protocol. Both the slave and the charging point are equipped with RJ45 input. For more information please see Trydan support page: www.v2charge.com/trydan/support

Parallel cable connection: one end to the slave and the other end to the recharging point.
V2C CLOUD
Find on the side of thee-Charger the label with the serial number.

Download the app
From Android.
Create an account.
- On the ‘Login’ screen, click on “register here”. You can also log in to the app using your Google or Apple account.
- Enter your email address and password and click on ‘Create account’.
- Access the email address above and verify your account by clicking on the link.
- You can log in to the app with your email and password.
Add your e-Charger.
- On the main screen of the app, click on the’+’ icon at the top right.
- Enter the ID number of the recharging point manually or by scanning the QR code on the sticker on the charger.
- Add a name (whatever you want, it can be changed later) and select the model of your e-Charger (Trydan, Pole, Screen or Plus).
- Click on “Add charger”.
For more information, please see the Trydan support page: www.v2charge.com/trydan/support
www.v2charge.com



























