HAYSI
PENDANT
SKU: 440542
BEFORE YOU BEGIN
We recommend consulting a professional if you are unfamiliar with installing electric fixtures. Signature Hardware accepts no liability for any damage to the faucet, plumbing, sink, counter top, or for personal injury during installation. Observe all local plumbing and building codes. Unpack and inspect the product for shipping damage.
If any damage is found, contact our Customer
Relations team via live chat at www.signaturehardware.com or by emailing [email protected].
GETTING STARTED
Ensure that you have gathered all the required materials that are needed for the installation.
ADDITIONAL QUESTIONS?
Still need help? Check out our Help Center at www.signaturehardware.com for product and warranty information, or contact us through live chat or by emailing [email protected].
FOR YOUR SAFETY
WARNING: Be sure the electricity to the wires you are working on is shut off, either the fuse is removed or the circuit breaker is shut off. You don’t need special tools to install this fixture. Be sure to follow the steps in the order given. Under no circumstances should a fixture be hung on house electrical wires, nor should a swag type fixture be installed on a ceiling which contains a radiant type heating system. Read instructions carefully, if you are unclear as to how to proceed, consult a qualified electrician.
TOOLS AND MATERIALS:
| Light Bulb (A19 100 watt maximum) | |
| Safety Glasses | |
| Wire Stripper | |
| Step Ladder | |
| Phillips Screwdriver | |
| Flathead Screwdriver | |
| Wire Cutters | |
| Electrical Tape |
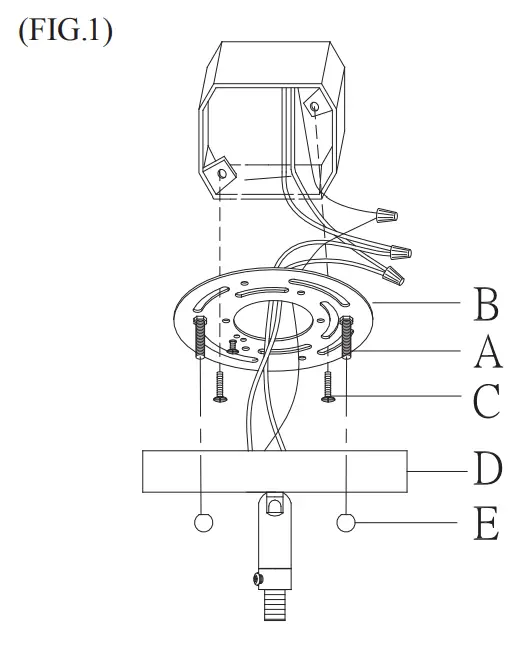
INSTALLATION (FIG. 1)
- Thread the mounting screws (A) into the matching holes in the circular strap (B).
- Secure circular strap (B) to the outlet box with outlet box screws (C).
- Connect the white wire from the fixture to the white wire from the outlet box and the black wire from the fixture to the black wire from the outlet box. Cover the two wire connections using the two provided wire connectors. Wrap the two wire connections with electrical tape for a more secure connection. Connect the copper ground wires from the fixture and from the outlet box to the ground screw on the circular strap.
Note: If you have electrical questions, consult your local electrical code for approved grounding methods. - After wires are connected, tuck them carefully inside outlet box. Raise the front plate (D) allowing for the mounting screws (A) to protrude through the holes on front plate (D), and secure with the ball nuts (E).
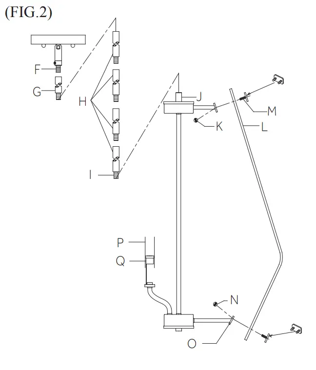
INSTALLATION (FIG. 2)

- Put the candle sleeve (P) over the socket (Q), then install light bulbs (not provided). Please do not exceed the maximum wattage capacity recommended on the socket (Q). We recommend the use of a clear light bulb.
- Assemble the top end of glass panels (L) onto the fixture body (K) using the screw (M) and ball nuts (K) and assemble the bottom end of the glass panels (L) onto the fixture body (O) using the screw (M) and ball nuts (N).
- Thread the tubes (H) and (G) together, and then thread the nipple (I) into the coupling (J) and thread the top end of the tube (G) onto the nipple (F).
1.855.715.1800
signaturehardware.com



















