AccuBANKER D585 Multi Scanix Counterfeit Detector

Introduction
The D585 incorporates the most modern techniques for the evaluation and detection of counterfeit bills. This detector assesses in detail the security features that are present in each bill and determines if these are genuine or suspicious. The equipment automatically alerts the user both visually and audibly when a suspicious bill is identified.
Box Contents

- D585
- Power Adapter
- User Guide
- Warranty Booklet
Safety Instructions
Warning
- Do not use this product in areas where it may be exposed to water or other liquids.
- Unplug this product from the electric outlet before cleaning. Do not use liquid or aerosol cleaners. To clean, use a damp cloth.
- To reduce the risk of electric shock, do not disassemble this product. Take it to qualified service personnel when service or repair work is required. Opening or removing covers may expose you to dangerous voltages or other risks. Incorrect reassembly can cause electric shock when the appliance is subsequently used.
- Only use the cable provided with the unit. The use of other cables may result in electric shock, fire, or cause serious damage to the unit.
- Do not operate the unit in areas with high temperature or high humidity since it may prevent it from working correctly.
Caution
- When unplugging the power cord, do not pull it by the cord, but rather grip the plug to pull it out. Not following these instructions may result in electric shock, fire, or damage to the unit.
- Do not use the unit if the power cord is damaged or if the plug socket contact is loose. Not following these instructions may result in electric shock, fire, or other hazards.
- Do not place heavy objects over the cord and do not bend it excessively since it could get damaged. Not following these instructions may result in electric shock, fire, or other hazards.
- When not using the unit for a long time, remove the power plug from the electric outlet.
- Follow all warnings and instructions marked on the unit.
- This equipment is meant to be operated in an indoor environment with proper ventilation.
- Do not place near direct sunlight, heat sources, or air conditioners.
- This equipment should only be operated with the power cord supplied and the type of power source indicated in this user guide. If you are not sure of the type of power supply in your location, consult your vendor or local power company.
- To avoid the risk of fire or electric shock, never push objects into the equipment through the case slots or openings since they may touch dangerous voltage points or shortcut parts. Do not disassemble the unit.
- Never spill liquids of any kind on the equipment.
- Unplug this equipment from the wall outlet and refer servicing to qualified service personnel under the following conditions:
- When the power supply cord or plug is damaged or frayed*
- If liquid has been spilled into the unit or it has been exposed to rain or water*
- If the unit has been dropped or the case has been damaged*
- If the equipment shows a noticeable change in performance
If the unit does not operate normally while following the instructions, adjust only those controls covered by the operating instructions. Improper adjustment of other controls may result in damage and will often require extensive work by a qualified technician to restore the product to normal operation.
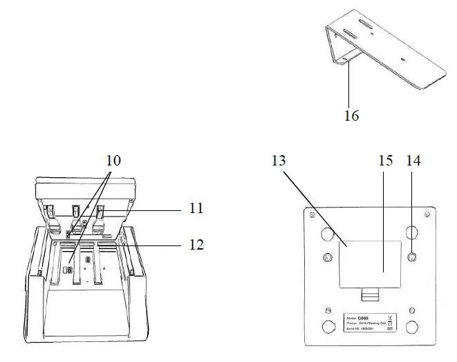
Equipment Overview
Part Description

- LCD Screen
- Control Buttons
- Feeding Channel
- SD Card Port
- Bill Guider
- Bill Exit Slot
- USB Port
- Adapter Port
- On/Off Power Switch

- Infrared Sensors
- Magnetic Sensors
- Feeding Belts
- Battery Compartment
- Openings for AccuStand Metal Base
- Battery
- AccuStand Metal Base (sold separately/optional accessory)
Control Panel Description

- Currency Type Indicator
- Bill Exit Direction
- Battery Level Indicator
- Change the Bill Exit Direction / Clear the Display Data
- Amount of Verified Bills
- Individual and Total Value of the Verified Bills
- Shows the Report of Accepted Bills by Denomination / Select the Currency Type to Verify
Operation
Basic Operation
- Connect the power cable to the detector and then connect the adapter to the power outlet. After turning on the detector, the equipment will begin a self-check process that lasts about 2 seconds. The display will read 0, which means that the equipment is ready to check the bills. If there is an error code, refer to the Error Messages section of this user guide on page 18.
- Select the type of currency to be verified (USD-EUR-GBP) by pressing the CURRENCY button.
- Insert the bill to be checked into the feeding channel (insert in any direction). When a bill is inserted into the feeding channel, an optical sensor located in this compartment allows the detector to automatically begin the verification process. The bill will pass through the equipment and be analyzed immediately.
- The detector will verify the bill and show the denomination as confirmation that it is genuine. Its value will be added to the verified total.
- If a bill is suspicious, it will be rejected and there will be two audible warnings. Its value will not be added to the current verified total. The error code corresponding to the suspect security parameter will appear on the screen as well as the word “FAILED”. The suspicious bill will then be rejected forward (even if the bill exit direction has been set to exit through the back of the equipment).
Suspicious Bill Warning
This equipment checks the Magnetic (MG), Infrared (IR), Watermark (WM), and Ultraviolet (UV) characteristics of the bills analyzed. If any of these security features do not pass the authentication of the bill, an error code will be displayed on the detector screen to show which security parameter failed. If a bill is detected as suspicious, we recommended passing the bill at least three more times in different positions. Bills can be rejected by the team due to different reasons:
- Bills are too crumpled
- Bills are very stained or dirty
- Ripped bills
- Wet bills
- Bills stuck with adhesive tape or stapled
Report Function
By pressing the REPORT/CURRENCY button repeatedly, the detector will show the number of bills counted for each denomination as well as the corresponding total.
Bill Exit Direction
The verified bill can be ejected through the back of the unit or be returned through the feeding channel where it was inserted. The user can select the desired bill exit direction by pressing the CLEAR / DIRECTION button.
Press the CLEAR/DIRECTION button and a corresponding symbol will be displayed on the screen to indicate to the user that the bill will come out through the front of the detector. Pressing this button again will change the selection and the symbol on the screen will change, indicating to the user that the bill will come out through the back of the unit.
Bill Positioning
- This equipment has the ability to verify the authenticity of bills in any of four positions.
- For correct verification, the bill must be introduced into the feeding channel straight and well-aligned to the left, as shown in Figure A. Avoid introducing the bill into the feeding channel at an angle as shown in Figure B.
- For correct verification of US dollar bills, always use the bill guider when checking bills.
- To check bills with different sizes, remove the bill guider.

Solutions to Operational Problems
Preventive Measures
For optimal operation of the detector, take into account the following:
- Avoid direct exposure to powerful sources of light as well as magnetic interference (ex. microwave), which will affect the sensors of the detector.
- Keep the sensors clean.
- Keep the equipment off when it is not being used for a long period of time.
- Check the status of the bills and avoid processing:
- Bills with clips, adhesive tape, or other glue
- Broken or badly damaged bills
- Bills affected by chemical agents of any kind
Maintenance
CAUTION: Before performing any cleaning process, turn off the equipment and unplug it. Please note that problems or defects caused by lack of maintenance are not covered under the warranty.
- a) Cleaning of optical sensors
It is important to periodically clean the optical sensors to prevent particles of paper or dust from adhering to them. - b) Internal cleaning of the unit
It is necessary to clean the interior of the unit once a month or when necessary. Turn off and unplug the machine before proceeding with this operation. Open the top cover of the unit to have better access to the optical and magnetic sensors. (Page 8)
Use a soft brush to help remove debris and dust from inside the unit. Use compressed air to remove dust from the inside.
Use an alcohol swab (Cleaning Swabs) to remove dust particles adhering to the magnetic heads. - c) Additional recommendations.
The equipment needs to be in a clean, dust-free environment.
Jamming
If any bill or other object accidentally jams inside the detector:
- Turn off the detector immediately.
- Open the top cover of the detector.
- Carefully proceed to remove the bill or object causing the problem.
- Turn on the detector again and verify it is working at an optimum level.
To avoid jamming, please:
- Ensure there are no foreign objects that could accidentally fall into the equipment (clip, tape, etc.)
- To avoid jamming the bills, position them correctly in the feeding channel.
- Make sure the bill does not have an adhesive tape.
- The bill cannot be very wrinkled or torn.
Sensor Calibration
If the detector is rejecting an unusual amount of bills, the equipment may need to have the sensors calibrated. Print and cut the D585 IR Calibration template in a regular sheet of white office paper (75g) to perform the calibration. Download the template from: www.accubanker.com/pages/support/D585
- Turn on the detector and press the “Clear/Direction” and “Report/Currency” buttons simultaneously to enter calibration mode H01.

- Press the “Report/Currency” button until the screen shows H08.
- Insert the bill size paper in the same manner as you would scan a bill.

- Press the “Report/Currency” button until the display shows H13. Rescan the bill size paper.

- Press the “Report/ Currency” button until the screen displays H15. Insert the bill size paper once more to finish the calibration.

- Turn the detector off and on and verify the calibration results. If this did not solve the problem, please contact our customer support for assistance
Software Updates
Steps to perform software update:
- Copy the programming software to a mini SD card.
- Turn off the detector.
- Insert the mini SD card into the update port at the side of the unit as the image shows.
- Turn on the detector. The code “512 boo7” will appear on the screen.
- Wait approximately 1 minute until the equipment restarts after completing the update.
- Turn off the detector and remove the mini SD card.
- Turn on the detector and check the update.

Error Code Messages
| ERROR | CAUSE | SOLUTION |
| CF1- 9 | Suspicious bill, unrecognized infrared image | – Ensure the inserted bill is aligned with the bill guider. – Clean the IR Sensors. If the error is repeated, insert the bill in a different position. |
| PPR | Suspicious bill, denomination not recognized | – Ensure the inserted bill is aligned with the bill guider. – Clean the IR Sensors. If the error is repeated, insert the bill in a different position. |
| MG | Suspicious bill, magnetic information unrecognized | – Ensure the inserted bill is aligned with the bill guider. – Clean the MG Sensors. If the error is repeated, insert the bill in a different position. |
| EJ | Suspicious bill, size of the bill is unrecognized | – Ensure the inserted bill is aligned with the bill guider. – Clean the IR Sensors. If the error is repeated, insert the bill in a different position. |
| EA | Bill not inserted correctly | – Ensure the inserted bill is aligned with the bill guider. – Verify the top is properly closed. |
Specifications
- Temperature: 32° – 104° F (0° – 40° C)
- Humidity: 25% – 80%
- Display: LCD Screen
- Processing Speed: 60 bills/min (Approx.)
- Power Supply: AC/DC Adapter; 100-240V 60/50 Hz / 5V 2A
- Battery: Rechargeable Lithium Battery 3.7V 2A
- Power Consumption: < 5W
- Dimensions: 5.0” x 5.5” x 3” (12.7cm W x 13.9cm L x 7.6cm H)
- Weight: 1.43lb (0.65kg)
AccuBANKER USA
7104 NW 50th St
Miami, FL 33166
9AM- 5PM ET Monday through Friday www.AccuBANKER.com
Please give us a call at 1-888-993-2228
























