
Fortis Electric Magnetic Elliptical Cross Trainer
User Guide

(FXT-360A)
FSAEXT360AA
SAFETY & WARNIGS
Read all of the instructions in this guide before using this product. Retain this guide for future reference. Do not skip, substitute or modify any steps or procedures in this guide, as doing so could result in personal injury or product damage.
- Before starting any exercise program, consult your physician to determine if you have any medical or physical conditions that could put your health and safety at risk or
prevent you from using the equipment properly. Your physician’s advice is essential if you are taking any medication that may affect your heart rate, blood pressure or cholesterol level. - Incorrect or excessive exercise can damage your health. Stop exercising if you experience any of the following symptoms: pain, tightness in your chest, irregular heartbeat, shortness of breath, light headedness, dizziness or feelings of nausea. If you experience any of these conditions, you should consult your physician before continuing with your exercise program.
- This equipment is intended for adult use only. Keep children and pets away from the machine. DO NOT leave children unattended in the same room with the equipment.
- Do not place fingers or any other objects into moving parts of the exercise equipment.
- This appliance is designed for consumer use. Follow directions and use only as described.
- Once fully assembled, inspect to ensure all hardware parts such as bolts, nuts and washers are positioned correctly and tightly secured. Do not use the equipment until this has been checked.
- Use the equipment on a solid, flat level surface with a protective cover for your floor or carpet. To ensure safety, the equipment should have at least 50 cm of free space on each side.
- Prior to assembly, ensure you have all the components and tools listed. Some components are pre-assembled to help with the assembly process.
- Always use the equipment as intended. If you find any defective components while assembling or checking the equipment, or if you hear any unusual noises coming from the equipment during exercise, cease use immediately and contact help.kogan.com for assistance. Do not use until resolved.
- There are many functions of the computer, which value will show when using the equipment according to the amount of exercise, here warmly remind you that the value of heart pulse just gives you some reference.
- Wear suitable clothing while using the equipment. Avoid wearing loose clothing that may get caught in the equipment or that may restrict or prevent movement.
- Do not exceed the maximum user weight of 120 KG.
- This equipment is designed for indoor and family use only.
- The equipment is not suitable for therapeutic use.
OVERVIEW

| No. | Description | Qty. | No. | Description | Qty. |
| 1 | Main frame | 1 | 19 | Bolt M8 x 20 x S6 | 2 |
| 2 | Front stabiliser | 1 | 20 | Washer d8 x 4’28 x 2 | 2 |
| 3 | Bolt M8 x 75 x 20 x H5 | 4 | 21 | Universal joint | 2 |
| 4 | Arc washer d8 x 4)20 x 2 x R30 | 22 L/R | Crank | 2 | |
| 5 | Washer d8 | 16 | 23 L/R | Pedal supporting rod | 2 |
| 6 | Nut M8 x H16 x S13 | 4 | 24 | Bolt M8 x 45 x 20 x S14 | 4 |
| 7 | Rear stabiliser | 25 L/R | Pedal | 2 | |
| 8 | Handlebar post | 1 | 26 | Washer d8 x 4)16 x 1.5 | 6 |
| 9 | Bolt M8 x 16 x S6 | 6 | 27 | Nut M8 x H7.5 x S13 | 6 |
| 10 | Washer d8 x (I)20 x 2 | 4 | 28 | Handle pulse wire | 1 |
| 11 | Arc washer d8 x 4)20 x 2 x R16 | 6 | 29 | Middle handlebar | 1 |
| 12 | End cap 4)60 x 45.5 x 74.5 x 74.5 | 2 | 30 | Bolt M8 x 30 x S6 | 2 |
| 13 | Trunk wire 1 | 1 | 31 | Cover 71 x 58 x 40 | 1 |
| 14 | Plug 4)12 x 11 x 4)3 | 1 | 32 | Console | 1 |
| 15 | Trunk wire 2 | 1 | 33 | Screw M5 x 10 x 4)10 | 4 |
| 16 L/R | Swing rod (L/R) | 2 | L/R 34 | Handlebar (L/R) | 2 |
| 17 | Bolt M8 x 16 x S13 | 2 | 35 | Bolt M8 x 43 x 20 x H5 | 4 |
| 18 | Washer d8 x 632 x 2 | 2 | 36 | Wave washer d17 x 622 x 0.3 | 2 |
| No. | Description | Qty. | No. | Description | Qty. |
| 37 | Screw ST4.2 x 19 x 08 | 4 | 54 | Bushing 031.8 x 019.2 x 77.9 | 2 |
| 38 L/R | Cover L/R | 2 | 55 | Bushing t14 x 08.3 x 59.5 | 2 |
| 39 L/R | Cover L/R | 2 | 56 | Bushing 1 032 x 3 x 028 x 16 x 0)14.3 | 4 |
| 40 | Screw M5 x 10 x 09 | 4 | 57 | End cap 060 x 070 x 95 | 2 |
| 41 L/R | Cover L/R | 2 | 58 | Screw ST3 x10 x 05.6 | 2 |
| 42 UR | Cover L/R | 2 | 59 | Bolt M8 x 75 x 13 x S13 | 2 |
| 43 L/R | Cover L/R | 2 | 60 | Plug 018 x 3 x 014 x 7 x 010.1 | 4 |
| 44 L/R | Cover L/R | 2 | 61 | End cap J60 x 30 x 15 | 2 |
| 45 | End cap 032 x 46 x 050 | 2 | 62 | Bolt M10 x 55 x 20 x 17 | 2 |
| 46 | Foam grip 030 x 5 x 630 | 2 | 63 | Washer d10 x 020 x 2.0 | 2 |
| 47 | End cap 025 x16 | 2 | 64 | Nut M10 x H9.5 x S17 | 2 |
| 48 | Handle pulse | 2 | 65 | Bushing 028 x 4 x 024 x 12 x cM6.2 | 4 |
| 49 | washer d5 x 010 x 1.0 | 2 | 66 | Adaptor | 1 |
| 50 | Screw ST4 x 19x 07 | 2 | A | Spanner t4.0x 140 x 30 x S13 x S15 | 1 |
| 51 | Foam grip 0)23 x 3 x 420 | 2 | B | Spanner S6 | 1 |
| 52 | Bushing 4 0)32 x as x 028 x 20.5 x 0)19.1 | 4 | C | Spanner S13-14-15 | |
| 53 | Wave washer d19 x 025 x 0.3 | 2 | |||
ASSEMBLY
Step 1:
Secure front stabiliser (2) and rear stabiliser (7) to main frame (1) with bolt (3), arc washer (4), washer (5) and nut (6) separately.

Step 2:
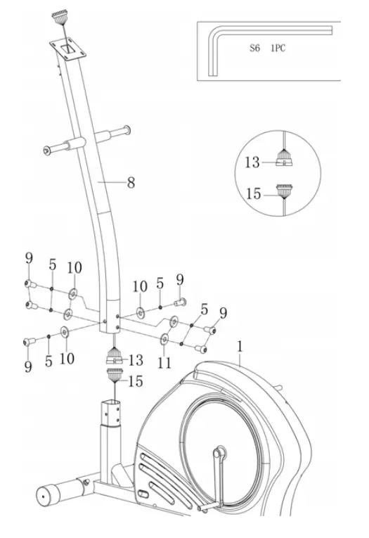
Remove the pre-installed bolt (9), washer (5), arc washer (11) and washer (10) from the mainframe (1), please reserve for pending step.
Connect trunk wire (13) with sensor wire (15).
Secure the handlebar post (8) to the mainframe (1) with bolt (9), washer (5), arc washer (11) and washer (10).

Step 3:
Remove the pre-installed bolt (17), washer (5) and washer (18) from the handlebar post (8), please reserve for pending step.
Insert the swing rod (16L/R) to the fixed axle of handlebar post (8). Secure the swing rod (16L/R) into the handlebar post (8) with the bolt (17), washer (5) and washer (18).
Insert the universal joint (21) to the crank (22). Secure the universal joint (21) to the crank (22) with bolt (19), washer (5), washer (20) and wave washer (36).
Insert the swing rod (16L/R) to the U plate in front of the pedal supporting rod (23L/R). Then Secure them with the bolt (59), washer (26) and nut (27).

Step 4:
Secure pedal (25L/R) to pedal supporting rod (23L/R) with bolt (24), washer (26) and nut (27) separately.

Step 5:
Connect the console wire (32a) with trunk wire (13). Then secure the console (32) to the handlebar post (8) with the bolt (33).
Remove the pre-installed bolt (30) and washer (5) from the handlebar post (8).
Secure the middle handlebar (29) to the handlebar post (8) with the bolt (30) and washer (5).
Insert handle pulse wire (28) into the hole on the back of the console (32). Then attach the cover (31).

Step 6:
Insert handlebar (34L/R) into the swing rod (16L/R) separately.
Secure the handlebar (34L/R) with bolt (35), arc washer (11) and nut (27) separately.

Step 7:
Buckle up the cover (38L) and cover (38R) to the pedal supporting rod (23L). Then fix it with screw (37), as the diagram A.
Buckle up the cover (39L) and cover (39R) to the pedal supporting rod (23R). Then fix it with screw (37), as the diagram B.

Step 8:
Buckle up the cover (41L) and cover (42L) to the universal joint (21). Then fix it with screw (40), as the diagram A.
Buckle up the cover (41R) and cover (42R) to the universal joint (21). Then fix it with screw (40), as the diagram B.

Step 9:
Buckle up the cover (44L) and cover (43L) to the swing rod (16L).
Buckle up the cover (44R) and cover (43R) to the swing rod (16R).
Before using the unit, first, insert the round plug of the adaptor (66) into the hole in the mainframe (1). Then insert the plug into the power socket.

PROGRAMS
Motorised Computer Operation
There are 21 programs in the computer.
A: 1 manual setting

B: 10 preset program profiles (PROGRAM: P1-P10)


C: 5 custom user setting programs (CUSTOM: P11 ~ P15)
- Record the user’s data of 5 User Setting Programs.
- Display Speed (RPM), TIME and WATT, CAL and DIST, at the same time

D: 1 watt control program (WATT PRO: P16)

E: 4 Heartrate control program: (PULSE PRO: P17-P20)
- 55% HR, 75% HR, 95% HR and TARGET HR
- HR = Heartrate

Note:
The computer will turn off automatically if there is no operation, speed signal and pulse signal over 4 minutes. It will store your current exercise data and run the loading resistance to the minimum. Once you press any button or in motion, the computer will turn on automatically.
- ENTER
In “stop” mode, press ENTER button to enter into program selection and setting value which flash in the related window.
• When selecting a program, press Enter to confirm selection.
• When in setting, press ENTER to confirm the value that you would like to preset.
In “start” mode, press ENTER to choose to display the speed or RPM, or to switch automatically.
There are 10 columns of loading bars and 8 bars in each column.
Each column represents a 1-minute workout (without the change of TIME value) and each bar represents 2 levels of loading. - START/STOP
• Press the Start/Stop button to start or stop the programs.
• During any mode, hold down this button for 2 seconds to reset the computer. - UP
• In “stop” mode and the dot matrix character flash, press this button to select the program up. If the related window value flashes, press this button to increase the value.
• In “start” mode, press this button to increase the training resistance. - DOWN:
• In “stop” mode and the dot matrix character flash, press this button to select the program down. If the related window value flashes, press this button to decrease the value.
• In “start” mode, press this button to decrease the training resistance. - RECOVERY
• First, test your current heart rate and show your heart rate value, press this button to enter into pulse recovery testing.
• When you are in pulse recovery mode, press this button to exit.
Note:
- To press or rotate of UP, DOWN button should befollowed by a different model.
- It is suggested to cover your finger within the marked region to select functions in case of any wrong action.
OPERATION
1. Turn on the computer
Plug in one end of the adaptor to the AC electrical source and connect the other end to the computer.
The computer will beep and enter into the initial mode.
2. Program select and value setting
Manual Program and Preset Program P1-P10
- Press UP, DOWN button to select the desired program.
- Press ENTER button to confirm the selected program and enter time setting window.
- The time will flash and then press UP, DOWN button to set up your desired time. Press ENTER to confirm the value.
- The distance will flash and then press UP, DOWN button to set up the desired distance value. Press ENTER to confirm the value.
- The calories will flash and then press UP, DOWN to set up the desired calories to be consumed. Press ENTER to confirm the value.
- Press START/ STOP to begin exercise.
Custom User Profile Programs: (P11-P15)
- Press UP, DOWN button to select the user.
- Press ENTER to confirm your choice and enter into time setting window.
- The time display will flash and then press UP, DOWN button to set up the desired time to do the exercise. Press ENTER to confirm the value.
- The distance will flash and then press UP, DOWN button to set up the desired distance value. Press ENTER to confirm the value.
- The calories will flash and then press UP, DOWN button to set up the desired calories to be consumed. Press ENTER to confirm the value.
- The first resistance level will flash and then press UP, DOWN button to set the desired load resistance. Press ENTER to confirm. Then repeat above operation to set the resistance from 2 to 10.
- Press START/ STOP to begin exercise.
Watt Control Program (WATT PRO: P16)
- Press UP, DOWN to select the watt control program.
- Press ENTER to confirm the selected watt control program and enter into time setting window.
- The time will flash and then press UP, DOWN button to set up the desired time, press ENTER to confirm the value.
- The distance will flash and then press UP, DOWN button to set up the desired distance value. Press ENTER to confirm the value.
- The calories will flash and then press UP, DOWN button to set up the desired calories to be consumed. Press ENTER to confirm the value.
- The watt display will flash and then press UP, DOWN button to set up the watt to do the exercise. Press ENTER to confirm the value.
- Press START/ STOP to begin exercise.
Note:
The WATT value is decided by the TORQUE and RPM. In this program, the WATT value will keep at a constant value. It means that if you peddle quickly, the load resistance will decrease and if you peddle slowly, the load resistance will increase to ensure you at the same watt value.
Heart Rate Control Program: 55% H.R, 75% H.R And 95% H.R (Pulse Pro: P17-P19)
The maximum heart rate depends on different age and this program will ensure you do the healthy exercise within maximum heart rate.
- Press UP, DOWN button to choose the heart rate control program.
- Press ENTER to confirm the heart rate control program and enter into AGE setting window.

- The time will flash and then press UP, DOWN button to set up the desired time.
Press ENTER to confirm the value. - The distance will flash and then press UP, DOWN button to set up the desired distance value. Press ENTER to confirm the value.
- The calories will flash and then press UP, DOWN button to set up the desired calories to be consumed. Press ENTER to confirm the value.
- The age will flash and then press UP, DOWN button to set the user’s age. Press ENTER to confirm the value.
- When the target heart rate controls program flash, the computer will display the user’s target heart rate according to the user’s age.
- Press START/ STOP to begin exercise.
Heart Rate Control Program: Target Heart Rate (Pulse Pro: P20)
The user can set any target heart rate to do the exercise.
- Press UP, DOWN button to select TARGET HEART RATE program.
- Press ENTER to confirm your choice and enter time setting window.
- The time display will flash and then press UP, DOWN button to set the desired time to do the exercise. Press ENTER to confirm the value.
- The distance will flash and then press UP, DOWN button to set up the desired distance value. Press ENTER to confirm the value.
- The calories will flash and then press UP, DOWN button to set up the desired calories to be consumed. Press ENTER to confirm the value.
- The target heart rate will flash and then press UP, DOWN button to set up your target heart rate. Press ENTER to confirm the value.
- Press START/ STOP to begin exercise.
Note:
During exercise, the user’s heart rate value depends on resistance level and speed. The heart rate control program is to ensure your heart rate within the preset value. When the computer detects your current heart rate is higher than preset, it will decrease the resistance level automatically or you may slow down exercise. If your current heart rate is lower than preset, it will increase resistance and you may speed up.
3. Pulse recovery test
The pulse recovery test is to compare your heart rate before and after exercise. It is a target to determine your heart strength via the measuring.
Please do the test as below:
- Both your hands hold the pulse sensor or via wireless transmitter belt to test the pulse (if applicable), the computer will display your current pulse value.
- Press RECOVERY to enter the pulse recovery test and the computer program will enter the stop status.

- Keep pulse detecting.
- Time will count down from 60 seconds to 0 seconds.
- When the time reaches 0, the test result (F1-F6) appears on the display.
F1=Excellent F2=Good F3=Fair F4=below average F5= No Good F6= Poor - If the computer does not detect your current heart rate first, pressing RECOVERY will not enter into a pulse recovery test. During the pulse recovery test, press RECOVERY to exit the test and return to the stop status.
4. Pulse Measurement
Please place both your palms on the contact pads and the computer will show your current heartbeat rate in beats per minute (BPM) on the LCD after 3~4 seconds. During the measurement, heart icon will flash with simulative ECG showing.
Remark: During the process of pulse measurement, because of the contact jamming, the measurement value may not be stable when to start, then it will return to a normal level. The measurement value cannot be regarded as the basis of medical treatment.
NOTE: If the computer is also equipped with wireless heart rate measuring via the transmitter belt and with hand pulse function, the hand-measurement-signal-detecting is preferred.
SPECIFICATIONS
| Equipment | |
| Speed KM/H | Showing your current speed. Range: 0.0-99.9 KM/H. |
| RPM | Showing the current rotate per minute. Range: 0-999. |
| Time | The accumulative exercise time, range: 0:00-99M595. The preset time range is 5:00 —99MOOS. The computer will start to count down from preset time to 0:00 with the average time for each resistance level. When it reaches zero, the program will stop and computer alarm. If you do not preset the time, it will run with 1-minute decrement each resistance leveL |
| Dist | The exercise accumulative distance. Range: 0.0-99.9-999KM the preset distance range: 1.0-99.0-999. When the distance reaches 0. the program will stop and the computer will alarm. |
| Calorie | The exercise accumulative calories burnt. Range: 0.0-99.9-999 the preset calories range: 10.0–90.0–990. When the calorie reaches 0. the program will stop and the computer will alarm. |
| Pulse | Showing the exercise heart rate value. Range: 60-240BPM (beat per minute) |
| Resistance level | Showing level. Range:1-16 |
| Watt | Show the exercise watt |
| Blue screen | after, and screen put out |
| Computer dormancy light together. | |
| Adaptor | |
| Input | AC 100-240V |
| Output | 9VDC 1000mA |
NOTES……

Need more information?
We hope that this user guide has given you
the assistance needed for a simple set-up.
For the most up-to-date guide for your product,
as well as any additional assistance you may require,
head online to help.kogan.com
Each column represents a 1-minute workout (without the change of TIME value) and each bar represents 2 levels of loading.



















