HAMPTON BAY Riverbrook 1 Lt Interior Mini-Pendant

Questions, problems, missing parts? Before returning to the store,
call Hampton Bay Customer Service
8 a.m. – 7 p.m., EST, Monday – Friday, 9 a.m. – 6 p.m., EST, Saturday
THANK YOU
We appreciate the trust and confidence you have placed in Hampton Bay through the purchase of this Mini-Pendant. We strive to continually create quality products designed to enhance your home. Visit us online to see our full line of products available for your home improvement needs. Thank you for choosing Hampton Bay!
Safety Information
WARNING: Carefully read and understand the information in this manual before beginning assembly and installation.
Failure to do so could lead to electric shock, fire or other injuries which could be hazardous or even fatal.
WARNING: Be sure the electricity to the wires you are working on is shut off. Either remove the fuse or turn the circuit off.
NOTICE: Changes or modifications not expressly approved by the party responsible for compliance could void the user’s authority to operate the equipment.
WARRANTY
WHAT IS COVERED
The manufacturer warrants this lighting fixture to be free from defects in materials and workmanship for a period of five (5) years from date of purchase. This warranty applies only to the original consumer and only to products used in normal use and service. If this product is found to be defective, the manufacturer’s only obligation, and your exclusive remedy, is the repair or replacement of the product at the manufacturer’s discretion, provided that the product has not been damaged through misuse, abuse, accident, modifications, alterations, neglect or mishandling.
WHAT IS NOT COVERED
This warranty shall not apply to any product that is found to have been improperly installed, set-up, or used in any way not in accordance with the instructions supplied with the product. This warranty shall not apply to a failure of the product as a result of an accident, misuse, abuse, negligence, alteration, or faulty installation, or any other failure not relating to faulty material or workmanship. This warranty shall not apply to the finish on any portion of the product, such as surface and/or weathering, as this is considered normal wear and tear.
The manufacturer does not warrant and specifically disclaims any warranty, whether express or implied, of fitness for a particular purpose, other than the warranty contained herein. The manufacturer specifically disclaims any liability and shall not be liable for any consequential or incidental loss or damage, including but not limited to any labor / expense costs involved in the replacement or repair of said product.
Contact the Customer Service Team at 1-855-HD-HAMPTON or visit HAMPTONBAY.COM.
Pre-Installation
PLANNING INSTALLATION
Read all instructions before assembly. Before starting installation of this fixture or removal of a previous fixture, disconnect the power by turning off the circuit breaker or by removing the fuse from the fuse box. To avoid damaging this product, assemble it on a soft, non-abrasive surface such as carpet or cardboard.
NOTE: Keep your receipt and these instructions for proof of purchase.
TOOLS REQUIRED

HARDWARE INCLUDED

| Part | Description | Quantity |
| AA | Mounting Bracket | 1 |
| BB | Lock Nut | 2 |
| CC | Wire Connector | 3 |
| DD | Ground Screw | 1 |
| EE | Outlet Box Screw (15 mm) | 2 |
| FF | Mounting Screw (25 mm) | 2 |
| GG | Strain Relief | 1 |
PACKAGE CONTENTS

Installation
Attaching the mounting bracket to the outlet box.
- Screw the mounting screws (FF) into the mounting bracket (AA).
- Attach the mounting bracket (AA) to the outlet box (not included) using the outlet box screws (EE).
- Make sure the threads of the mounting screws (FF) are facing out when the mounting bracket (AA) is attached to the outlet box.

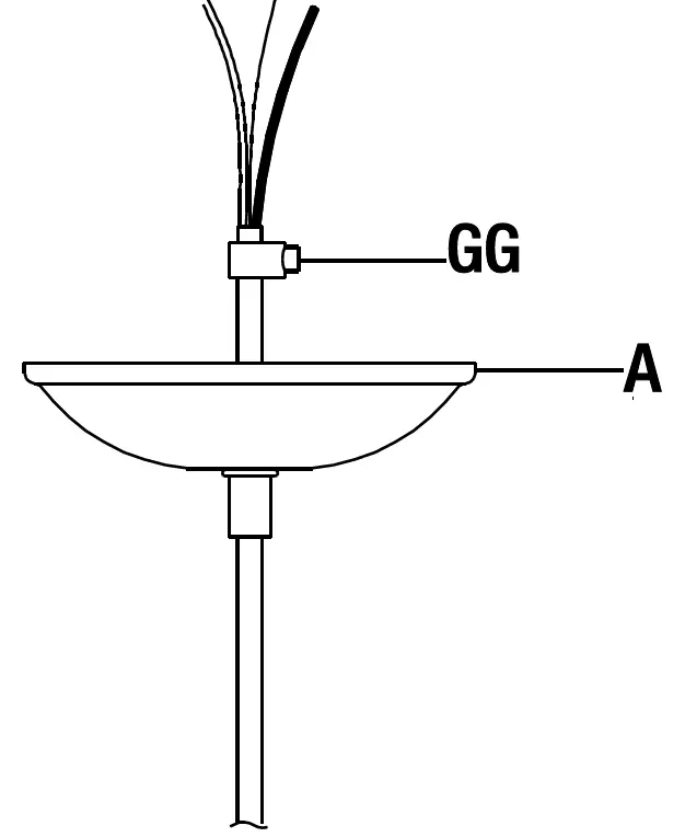
Securing the fixture wire in place with the strain relief
- Use a flathead screwdriver to loosen the strain relief (GG).The fixture wire can be raised and lowered until the desired height is achieved.
- Once the desired height is achieved, ensure the strain relief (GG) is next to the canopy (A).
- Use a flathead screwdriver to tighten the strain relief (GG). This will secure the fixture wire in place.
- The fixture wire may be left at full length or shortened as determined by space in the outlet box to make the wire connections. If the wire is shortened, remove any extra silver foil surrounding the three electrical wires (the ground, white, and black wires).

Making the electrical connections
- Wrap the ground wire from the fixture around the ground screw (DD) on the mounting bracket (AA). Use a wire connector (CC) to connect the ground wire from the fixture to the ground wire from the outlet box.
- Use a wire connector (CC) to connect the white wire from the fixture to the white wire (neutral) from the outlet box.
- Use a wire connector (CC) to connect the black wire from the fixture to the black wire (live wire) from the outlet box.
- Wrap the three wire connections with electrical tape for a secure connection.
- Position the wires back inside the outlet box.

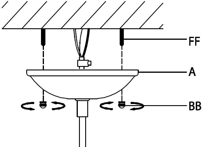
Securing the canopy
- Place the canopy (A) over the outlet box.
- Align the mounting screws (FF) so that they protrude through the appropriate holes on the canopy (A).
- Screw the lock nuts (BB) onto the mounting screws (FF) to secure the canopy (A).

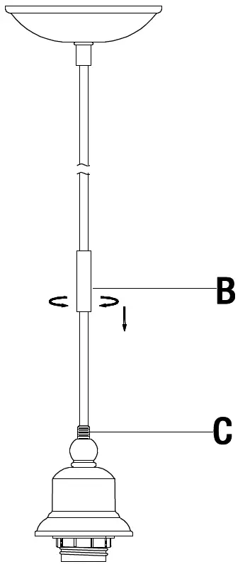
Attaching the rod
Screw the rod (B) onto the nipple (C).

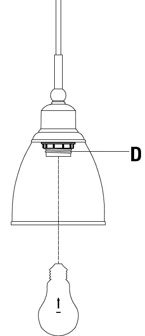
Attaching the globe
- Place the globe (E) over the socket (D).
- Screw the socket ring (F) onto the socket (D).

Installing the bulb
Screw a 60-Watt maximum, incandescent medium-base bulb (sold separately) into the socket (D).
NOTE: You can use a CFL equivalent energy-saving bulb that does not exceed 13 Watts (sold separately).

Care and Cleaning
- Clean the fixture with a soft, dry cloth.
- Do not use any cleaners with chemicals, solvents or harsh abrasives.
WARNING: Before attempting to clean the fixture, disconnect the power to the fixture by turning the breaker off or removing the fuse from the fuse box.
Troubleshooting
| Problem | Possible Cause | Solution |
| The bulb will not light. | The power is off. | Ensure the power supply is On. |
| The circuit breaker is off. | Ensure the circuit breaker is in the On position. | |
| The fuse blows or circuit breaker trips when the light is turned on. | The wires are crossed or the power wire is grounding out. | Check the wire connections. Contact a qualified electrician or call the Customer Service Team at 1-855-HD- HAMPTON. |
HAMPTONBAY.COM
Please contact 1-855-HD-HAMPTON for further assistance.

















