ZEVNI A04527 Barin 6 Inch Mini Pendant

Instruction
WARNING (To reduce the risk of fire, electric shock, or personal injury):
- We suggest installation by a licensed electrician.
- Please read the instruction carefully and save it as you may need it at a later time.
- Before you start, NEVER attempt any work without shutting off the electricity until the work is done.
- Go to the main fuse, or circuit breaker, box in your home.
Place the main power switch in the “OFF” position. - Place the wall switch in the “OFF” position.
- Go to the main fuse, or circuit breaker, box in your home.
- The mounting surface should be clean, dry, flat, strong enough, and 1/4” larger than the canopy on all sides. Any gaps between the mounting surface and canopy exceeding 3/16” should be corrected as required.
- Make sure that the ceiling or wall can stand the weight of the lamp before installation.
- Make sure the voltage you are using is 120V. The maximum wattage is 40W per bulb.
- Keep the lamp away from acidic and alkaline substances in case of damaging the surface of the lamp.
- When replacing bulbs, you should turn off or unplug the lamp and you must wait until it is cool as bulbs get hot quickly.
- The safety instructions appearing in this manual are not meant to cover all possible conditions that may occur. It must be understood that common sense, caution and care must be used with any electrical products.
IMAGE FOR FINISHED PRODUCT

TOOLS REQUIRED (NOT INCLUDED)
Before starting assembly and installation please prepare the needed tools as below picture
PARTS TYPE & QTY INCLUDING
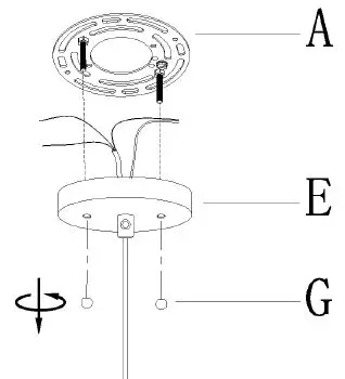
- (A) Mounting plate assembly (1)
- (B) Green ground screw (1)
- (E) Canopy (1)
- (F) Strain relief (2)
- (G) Ball knob (2)
- (H) Cord (1)
- (I) Stem (1)
- (J) Cover (1)
- (K) Socket (1)
- (L) Glass shade (1)
ACCESSORIES & QTY ENCLOSED
- (C) Plastic Wire Connector (3)
- (D) Mounting screw (2)
- (M) Allen wrench (1)

ASSEMBLY & INSTALLATION INSTRUCTIONS
- Carefully remove the fixture from the carton and check that all parts and accessories are included as shown in the above illustration.
- Turn off power
Before you start the installation, NEVER attempt any work without shutting off the electricity until the work is done.- Go to the main fuse, or circuit breaker, box in your home. Place the main power switch in the “OFF” position.
- Place the wall switch in the “OFF” position.
- Unscrew ball knobs (G) from the canopy (E) then gently remove mounting plate assembly (A).

- Adjust the length of the cord (H) to achieve the desired height of the mounted fixture.
- Use Allen wrench (M) to unscrew the screw in strain relief (F), carefully pull and push cord (H) through canopy (E) and strain relief (F) to lengthen or shorten the length of cord (H).
- Once the desired height of the fixture is achieved, carefully tighten the screw till snug.
NOTE: To prevent cord (H) from slipping out of canopy (E), make an overhand knot of cord (H).
- If needed, shorten the extra length of the fixture wires from the cord (H) so that they all are at least 6 inches (152.4 mm) long above the canopy (E) within the outlet box.

- Carefully pass supply wires through the mounting plate assembly (A). Secure mounting plate assembly (A) to the outlet box with mounting screws (D).
NOTE: the side of mounting plate (A) marked “GND” must face out.
- Make wire connections
Connect wires as below wires connection shown. REFER TO THE FOLLOWING CHARTS, NEVER CONNECT OTHER WIRES TO GROUND WIRES.
Connect ground wires according to the below chart
Connect wires according to the below chart
Twist wires together with a plastic wire connector (C) until tightly joined, and wrap each connector with approved electrical tape for a more secure connection, then carefully tuck all wires into the outlet box. - Fix canopy (E) to mounting plate assembly (A) and secure with the previously removed ball knobs (G).
Note: canopy (E) should be snug against the ceiling and ball knobs (G).
If not, adjust the threaded length of the preassembled mounting screws on the mounting plate assembly (A):- first, unscrew the preassembled hex nuts;
- then, screw the preassembled mounting screws in or out of the mounting plate (A);
- when the secure length is achieved, tighten the preassembled hex nuts and back to step 8.

- Screw stem (I) onto the top of the cover (J).
- Install the bulb (Not included) (Please do not exceed the maximum wattage recommended on the socket.)
- Carefully screw the glass shade (L) onto the socket (K).

- Check everything is already installed properly, then you could turn on the light. Enjoy!
ORDERING PARTS
Keep this sheet for future reference in case you need to order replacement parts. All parts for this fixture can be ordered from the place of purchase. Be sure to use exact wording from illustrations when ordering parts.
CLEANING
To clean, wipe the fixture with a soft cloth. Clean glass with a mild cleaner (such as mild and nonabrasive soap). Do not use abrasive materials such as scouring pads or powders, steel wool, or abrasive paper.
Contact Information
+1 850 296 2377 Working hours: Mon – Fri 9:00 a.m. – 16:00 p.m. EST
Email: [email protected].
Website: www.ihomeangel.com.



























