ZEVNI A04756P1 Ricco 5 Inch Wide Brass Mini Pendant

Instructions
WARNING (To reduce the risk of fire, electric shock, or personal injury):
- We suggest installation by a licensed electrician.
- Please read the instruction carefully and save it as you may need it at a later time.
- Before you start, NEVER attempt any work without shutting off the electricity until the work is done.
- Go to the main fuse, or circuit breaker, box in your home.
Place the main power switch in the “OFF” position. - Place the wall switch in the “OFF” position.
- Go to the main fuse, or circuit breaker, box in your home.
- The mounting surface should be clean, dry, flat, strong enough and 1/4” larger than the canopy on all sides. Any gaps between the mounting surface and canopy exceeding 3/16” should be corrected as required.
- Make sure that the ceiling or wall can stand the weight of the lamp before installation.
- Make sure the voltage you are using is 120V. The maximum wattage is 40W per bulb.
- Keep the lamp away from acidic and alkaline substances in case of damaging the surface of the lamp.
- When replacing bulbs, you should turn off or unplug the lamp and you must wait until it is cool as bulbs get hot quickly.
- The safety instructions appearing in this manual are not meant to cover all possible conditions that may occur. It must be understood that common sense, caution and care must be used with any electrical products.
IMAGE FOR FINISHED PRODUCT

TOOLS REQUIRED (NOT INCLUDED)
Before starting assembly and installation please prepare the needed tools as below picture
PARTS TYPE & QTY INCLUDING
- (C) Single bar (1)
- (D) Green ground screw (1)
- (E) Canopy (1)
- (F) Collar ring (1)
- (G) Collar loop (1)
- (H) Quick link (2)
- (I) Chain (1)
- (J) Loop (1)
- (K) Stem (1)
- (L) Socket (1)
- (M) Glass shade (1)
- (N) Socket ring (1)
ACCESSORIES & QTY ENCLOSED
- (A) Wire connector (3)
- (B) Mounting screw (2)

ASSEMBLY & INSTALLATION INSTRUCTIONS
- Carefully remove the fixture from the carton and check that all parts and accessories are included as shown in the above illustration.
- Make pre-installation

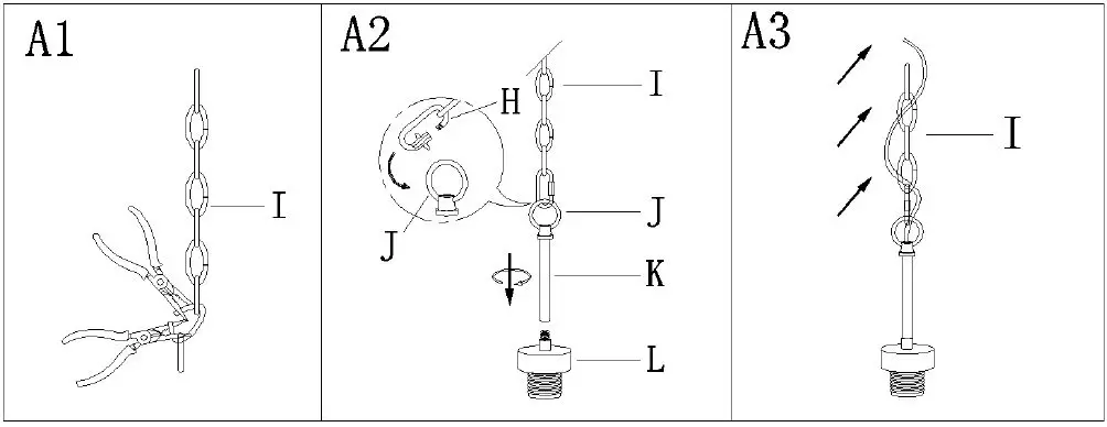
- Step A1 » By measuring, determine the correct number of links needed for proper hanging height. Using the chain pliers, disconnect and discard the unwanted part.
- Step A2 » Screw stem (K) onto the top of socket (L). Attach quick link (H) to chain (I) and loop (J) on the top of the stem (K).
- Step A3 » Carefully weave the fixture wires through the chain (I) in and out of every other link and stop just when you reach the top of the chain (I). Gently pull the wires to ensure the wires are not stressed.
- Turn off power
Before you start the installation, NEVER attempt any work without shutting off the electricity until the work is done.- Go to the main fuse, or circuit breaker, box in your home.
Place the main power switch in the “OFF” position. - Place the wall switch in the “OFF” position.
- Go to the main fuse, or circuit breaker, box in your home.
- Make installation

- Step B1 » Remove collar ring (F) from collar loop (G). Attach single bar (C) to the outlet box with mounting screws (B).
Note: the side of the single bar (C) marked “GND” must face out. - Step B2 » Raise canopy (E) over collar loop (G) and screw collar ring (F) to measure a proper position.
NOTE: canopy (E) should be snug against the ceiling and collar loop (G) should be screwed with enough threads (no less than 6 threads) on the pre-assembled threaded nipple for more secure hanging. If not, adjust the collar loop (G) on the single bar assembly (C) by screwing the collar loop (G) in or out of the single bar (C) until the secure length is achieved. - Step B3 » Pass chain (I) through collar ring (F) and then through the canopy (E).
- Step B4 » Open quick link (H), attach quick link (H) to collar loop (G). Close quick link (H). Pass the fixture wires through the collar loop (G) to the top of the preassembled threaded nipple and gently pull to ensure the wires are not stressed.
- Step B5 » If needed, shorten the length of fixture wires. At this point, the remaining wire length measured above the single bar (C) is at least 6″.
- Step B6 » Make wire connections
Connect wires as below wires connection shown. PLEASE NOTE THAT GROUND WIRE IS BARE COPPER WIRE, NEVER CONNECT OTHER WIRES TO GROUND WIRES.
Connect ground wires according to the below chart
Connect wires according to the below chart
Twist wires together with plastic wire connectors until tightly joined, and wrap each connector with approved electrical tape. Be sure that no wire strands are exposed and then carefully tuck all wires into the outlet box. - Step B7 » Raise canopy (E) to the ceiling and secure canopy (E) in place by tightening collar ring (F) onto collar loop (G).
- Step B8 »
- Remove the socket ring (N) from socket (L), carefully place the glass shade (M) on the socket (L), then secure it with socket ring (N).
- Install the bulb (not included) (Please do not exceed the maximum wattage recommended on the socket.)
- Step B1 » Remove collar ring (F) from collar loop (G). Attach single bar (C) to the outlet box with mounting screws (B).
- Check everything is already installed properly, then you could turn on the light. Enjoy!
ORDERING PARTS
Keep this sheet for future reference in case you need to order replacement parts. All parts for this fixture can be ordered from the place of purchase. Be sure to use exact wording from illustrations when ordering parts.
CLEANING
To clean, wipe the fixture with a soft cloth. Clean glass with a mild cleaner (such as mild and nonabrasive soap). Do not use abrasive materials such as scouring pads or powders, steel wool, or abrasive paper.
Contact Information
+1 850 296 2377 Working hours: Mon – Fri 9:00 – 16:00 EST
Email: [email protected].
Website: www.ihomeangel.com.





















