ZEVNI A04702 Ronda Black Modern/Contemporary Dome Mini Pendant Light

INSTALLATION INSTRUCTION
Item Number: A04702
WARNING (To reduce the risk of fire, electric shock, or personal injury):
- We suggest installation by a licensed electrician.
- Please read the instruction carefully and save it as you may need it at a later time.
- Before you start, NEVER attempt any work without shutting off the electricity until the work is done.
- Go to the main fuse, or circuit breaker, box in your home.
- Place the main power switch in the “OFF” position.
- Place the wall switch in the “OFF” position.
- Mounting surface should be clean, dry, flat, strong enough and 1/4″ larger than the canopy on all sides.
- Any gaps between the mounting surface and canopPy exceeding 3/16″ should be corrected as required.
- Make sure that the celing or wall can stand the weight of the lamp before installation.
- Make sure the voltage you are using is 120V. The maximum wattage is 40W per bulb.
- Keep the lamp away from acidic and alkaline substances in case of damaging the surface of the lamp.
- When replacing bulbs, you should turn off or unplug the lamp and you must wait until it is cool as bulbs get hot quiCkly.
- The safety instructions appearing in this manual are not meant to cover all possible conditions that may
- Occur. It must be understood that common sense, caution and care must be used with any electrical products.
IMAGE FOR FINISHED PRODUCT
TOOLS REQUIRED
(NOT INCLUDED):
Before starting assembly and installation please prepare the needed tools as below picture
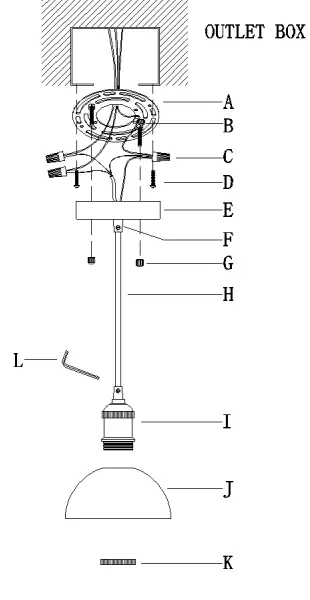
PARTS TYPE & QTY INCLUDING
- (A) Mounting plate assembly (1)
- (B) Green ground screw (1)
- (E) Canopy (1)
- (F) Strain relief (2)
- (G) Ball knob (2)
- (H) Cord (1)
- (I) Socket (1)
- (J) Iron shade (1)
- (K) Socket ring (1)
ACCESSORIES & QTY ENCLOSED:
- (C) Plastic Wire Connector (3)
- (D) Mounting screw (2)
- (L) Allen wrench (1)
ASSEMBLY & INSTALLATION INSTRUCTIONS
- Carefully remove the fixture from the carton and check that all parts and accessories are included as shown in the above illustration.
- Turn off power
- Before you start the installation, NEVER attempt any work without shutting off the electricity until the work is done.
- Go to the main fuse, or circuit breaker, bOx in your home.
- Place the main power switch in the “OFF” position.
- Place the wall switch in the “OFF” position.
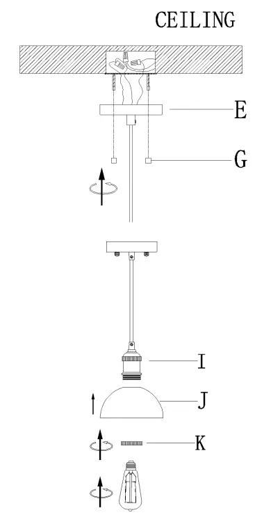
- Unscrew ball knobs (G) from canopy (E) then gently remove mounting plate assembly (A).

- Adjust the length of cord (H) to achieve the desired height of the mounted fixture.
- Use Allen wrench (L) to unscrew the screw in strain relier (F), carefully pull and push cord (H) through canopy (E) and strain relief (F) to lengthen orshorten the length of cord (H).
- Once the desired height of fixture is achieved, carefully tighten the screw till snug.

- Carefully pass supply wires through mounting plate assembly (A).
- Secure mounting plate assembly (A) to the outlet box with mounting screws (D).
- NOTE: the side of mounting plate (A) marked “GND” must face out.

- Make wire connectionss
- Connect wires as below wires connection shown. REFER TO THE FOLLOWING CHARTS, NEVER
CONNECT OTHER WIRES TO GROUND WIRES.
- Connect around wires according to the below chart
- Connect wires according to the below chart

- Twist wires together with plastic wire connector (C) until tightly joined, and wrap each connector with approved electrical tape for a more secure connection, then carefully tuck all wires into the outlet box.

- Fix canopy (E) to mounting plate assembly (A) and secure with the previously removed ball knobs (G).
Note: canopy (E) should be snug against the ceiling and ball knobs (G). If not, adjust the threaded length of the pre ; assembled mounting screws on mounting plate assembly (A): first, unscrew the pre-assembled hex nuts; then, screw the pre-assembled mounting screws in or out of mounting plate (A); when the secure length is achieved, tighten the pre-assembled hex nuts and back too step 8. - Unscrew socket ring (K) from socket (1), and carefully place iron shade () on socket (), then secure it with socket ring (K).
- Install the bulb (Not included) (Please do not exceed the maximum wattage recommended on the socket.)
- Check everything is already installed properly, then you could turn on the light. Enjoy!
- www.ihomeangel.com
- +1850 296 2377 Working hours: Mon – Fri 9:00 a.m. – 16:00 p.m. EST X[email protected]
























