CHC-5298 Ruhlmann Small 9″ Pendant
User Manual
ASSEMBLY INSTRUCTIONS

Ruhlmann Small 9″ Pendant
Item # CHC 5298
NOTICE:
This light fixture should be installed in accordance with all applicable, local installation codes, and by a person familiar with the construction and operation of it, as well as the hazards involved. Inspect items and contents carefully. If any damage or defect is found, do not install. Retain all packaging material until installation is complete and approved.
TOOLS REQUIRED (NOT INCLUDED):
- Phillips Screwdriver
- Slotted Screwdriver
- Wire Strippers
- Wire Cutters
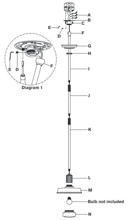
- Carefully remove all parts from the box. Place on a clean, soft surface.
- Remove mounting plate (B) from the canopy (G) by removing the collar ring (H).
- Install mounting plate (B) to the junction box and secure with mounting screws (C).
- Feed electrical and ground wires through bottom rod (K) and connect to socket cup (L). Repeat for the middle rod (J), connecting to a bottom rod (K).
- Continue feeding wires through collar ring (H), canopy (G), and top rod (I).
- Holding fixture upright, slide collar ring (H) and canopy (G) down, and rest on socket cup (L). Then connect top rod (I) to middle rod (J).
NOTE: Slide components down slowly to avoid damage. - Hang fixture swivel ball (F) to the center of mounting plate (B) and secure with set screw (D) using provided wrench (E). (See diagram 1)
- Cut excess wires, being sure to leave enough to reach the junction box. Separate wires and strip insulation on each 5/8″.
- Wrap fixture ground wire (bare copper) around the green grounding screw (see diagram 1). Tighten. Continue fixture ground wire and connect to supply ground wire (usually green or bare copper) using wire nut (A).
NOTE: It is imperative that the fixture is grounded. - Connect fixture neutral wire (white) to the supply neutral wire (usually white) using wire nut (A).
- Connect fixture hot wire (black) to the supply hot wire (usually black) using wire nut (A).
CAUTION: Do not reverse the hot and neutral connections. - Make sure all wire connections are tight, then carefully tuck them into the junction box.
- Install canopy (G) to mounting plate (B) and secure with collar ring (H).
- Thread metal shade (M) to socket cup (L).
- Install the light bulb into the socket.
- Thread glass shade (N) to metal shade (M).
NOTE: Do not over-tighten otherwise glass could become damaged.
Care Instructions:
Clean only with a soft dry cloth or feather duster. Do Not use abrasive or chemical agents.![]()










