MICROCHIP PD-9501-10GCO/AC PoE U Single Port High Power

Introduction
Microchip’s family of Power over Ethernet (PoE) Midspans PD-9501-10GCO/AC is a single-port high-power PoE outdoor solution that offers a cost-effective IEEE® 802.3bt compliant solution and pre-BT support for IEEE 802.3af/at standard guaranteeing 60 W of power and ensures safe and reliable operation in outdoor environments for standard PoE data terminal. The PD-9501-10GCO/AC supports emerging wireless 10 Gbps devices, such as wireless IEEE 802.11ac access points.
PoE Midspan powers devices that are PoE enabled or equipped to receive PoE. These devices are called PDs.
PoE Midspans offer the following key features:
- Outdoor rated: IP66 and IP67
- Extended temperature range –40 °C to 65 °C
- Supports 10/100/1000 Mbps and 2.5/5/10 Gbps data rates
- Standards compliant: IEEE 802.3bt and IEEE 802.3af/at
- Plug and Play installation (installer does not have to open unit)
- Includes integrated surge protection
Standards and Safety Guidelines
The following sections describes the standard and safety guidelines for the product.
Part Number Definition
PD-9501-10GCO/AC: 4–pairs AC input family.
Table 1-1. Part Number Definition
| Symbol | Description |
| AC | Midspan has AC input. |
Electrical Compatibility Approvals
Microchip’s PD-9501-10GCO/AC series complies with the following standards:
- EN55035
- EN55032: Class B
- FCC Part 15: Class B
- VCCI
Safety Standard Approvals
Microchip meets the following safety standards. Consult Microchip for a complete list of safety certifications.
- UL/IEC/EN62368-1
- UL/IEC/EN60950-22
- GS Compliance
CE Marking
CE marking on this product indicates that this product complies with the Electromagnetic Compatibility (EMC) Directive.
GS Compliance
GS marking on this product indicates that the product complies with the German Product Safety Act.
Surge/Lightening Protection
Microchip’s PD9501-10GCO/AC is designed according to the following requirements.
- ITU-T K.21 (6 kV enhanced surge) – Port and AC Main
- EN61000-4-5 (6 kV) – Port and AC Main
- GR-1089-CORE Issue 6 – Port Only
Safety Information
Read the safety information before using the PoE Midspan unit.
General Guidelines
Read the following safety information before carrying out any installation, removal, or maintenance procedure on the
PoE Midspan. Warnings contain directions to be followed for the safety of personal and product.
Warnings
- Read installation instructions in 3. PoE Midspan Installation (Outdoor Model) before connecting Midspan to its power source.
- Follow basic electricity safety measures when connecting the PoE Midspan to its power source.
- Only trained and qualified personnel must be allowed to install, replace, and service this equipment.
- A voltage mismatch can damage the equipment and can pose a fire hazard. If voltage indicated on the label is different from the power outlet voltage, do not connect Midspan to this outlet.
- All wiring and connections must conform to NFPA 70 (NEC).
- Power supply cord must not be attached to the building surface or run through walls, ceilings, floors, and similar openings in the building structure.
- Measures must be taken to prevent physical damage to the power supply cord, including proper routing.
- Data and Data and Power ports of the Midspan are shielded RJ45 data sockets. They cannot be used as Plain Old Telephone Service (POTS) sockets. Only connect RJ45 data connectors to these sockets.
- When disposing this product, follow all local laws and regulations.
PoE Midspan Installation (Outdoor Model)
The following sections describe the procedures for the installation of the Midspans unit.
Note: Do not use cross-over cable between the PoE Midspan output port and load device.
Warnings:
- Take extra care when connecting the AC power inlet terminals, so that N, L, and Ground are connected to the proper polarity.
- Ensure the AC power is within the allowed range.
- Earth ground screw must be connected to earth ground in all types of installations.
Installation Overview
Figure 3-1. Product Overview

Before mounting the midspan to a fixed location, note the following:
- To insure weather-proof connection in order to meet IEC60529 level IP67. PoE Midspan AC power plug needs to be connected to a weather-proof AC power source box.
- Do not cover the midspan or block the airflow to the PoE with any foreign objects.
- Keep the midspan away from excessive heat and free from vibration.
- Ensure that the cable length from the Ethernet network source to the terminal does not exceed 100 meters (333 feet). The midspan is not a repeater and does not amplify the Ethernet data signal.
- The midspan has no ON-OFF switch, simply plug the midspan into an AC power source.
- PoE Midspan AC power lines should be connected to the socket-outlet that shall be installed near the equipment and be easily accessible.
Installation Options
There are two options available for the installation of PD9501-10GCO/AC:
- Wall installation – PoE Midspan unit can be mounted on a wall/bench (all kind of flat surfaces such as wood, brick, concrete etc.) using the mounting holes.
Note: Use only on solid walls to install the midspan, do not install on drywall or plasterboard walls. - Pole installation – Using optional mount kit.
Note: The mounting kit is not provided with the kit.
Parts List
The following table lists the parts included in the kit:
| Quantity | Component |
| 1 | 60 W midspan, outdoor model |
| 1 | AC female connector |
| 1 | Quick installation guide |
Additional Parts
The following table lists additional parts recommended to install the midspan:
| Quantity | Part |
| 1 | Screwdriver |
| 1 | Splitter |
| 1 | Universal Power Supply (UPS) |
| 1 | Wire stripper |
| 1 | Solid Wrench No. 30 or Adjustable Wrench |
Connect the Midspan to Ground
Note: Connect the midspan to ground only if replacing pre-assembled ground cable.
- Connect the chassis bolt to the earth ground point on the rear of the midspan.
- Connect the other end of the ground wire to earth ground at your installation point.
- Tighten the screw to 1.7 Nm.

Install the Midspan Directly to a Wall
- Using the screw holes of the midspan as a template, put marks on the mounting surface (a wall of wood, brick or concrete) to mark drill points and drill four holes.
- Insert four mounting screws into the screw holes. For bricks or concrete wall use anchor with screw (5 mm x 40 mm. minimum) and for wooden wall use screws for wood 5 mm x 40 mm.
Note: The screws are not provided with the kit. - Tighten each screw until the midspan is attached safely to the mounting surface.

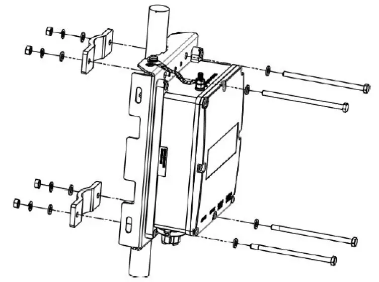
Install the Midspan to a Pole Mount Adapter
Before installing the midspan, ensure that all the following parts listed in the parts list are included. If any items are missing, notify your Sales or Customer Service Representative from Microchip.
- Install the midspan onto the mounting bracket of the pole mount adapter, using four pan head screws.

- Install the mounting bracket onto the pole. Use the appropriate components depending on the diameter of the pole.
- Pole of small diameter: The following parts list identifies the components required to install the metal bracket on a pole with a diameter of 25 mm to 76 mm (1 in. to 3 in.).

- Pole of large diameter: The following parts list identifies the components required to install the metal bracket on a pole with a diameter of 76 mm to 203 mm (3 in. to 8 in.).

- Pole of small diameter: The following parts list identifies the components required to install the metal bracket on a pole with a diameter of 25 mm to 76 mm (1 in. to 3 in.).
- For poles of both small and large diameter, connect the chassis bolt to the earth ground point on the mount kit.

Warning: Mounting bracket must be connected to earth ground.
Connecting the AC Cable
The following table lists the AC cable specifications.
Table 3-1. AC Cable Specifications
| Parameter | Value |
| Recommended cable type | North America—SJOW or SOOW Worldwide—H05RN-F or H07RN-F |
| Voltage rating | 300 V (or better recommended) |
| Temperature range | –40 ℃ to 65 ℃ (or better recommended) |
| Cable size | 16 AWG–18 AWG 3C 1.0 mm2 – 1.5 mm2 3C |
| Cable outer dimension | Dia. 3/16 in.–3/8 in. Dia. 5.0 mm–9.5 mm |
| Approved for indoor and outdoor applications. | |
The following figure shows how to connect the AC cable to the midspan unit:
Figure 3-2. Connecting the AC Cable to the Unit

Connecting the RJ45 Cable
The following steps describe the installation of RJ45 cable to the midspan.
- Remove the upper cap, blank plug, and washer from the Data In port.
- Insert the cable through the upper cap and the washer and plug into the Data In port.
- Slide the washer and the upper cap towards the midspan and hand-tighten the upper cap onto the Data In port.
- Repeat step 1 to step 3 to connect the RJ45 cable to the Data and PWR Out port.

Notes:
- Use cable up to 5 Gig Cat 5e and above outdoor grade.
- Use cable up to 10 Gig Cat 6 and above outdoor grade.
Connection
Note: The midspan has no ON-OFF switch, simply plug the midspan into an AC power source.
Follow the steps below to connect the midspan to the data and power source.
- Connect the Data In (input) jack from the midspan to remote Ethernet network (item 2 in the following figure).
- Connect the Data and PWR Out (output) jack from the midspan to the terminal (item 3 in the following figure).
- Connect AC power lines from the Line In terminal (item 1 in the following figure) to main AC power. Ensure that the power outlet is nearby and easily accessible.
Note: Connect the midspan to a weather-proof AC power source box that meets ratings IP66 and IP67.

| Label | Description | |
| 1 | LINE IN | Power input, 100 VAC–240 VAC |
| 2 | DATA IN | Data in to the Ethernet (network) switch |
| 3 | DATA & PWR OUT | Data and power out to the Ethernet terminal |
Troubleshooting
The following sections describe the troubleshooting procedures to address any problems encountered with the unit.
Preliminary Steps
If there is any problem, verify the following steps:
- Power is applied to Midspan.
- A crossover-type Ethernet cable has not been used.
- Ethernet cable from network is connected to Data In port.
- Ethernet cable to PD is connected to Data and Power Out port.
- Cable pairs are attached to their corresponding ports.
Troubleshooting Steps
The following table provides a problem and resolution sequence to assist in troubleshooting of minor operating problems. If the following steps do not solve your problem, contact your local dealer for further assistance.
Table 4-1. Troubleshooting Steps
| Problem | Corrective Steps |
| Midspan does not power-up | 1. Make sure that the power cord is properly connected. 2. Verify that the voltage at power inlet is between 100 VAC – 240 VAC. 3. Remove and reapply power to the device during power-up sequence. |
| PD does not operate | 1. Verify that the port is enabled (Midspan did not detect a PD). 2. Verify that the PD is designed for PoE operation. 3. Verify that you are using a standard Category 5/5e/6, straight-wired cable, with four pairs according to data rate. 4. If an external power splitter is in use, replace it with a viable splitter. 5. Verify that the Data source is connected to the Data In port. 6. Verify that the PD is connected to the Data and Power Output port. 7. Verify that there is no short over any of the twisted-pair cables or over the RJ45 connectors. |
| End device operates, but there is no data link. | 1. If an external power splitter is in use, replace it with a viable splitter. 2. Verify that for this link you are using a standard UTP/FTP Category 5/5e/6 straight (non- crossover) cabling, with all four pairs. 3. Verify that the Ethernet cable length is less than 100 meters from Ethernet source to the remote terminal. |
Specifications
The following sections describe unit specifications.
Environmental Specifications
Table 5-1. Environmental Specifications
| Mode | Temperature | Humidity |
| Operating | –40 °C to 65 °C –40 °F to 149 °F | 10% to 90% (non-condensing) |
| Storage | -40 °C to 85 °C -40 °F to 185 °F |
Electrical Specifications
Table 5-2. Electrical Specifications
| Parameter | Value |
| Input voltage | 100 VAC – 240 VAC (50 Hz/60 Hz) |
| Input current | 0.8 A (maximum) |
| Available output power (maximum) | 60 W |
| Nominal output voltage | 54 VDC |
Interface
Table 5-3. Interface
| Parameter | Type |
| Input (Data In): Ethernet 10/100/1000Base-T | RJ45 female socket |
| Output (DATA PWR OUT): Ethernet 10/100/1000 and 5Gig/10Gig Base-T, plus 54 VDC | RJ45 female socket, with DC voltage on wire pairs: 7-8, 4-5 and 1-2, 3-6 |
| AC Power IN | 3 Pins AC power in – Line, Neutral and Earth Ground |
Contacting Technical Support
If you encounter any problems while installing or using this product, consult the Microchip technical support team through the website or contact on the following number:
USA/Canada
Telephone: +1 877 480 2323
Internet: www.microchip.com/support
| Revision | Date | Description |
| A | 08/2021 | Initial Revision |
- Product Support – Data sheets and errata, application notes and sample programs, design resources, user’s guides and hardware support documents, latest software releases and archived software
- General Technical Support – Frequently Asked Questions (FAQs), technical support requests, online discussion groups, Microchip design partner program member listing
- Business of Microchip – Product selector and ordering guides, latest Microchip press releases, listing of seminars and events, listings of Microchip sales offices, distributors and factory representatives
Product Change Notification Service
Microchip’s product change notification service helps keep customers current on Microchip products. Subscribers will receive email notification whenever there are changes, updates, revisions or errata related to a specified product family or development tool of interest.
To register, go to www.microchip.com/pcn and follow the registration instructions.
Customer Support
Users of Microchip products can receive assistance through several channels:
• Distributor or Representative
• Local Sales Office
• Embedded Solutions Engineer (ESE)
• Technical Support
Customers should contact their distributor, representative or ESE for support. Local sales offices are also available to help customers. A listing of sales offices and locations is included in this document.
Technical support is available through the website at: www.microchip.com/support
Microchip Devices Code Protection Feature
Note the following details of the code protection feature on Microchip devices:
- Microchip products meet the specifications contained in their particular Microchip Data Sheet.
- Microchip believes that its family of products is secure when used in the intended manner and under normal conditions.
- There are dishonest and possibly illegal methods being used in attempts to breach the code protection features of the Microchip devices. We believe that these methods require using the Microchip products in a manner outside the operating specifications contained in Microchip’s Data Sheets. Attempts to breach these code protection features, most likely, cannot be accomplished without violating Microchip’s intellectual property rights.
- Microchip is willing to work with any customer who is concerned about the integrity of its code.
- Neither Microchip nor any other semiconductor manufacturer can guarantee the security of its code. Code protection does not mean that we are guaranteeing the product is “unbreakable.” Code protection is constantly evolving. We at Microchip are committed to continuously improving the code protection features of our products. Attempts to break Microchip’s code protection feature may be a violation of the Digital Millennium Copyright Act. If such acts allow unauthorized access to your software or other copyrighted work, you may have a right to sue for relief under that Act.
Legal Notice
Information contained in this publication is provided for the sole purpose of designing with and using Microchip products. Information regarding device applications and the like is provided only for your convenience and may be superseded by updates. It is your responsibility to ensure that your application meets with your specifications.
THIS INFORMATION IS PROVIDED BY MICROCHIP “AS IS”. MICROCHIP MAKES NO REPRESENTATIONS OR WARRANTIES OF ANY KIND WHETHER EXPRESS OR IMPLIED, WRITTEN OR ORAL, STATUTORY OR OTHERWISE, RELATED TO THE INFORMATION INCLUDING BUT NOT LIMITED TO ANY IMPLIED WARRANTIES OF NON-INFRINGEMENT, MERCHANTABILITY, AND FITNESS FOR A PARTICULAR PURPOSE OR WARRANTIES RELATED TO ITS CONDITION, QUALITY, OR PERFORMANCE.
IN NO EVENT WILL MICROCHIP BE LIABLE FOR ANY INDIRECT, SPECIAL, PUNITIVE, INCIDENTAL OR CONSEQUENTIAL LOSS, DAMAGE, COST OR EXPENSE OF ANY KIND WHATSOEVER RELATED TO THE INFORMATION OR ITS USE, HOWEVER CAUSED, EVEN IF MICROCHIP HAS BEEN ADVISED OF THE POSSIBILITY OR THE DAMAGES ARE FORESEEABLE. TO THE FULLEST EXTENT ALLOWED BY LAW, MICROCHIP’S TOTAL LIABILITY ON ALL CLAIMS IN ANY WAY RELATED TO THE INFORMATION OR ITS USE WILL NOT EXCEED THE AMOUNT OF FEES, IF ANY, THAT YOU HAVE PAID DIRECTLY TO MICROCHIP FOR THE INFORMATION. Use of Microchip devices in life support and/or safety applications is entirely at the buyer’s risk, and the buyer agrees to defend, indemnify and hold harmless Microchip from any and all damages, claims, suits, or expenses resulting from such use. No licenses are conveyed, implicitly or otherwise, under any Microchip intellectual property rights unless otherwise stated.
Trademarks
The Microchip name and logo, the Microchip logo, Adaptec, AnyRate, AVR, AVR logo, AVR Freaks, BesTime, BitCloud, chipKIT, chipKIT logo, CryptoMemory, CryptoRF, dsPIC, FlashFlex, flexPWR, HELDO, IGLOO, JukeBlox, KeeLoq, Kleer, LANCheck, LinkMD, maXStylus, maXTouch, MediaLB, megaAVR, Microsemi, Microsemi logo, MOST, MOST logo, MPLAB, OptoLyzer, PackeTime, PIC, picoPower, PICSTART, PIC32 logo, PolarFire, Prochip Designer, QTouch, SAM-BA, SenGenuity, SpyNIC, SST, SST Logo, SuperFlash, Symmetricom, SyncServer, Tachyon, TimeSource, tinyAVR, UNI/O, Vectron, and XMEGA are registered trademarks of Microchip Technology Incorporated in the U.S.A. and other countries.
AgileSwitch, APT, ClockWorks, The Embedded Control Solutions Company, EtherSynch, FlashTec, Hyper Speed Control, HyperLight Load, IntelliMOS, Libero, motorBench, mTouch, Powermite 3, Precision Edge, ProASIC, ProASIC Plus, ProASIC Plus logo, Quiet-Wire, SmartFusion, SyncWorld, Temux, TimeCesium, TimeHub, TimePictra, TimeProvider, WinPath, and ZL are registered trademarks of Microchip Technology Incorporated in the U.S.A.
Adjacent Key Suppression, AKS, Analog-for-the-Digital Age, Any Capacitor, AnyIn, AnyOut, Augmented Switching, BlueSky, BodyCom, CodeGuard, CryptoAuthentication, CryptoAutomotive, CryptoCompanion, CryptoController, dsPICDEM, dsPICDEM.net, Dynamic Average Matching, DAM, ECAN, Espresso T1S, EtherGREEN, IdealBridge, In-Circuit Serial Programming, ICSP, INICnet, Intelligent Paralleling, Inter-Chip Connectivity, JitterBlocker, maxCrypto, maxView, memBrain, Mindi, MiWi, MPASM, MPF, MPLAB Certified logo, MPLIB, MPLINK, MultiTRAK, NetDetach, Omniscient Code Generation, PICDEM, PICDEM.net, PICkit, PICtail, PowerSmart, PureSilicon, QMatrix, REAL ICE, Ripple Blocker, RTAX, RTG4, SAM-ICE, Serial Quad I/O, simpleMAP, SimpliPHY, SmartBuffer, SMART-I.S., storClad, SQI, SuperSwitcher, SuperSwitcher II, Switchtec, SynchroPHY, Total Endurance, TSHARC, USBCheck, VariSense, VectorBlox, VeriPHY, ViewSpan, WiperLock, XpressConnect, and ZENA are trademarks of Microchip Technology Incorporated in the U.S.A. and other countries.
SQTP is a service mark of Microchip Technology Incorporated in the U.S.A.
The Adaptec logo, Frequency on Demand, Silicon Storage Technology, and Symmcom are registered trademarks of Microchip Technology Inc. in other countries.
GestIC is a registered trademark of Microchip Technology Germany II GmbH & Co. KG, a subsidiary of Microchip Technology Inc., in other countries.
All other trademarks mentioned herein are property of their respective companies.
© 2021, Microchip Technology Incorporated, Printed in the U.S.A., All Rights Reserved.
ISBN: 978-1-5224-8742-5
Quality Management System
For information regarding Microchip’s Quality Management Systems, please visit www.microchip.com/quality
Worldwide Sales and Service























