ETHAN ALLEN 097181 Large Onion Jar Table Lamp

Product Information
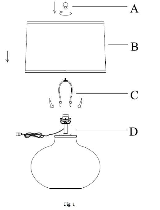
The 097181 Large Onion Jar Table Lamp is a stylish and functional lighting fixture. It comes with several parts, including a shade finial, shade, harp, and lamp base. The lamp is designed to provide ambient lighting and can enhance the aesthetic appeal of any space. Please note that the light bulb is not included with the product.
Product Usage Instructions
Unpacking:
- When unpacking the lamp, exercise caution to avoid damaging any parts.
- Before discarding the packing materials, make sure to locate all the parts included in the package.
Assembly:
- Refer to Figure 1 for visual reference on assembly.
- Carefully remove all parts from the carton.
- Pull the excess cord through the lamp body (D).
- Place the harp (C) onto the glass lamp body (D).
- Position the shade (B) onto the harp (C) and secure it with the finial (A).
Caring for and Cleaning your lamp:
- To clean the lamp, use a soft dry cloth and gently wipe the surface.
- Avoid using cleaners, scouring pads, or any abrasive materials that may damage the lamp’s finish.
- Before changing the bulb, make sure to unplug the lamp and allow the bulb to cool down.
Troubleshooting:
If you encounter any issues with the lamp, follow these steps:
Problem: Bulb does not light
Possible cause:
- The bulb is burnt out or damaged
- The power to lamp is off
Correct by:
- Replace the bulb
- Confirm that the power is on
Problem: The lamp is not plugged in
Possible cause:
- The lamp is not plugged into a power source
Correct by:
- Confirm that the lamp is properly plugged in
If the lamp still does not work after troubleshooting, please contact your local Ethan Allen Design Center for further assistance.
Remember to save these instructions for future reference.
IMPORTANT SAFETY INSTRUCTIONS
TO REDUCE THE RISK OF FIRE, ELECTRICAL SHOCK, AND PERSONAL INJURY:
This lighting fixture is for indoor use only. This lamp is equipped with a polarized plug. One plug blade is wider than the other. DO NOT MODIFY the plug or power cord in any way. DO NOTEXCEED the recommended bulb wattage. Use only the type of bulb specified. Keep flammable materials away from bulb. DO NOT OPEN the product or alter the wiring in any manner. Extension cord: Follow precautions provide with power cord.
UNPACKING:
Use care when unpacking. Locate ALL PARTS INCLUDED before disposing of packing materials.
ASSEMBLY, CARE, AND TROUBLESHOOTING
Tools Required For Assembly: Tools are not required. Required: Light bulb is not included.
Parts Included: Refer to Figure 1.
- A. Shade finial
- B. Shade
- C. Harp
- D. Lamp base
Assembly Procedure
- Unpack all parts from the carton carefully.
- Pull the excess cord through the lamp body (D).
- Put Harp (C) onto the glass lamp body (D).
- Place Shade (B) onto Harp (C) and secure with Finial (A).
Caring for and Cleaning your lamp
- To clean, wipe with a soft dry cloth
- DO NOT USE cleaners, scouring pads, etc.
- Unplug the lamp and allow the bulb to cool before changing the bulb.
Troubleshooting
| Problem: | Possible cause: | Correct by: |
| Bulb does not light | Bulb is burnt out or damaged | Replace bulb |
| Power to lamp is off | Confirm power is on | |
| Lamp is not plugged in | Confirm lamp is plugged in |
In the event that the lighting fixture does not work after troubleshooting, contact your local Ethan Allen Design Center.
©2016 Ethan Allen Global, Inc.
SAVE THESE INSTRUCTIONS














