AVENTICS ED05 Pressure Regulator

About this documentation
These instructions contain important information on the safe and appropriate assembly, operation, and maintenance of the ED05 pressure regulator and how to remedy simple malfunctions yourself.
- Read these instructions completely, especially chapter 2 “For your safety” on page 50 before working with the ED05 pressure regulator.
Related documents
The ED05 pressure regulator is a system component. Also follow the instructions for the other system components. This includes:
W System documentation from the system manufacturer
Abbreviations used
For your safety
The ED05 pressure regulator has been manufactured according to the accepted rules of safety and current technology. There is, however, still a danger of personal injury or damage to equipment if the following general safety instructions and the warnings before the steps contained in these instructions are not complied with.
- Read these instructions completely before working with the ED05 pressure regulator.
- Keep these instructions in a location where they are accessible to all users at all times.
- Always include the operating instructions when you pass the ED05 pressure regulator on to third parties.
Intended use
The ED05 pressure regulator is a pneumatic device with integrated electronics that is only designed to regulate pneumatic pressures. Air that is dry and free of condensate is the permissible media. Operation with pure oxygen is not permitted.
- The ED05 pressure regulator is for industrial applications only.
An individual license must be obtained from the authorities or an inspection center if the ED05 pressure regulator is to be used in a residential area (residential, business, and commercial areas). In Germany, these individual licenses are issued by the Regulating Agency for Telecommunications. - Observe the performance limits listed in the technical data.
- Only use the ED05 pressure regulator inside.
Intended use includes having read and understood these instructions, especially the chapter “2 For your safety”.
Improper use
It is considered improper use when the ED05 pressure regulator
- is used for any application not named in these instructions,
- s used under operating conditions that deviate from those described in these instructions.
Personnel qualifications
Assembly and commissioning require basic electrical and pneumatic knowledge, as well as knowledge of the appropriate technical terms. Assembly and commissioning may therefore only be carried out by qualified electrical or pneumatic personnel or an instructed person under the direction and supervision of qualified personnel. Qualified personnel are those who can recognize possible hazards and institute the appropriate safety measures due to their professional training, knowledge, and experience, as well as their understanding of the relevant conditions pertaining to the work to be done. Qualified personnel must observe the rules relevant to the subject area.
Safety instructions in this document
In this document, there are safety instructions preceding the steps whenever there is a danger of personal injury or damage to the equipment. The measures described to avoid these hazards must be observed.
Safety instructions are set out as follows:
SIGNAL WORD
Type of risk
Consequences
- Precautions
- Safety sign (warning triangle): draws attention to the risk
- Signal word: identifies the degree of hazard
- Type of risk: identifies the type or source of the hazard
- Consequences: describes what occurs when the safety instructions are not complied with
- Precautions: states how the hazard can be avoided
The signal words have the following meanings:
Hazard classes according to ANSI Z535.6-2006
Symbols
The following symbols indicate information that is not relevant for safety but that assists in comprehending the documentation.
Meaning of the symbols
Observe the following instructions for the ED05 pressure regulator
General instructions
- Observe the regulations for accident prevention and environmental protection for the country where the device is used and at the workplace.
- Do not change or modify the device.
- Only use the device within the performance range provided in the technical data.
- Do not place any mechanical loads on the device under any circumstances. Never use the device as a handle or step. Do not place any objects on it.
Before assembly
- Let the device acclimate itself for several hours before installation, otherwise water may condense in the housing.
During assembly
- Make sure the relevant system component is not under pressure or voltage before assembling or when connecting and disconnecting plugs. Ensure the system cannot be switched on accidentally. Hang signs on the main switch that warn workers against switching the system on.
- Always assemble the ED05 pressure regulator on a mounting plate, in a control cabinet, or on a base plate.
- Lay the cables so that no one can trip over them.
- Only use tested cables. This will rule out the possibility of a reverse polarization.
During commissioning
- W Before commissioning, make sure that all the connection seals and plugs are leaktight to prevent fluids and foreign bodies from penetrating the device or plug connections and destroying the electronics.
- Ensure that both mounting screws have been tightened with the correct torque. Never loosen the two screws on the device cover.
During operation
- Other system parts may be damaged by uncontrolled device movements if it has not been properly mounted. Make sure that the device is securely fastened.
- Touching the valve coil during operating may lead to burns. Let the device cool off before disassembling. Do not touch the device during operation.
- If the housing ventilation port is closed, there is no atmospheric equalization and the characteristics curve will change. Ensure that the air can circulate freely through the housing ventilation port. Never operate the device in an atmosphere containing oil.
During cleaning
- Never use solvents or aggressive detergents. Only clean the device using a slightly damp cloth. Only use water to do this and, if necessary, a mild detergent.
Disposal
- Dispose of the device in accordance with the currently applicable regulations in your country.
Delivery contents
The following is included in the delivery contents:
- 1x ED05 pressure regulator
- 1x operating instructions
Additionally for the ED05 pressure regulator with rectangular plug:
- 2x rectangular plug connector, form C in accordance with EN 175301-803
Applications for the ED05 pressure regulator
The ED05 pressure regulator converts an electrical set point into pressure. In doing so, a pressure sensor integrated in the ED05 pressure regulator records the outlet pressure.
The integrated control electronics regulate the outlet pressure. Due to this, the controlled outlet pressure remains constant if there are disturbance variables such as flow changes or supply pressure fluctuations. With the ED05 pressure regulator, you can
- electrically change pressures,
- remotely adjust pressures.
Additionally, you can use the ED05 pressure regulator as an actuator to control brake forces, clamping forces, flow rates, or turbine speeds.
Device description
The ED05 pressure regulator comes with two different connection variants and is designed for various outlet pressures.
ED05 pressure regulator with M12 plug
Abb. 1: ED05 pressure regulator with integrated XPC plug, M12
- Housing cover mounting screws
- Valve solenoid
- Outlet connection 2
- Inlet connection 1
- Exhaust air connection 3
- Housing ventilation port
- Integrated XPC plug, M12
- STATUS LED
- POWER LED
This ED05 pressure regulator model is available for the following outlet pressures:
ED05 pressure regulator with integrated M12 plug
| Order number | Outlet pressure | Set point | Actual value |
| R414002003 | 0 to 6 bar | 0 to 20 mA | 0 to 20 mA |
| R414002004 | 0 to 6 bar | 4 to 20 mA | 4 to 20 mA |
| R414002005 | 0 to 6 bar | 0 to 10 V | 0 to 10 V |
| R414002006 | 0 to 6 bar | 0 to 20 mA | Switch output |
| R414002294 | 0 to 6 bar | 4 to 20 mA | Switch output |
| R414002295 | 0 to 6 bar | 0 to 10 V | Switch output |
| R414002007 | 0 to 10 bar | 0 to 20 mA | 0 to 20 mA |
| R414002008 | 0 to 10 bar | 4 to 20 mA | 4 to 20 mA |
| R414002009 | 0 to 10 bar | 0 to 10 V | 0 to 10 V |
| R414002010 | 0 to 10 bar | 0 to 20 mA | Switch output |
| R414002296 | 0 to 10 bar | 4 to 20 mA | Switch output |
| R414002297 | 0 to 10 bar | 0 to 10 V | Switch output |
In the variants with set point 0 to 10 V, there is a loss of accuracy caused by the voltage drop in the ground line. Due to the voltage drop in the ground line, a loss of accuracy at the voltage output must be taken into account in the variants with the actual value 0 to 10 V.
ED05 pressure regulator with two rectangular plugs
Abb. 2: ED05 with two rectangular X1S and X2A plugs, EN 175301-803
- 1 Housing cover mounting screws
- 2 Valve solenoid
- 3 Outlet connection 2
- 4 Inlet connection 1
- 5 Exhaust air connection 3
- 6 Housing ventilation port
- 10 Rectangular X2A plug
- 11 Rectangular X1S plug
- 12 Rectangular plug connector, form C
This ED05 pressure regulator model is available for the following outlet pressures:
ED05 pressure regulator with two rectangular X1S and X2A plugs, EN 175301-803
| Order number | Outlet pressure | Set point | Actual value |
| 5610141300 | 0 to 6 bar | 0 to 20 mA | 0 to 20 mA |
| 5610141310 | 0 to 6 bar | 4 to 20 mA | 4 to 20 mA |
| 5610141320 | 0 to 6 bar | 0 to 10 V | 10 V constant1) |
| 5610141330 | 0 to 6 bar | 0 to 10 V | 0 to 10 V |
| 5610141500 | 0 to 10 bar | 0 to 20 mA | 0 to 20 mA |
| 5610141510 | 0 to 10 bar | 4 to 20 mA | 4 to 20 mA |
| 5610141520 | 0 to 10 bar | 0 to 10 V | 10 V constant1) |
| 5610141530 | 0 to 10 bar | 0 to 10 V | 0 to 10 V |
- To supply a set point potentiometer
Assembling the ED05 pressure regulator
NOTICE
Product contains electronic components that are sensitive to electrostatic discharge (ESD)!
If the electronic components are touched by persons or objects, this may lead to an electrostatic discharge that could damage or destroy the device.
- Observe the handling instructions and recommendations in EN 61340-5-1:2001 to avoid the risk of electrostatic discharge.
You can assemble the ED05 pressure regulator on a mounting plate or in a control cabinet and directly connect it to the air lines. You can also assemble the device on a base plate and simultaneously establish the pneumatic connections.
Before assembly:
- Make sure the relevant system part is not under voltage or pressure.
- Let the ED05 pressure regulator acclimate itself for several hours before installation, otherwise water may condense in the housing.
NOTICE
Risk due to incorrectly mounted device!
An incorrectly mounted device may result in uncontrolled movements that could damage other system parts.
- Make sure that the device is securely fastened.
- If using a base plate, mount it in a control cabinet or on a mounting plate.
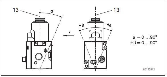
A vertical mounting orientation is preferred for the ED05 pressure regulator.
Abb. 3: Mounting orientation
- 13 Vertical axis
The device can be mounted in any orientation if the compressed air is dry and oil-free.
NOTICE
Malfunction caused by closed housing ventilation port!
- If the housing ventilation port is closed, there is no atmospheric equalization and the characteristics curve will change.
- Ensure that the air can circulate freely through the housing ventilation port (6).
- Never operate the device in an atmosphere containing oil.
- Before installation, ensure that the housing ventilation port (6) is open and not e.g. painted shut.

Assembling the ED05 pressure regulator on a mounting plate or in a control cabinet
Abb. 4: Assembling the ED05 pressure regulator on a mounting plate or in a control cabinet
- 14 Screws (not included in the delivery contents)
- 3 Outlet connection 2; G1/4″; MD = max. 10 Nm
- 4 Inlet connection 1; G1/4″; MD = max. 10 Nm
- 5 Exhaust air connection 3; G1/4″; MD = max. 10 Nm
NOTICE
Malfunction due to missing seals!
A drop in pressure may occur if the compressed air lines are not connected to the compressed air connections (3, 4, 5) using suitable seals (not included in the delivery contents).
- Always connect the compressed air lines with suitable seals.
- Insert both the screws (14) (e.g. M6 x 75 in accordance with EN ISO 4762, formerly DIN 912) in the two through holes in the housing as shown in the illustration and tighten. Tightening torque: 6 Nm The inside diameter of the supply line must be at least 6 mm to attain the air flow rate stipulated in the specifications.
- Connect the supply line at inlet connection1 (4).
- Connect the outlet line at outlet connection 2 (3).
- Always connect a silencer or a line for restricted exhaust to exhaust connection 3 (5).
Assembling the ED05 pressure regulator on a base plate
The base plate is available in various designs as an accessory part. The illustration shows an example with a single base plate.
Abb. 5: Assembling the ED05 pressure regulator on a base plate
- 15 Base plate seals
- 16 M6 x 75 screws (EN ISO 4762, formerly DIN 912)
NOTICE
Missing seals and connections will lead to non-compliance with the IP 65 protection class!
Liquids and foreign objects could penetrate the device and plug connections and destroy the electronics.
- Use plug connections with the IP 65 protection class.
- Make sure that the seals are integrated in the plug and not damaged.
- Make sure that all plugs are inserted before starting the system.
- Make sure that the seals are integrated in the plug and not damaged.
- Make sure that all plugs are inserted before starting the system.
- Insert the three base plate seals (15) in the thread connections (3, 4, 5) and press in. The seals are formed so they engage in the thread connections and cannot fall out during assembly.
- Place the ED05 pressure regulator on the base plate.
- Insert both of the M6 x 75 screws (16) in the two through holes (see Fig. 5 on page 64) and tighten.
Tightening torque: 6 Nm
Connecting the supply voltage and set point
To operate the ED05 pressure regulator, you must supply the device with compressed air, connect the 24 V DC supply voltage, and control the device with a set point.
The actual value (–) and set point (–) are always connected with 0 V in all devices.
- Observe the following tables that list the plug assignments for the two different series with integrated XPC plug, M12, as well as the rectangular plug in accordance with
EN 175301-803.
ED05 pressure regulator with integrated XPC plug, M12
ED05 pressure regulator with two rectangular plug


- Make sure before connecting the plug that all seals and connections are included and not damaged.
- Only use tested plugs and cables.
- Protect the supply voltage with an external M1.6A fuse.
For devices with an integrated XPC plug, M12:
- Use a shielded cable to connect the XPC.
The shield must be connected to the plug housing. - Connect the cable at the integrated XPC (7) plug.
The ED05 pressure regulator can now be supplied with voltage and controlled with a set point.
Devices with two rectangular EN 175301-803 plugs:
- Use a shielded cable to connect the X2A (10).
The shield must be connected with the “FE” plug connection.
- Connect the lines to the rectangular X1S (11) and X2A (10) plugs.
The ED05 pressure regulator can now be supplied with voltage and controlled with a set point. As the 0 V lines are connected at the X1S and X2A connections, the correct polarization for all plug connections must be ensured. A short circuit will result if the supply voltage or set point voltage has a reversed polarization.
For devices with two rectangular plugs controlled via a potentiometer:
- Connect the cables at the rectangular X2A plug as in the illustration on the left.
The ED05 pressure regulator can now be supplied with voltage and the set point set on the potentiometer.
Commissioning the ED05 pressure regulator
NOTICE
Danger of malfunctions caused by water!
The electronics can be damaged by water penetration. O Never loosen the two screws on the device cover.
Before commissioning the ED05 pressure regulator
You have to connect the base plate pneumatics if you have assembled the ED05 pressure regulator on a base plate.
Connecting the base plate pneumatics
Abb. 6: Connecting the base plate pneumatics
- 17 Inlet connection 1
- 18 Outlet connection 2 (covered)
- 19 Exhaust air connection 3
- 20 Seals for unused connections
- 21 Cover plate for unused connections
- 22 Mounting screws for the cover plate
The inside diameter of the supply line must be at least 6 mm to attain the air flow rate stipulated in the specifications.
- Connect the supply line at inlet connection 1 on the base plate (17), at the alternative inlet connection on the opposite side, or at both connections.
- Close the unused connection with a blanking screw, if necessary.
- Connect the outlet line at outlet connection 2 (18) (unlabelled hole, not shown in the illustration).
- Always mount a silencer or a line for restricted exhaust to exhaust connection 3 (19) and the opposite exhaust connection.
- Close the unused connection with a blanking screw, if necessary.
You have to close the unused connections if you do not equip the base plate with the maximum number of possible ED05 pressure regulators: - Insert the seals (20) in the appropriate recesses on the cover plate (21) and place the cover plate so that the seals enclose the connections.
- Insert both of the mounting screws (22) in the two holes and tighten.
Tightening torque: 6 Nm
Exhaust connection 3 (19) in the subbase may not be closed on both sides with a screw.
- Install a suitable silencer (see “Accessories” on page 85) or a line for restricted exhaust at the exhaust connection.
Switching on the pneumatic and electric supply
Proceed as follows to commission the ED05 pressure regulator:
- First switch on the pneumatic supply.
- Then switch on the 24 V DC supply voltage.
Setting the set point
- Enter the desired set point in the controller or potentiometer.
- Observe the chapter “Selecting the correct supply pressure”
8 Controlling the ED05 pressure regulator
You can continually adjust the pressure once you have connected the electrical and pneumatic supply on the ED05 pressure regulator. To do this, the ED05 pressure regulator is e.g. controlled via a controller or potentiometer using a set point. The electronics compare the set point with the outlet pressure, which is measured by a pressure sensor, and generate a control variable that is used to control the 3/3-way valve with U/I converters and a proportional magnet. This sets the stipulated pressure.
Function block diagram for ED05 with analog output
- 1 Inlet connection for supply pressure
- 3 Outlet connection
- 2 Exhaust connection
- 23 Supply voltage
- 24 Set point input
- 25 Actual value output

Selecting the correct supply pressure
A permanent deviation will occur if the supply pressure is less than the outlet pressure stipulated by the electrical set point. The electronics will reduce the power consumption and thus the max. nominal width to prevent the ED05 pressure regulator from heating up.
CAUTION
Danger of burns caused by hot valve coils!
- Touching the valve coils during operating may lead to burns. O Let the device cool off before disassembling it.
- Do not touch the device during operation.
NOTICE
Damage to the device if the operating pressure is lower than the greatest permissible control pressure!
Faulty switching and valve failure are possible. Indicates that damage may be inflicted on the device or the environment.
- Always make sure that the operating pressure is higher than the greatest possible control pressure.
- Always turn off the supply voltage if the operating pressure is off, otherwise an excessive temperature of 50°C may occur.
“Pressure reached” switch output
The “pressure reached” switch output is only available in the “ED05 pressure regulator with integrated XPC plug, M12, with switch output”
The ED05 pressure regulator with integrated XPC plug, M12, with switch output recognizes whether the desired outlet pressure is set with a tolerance of ±200 mbar from the set point (also set point = 0). In this case, it sends a 24 V voltage signal via pin 4 of the integrated XPC plug, M12.
This signal can be used e.g. by the controller to enable additional process steps.
Displays on the ED05 pressure regulator with integrated M12 plug
ED05 pressure regulator with integrated M12 plug has two LEDs:
- Green POWER LED (9)
- Green STATUS LED (8)
Meaning of the POWER LED
Meaning of the STATUS LED
If the green POWER (9) and the green STATUS (8) LED are illuminated, the ED05 pressure regulator is operating correctly and the supply voltage is within the tolerance range.
Both LEDs will flash for approx. 2 s during the initialization phase (switching the supply voltage on).
Controlling the pressure
Depending on the model, the set point of the ED05 pressure regulator can be stipulated by the current, voltage, or a potentiometer.
The characteristic curves in the following section depict the linear interrelation between current and outlet pressure or voltage and outlet pressure, depending on the model.
The device generates the supply voltage for the potentiometer in devices with an external potentiometer. The sliding contact of the potentiometer is connected with the input set point
- Select the correct characteristic curve using the outlet pressure and device number.
- Determine the desired outlet pressure.
- Find the current or voltage in the characteristic curve to set the desired outlet pressure.
- Depending on the model, control the outlet pressure either via the controller or a potentiometer.
Characteristic curves
The characteristic curves for all ED05 pressure regulator models are depicted below, sorted according to outlet pressures.
NOTICE
Malfunction caused by closed housing ventilation port!
If the housing ventilation port is closed, there is no atmospheric equalization and the characteristics curve will change.
- Ensure that the air can circulate freely through the housing ventilation port (6).
- Never operate the device in an atmosphere containing oil.
Outlet pressure 0 to 6 bar
Outlet pressure 0 to 10 bar
Disassembling, exchanging, and disposing of the ED05 pressure regulator
Disassembling the ED05 pressure regulator
CAUTION
Danger of burns caused by hot valve coils!
Touching the valve coils during operating may lead to burns.
- Let the device cool off before disassembling it.
- Do not touch the device during operation.
NOTICE
Disconnecting plugs when under voltage will damage the device!
Large differences in potential occur when disconnecting plugs under voltage, which could damage the device.
- Make sure the relevant system component is not under voltage before disassembling the device.
The following switch-off sequence must be observed in order to disassemble the ED05 pressure regulator.
- Stipulate a set point of 0 bar to exhaust the ED05 pressure regulator and the outlet line at the outlet pressure connection.
- Switch off the 24 V DC supply voltage.
- Remove the connected plugs.
- Switch off the supply pressure and exhaust the supply line.
- In case of direct connection, remove the pneumatic lines.
- Loosen both of the M6 x 75 screws.
The ED05 pressure regulator may now be removed.
Exchanging the ED05 pressure regulator
To exchange the ED05 pressure regulator, you must first disassemble it as described above and then assemble a new ED05 pressure regulator
Disposing of the ED05 pressure regulator
- Dispose of the ED05 pressure regulator in accordance with the currently applicable regulations in your country.
Servicing and maintaining the ED05 pressure regulator
Servicing the ED05 pressure regulator
No special care is required for the ED05 pressure regulator.
CAUTION
Danger of burns caused by hot valve coils!
Touching the valve coils during operating may lead to burns.
- Let the device cool off before cleaning.
- Do not touch the device during operation.
NOTICE
Damage to components!
Solvents and aggressive detergents will destroy the surface, labelling, and seals of the device!
- Only clean the device using a slightly damp cloth. Only use water to do this and, if necessary, a mild detergent.
- Make sure that all seals and plugs for the plug connections are firmly fitted so that no humidity can penetrate the ED05 pressure regulator during cleaning.
Maintaining the ED05 pressure regulator
The ED05 pressure regulator is maintenance-free.
- However, the system-specific maintenance intervals must be observed.
Checking the seals of the ED05 pressure regulator
The seals in the ED05 pressure regulator may age faster under aggressive ambient conditions. Defective seals will lead to pneumatic leaks and non-compliance with the IP 65 protection class.
- Every now and then, check that the seals on the pressure regulator are in perfect order.
A damaged seal can be recognized by parts of the seal visibly protruding from the housing gaps.
If malfunctions occur
| Malfunction | Possible cause | Remedy |
| No outlet pressure available | No power supply | Connect the power supply |
| Check the polarization of the power supply | ||
| Switch on system component | ||
| No set point stipulated | Stipulate a set point | |
| No supply pressure available | Connect the supply pressure | |
| Outlet pressure too low | Supply pressure too low | Increase the supply pressure |
| Outlet pressure less than the set point | Consumers that use a lot of air (> 1000 Nl/min) cause a large drop in pressure in the device | Reduce air consumption |
| Use a device with a larger nominal width (e.g. ED07) | ||
| Outlet pressure does not correspond to the stipulated set point | Housing ventilation port is closed | Ensure that the housing ventilation port is open |
| ED05 pressure regulator does not exhaust | Exhaust connection is closed | Open the exhaust connection and connect a silencer or restricted exhaust hose |
| Green POWER LED not illuminated | No voltage available | Check power supply at the integrated M12 plug |
| Green POWER LED flashing | Undervoltage | Check power supply at the integrated M12 plug |
| Malfunction Possible cause | Remedy | |
| Air is audibly escaping | Seal at the inlet connection, outlet connection, or exhaust connection is missing or damaged. | Check the seal and exchange, if necessary |
| Leaks between the ED05 pressure regulator and connected pressure line or base plate | If directly assembled: Check the pressure line connections and tighten, if necessary. If assembled on a base plate: Tighten screws with 6 Nm torque. | |
| ED05 pressure regulator is not leaktight | Exchange the ED05 pressure regulator | |
| Pneumatic connections confused | Properly connect the pneumatics for the pressure lines or base plate (see “Assembling the ED05 pressure regulator on a mounting plate or in a control cabinet” on page 62 or “Connecting the base plate pneumatics” on page 68) | |
| ED05 pressure regulator emits Device with current input is short pressure pulses operated with voltage set point | Stipulate the correct type of set point | |
Technical data




Accessories
| Component | Order number |
| Angled socket M12, 5-pin, for connection on XPC | 1824484029 |
| Connecting cable, 2.5 m, for ED05 pressure regulator with integrated M12 plug for connection on XPC | R419800109 |
| Connecting cable, 5 m, for ED05 pressure regulator with integrated M12 plug for connection on XPC | R419800110 |
| Signal cable, 5 m, for ED05 pressure regulator with two rectangular plugs, form C, for connection on X2A | 8946201602 |
| Signal cable, 10 m, for ED05 pressure regulator with two rectangular plugs, form C, for connection on X2A | R414002160 |
| Power supply cable, 5 m, for ED05 pressure regulator with two rectangular plugs, form C, for connection on X1S | 8946201612 |
| Power supply cable, 10 m, for ED05 pressure regulator with two rectangular plugs, form C, for connection on X1S | R414002161 |
| Silencer, G1/4”, for ED05 pressure regulator | 5324011110 |
| Mounting kit (2 screws, 3 base plate seals) for mounting on a base plate | 5610140302 |
| Base plate, 1x, flat, D12 | R414002184 |
| Base plate, 1x, flat, G1/4 | R414002187 |
| Base plate, 1x | 5610141002 |
| Base plate, 2x | 5610141012 |
| Base plate, 3x | 5610141022 |
| Base plate, 4x | R414000105 |
| Base plate, 5x | R414000106 |
| Base plate, 6x | 5610141052 |
| Base plate, 7x | R414000908 |
| Base plate, 8x | 5610141072 |
| Base plate, 9x | R414000910 |
| Base plate, 10x | 5610141092 |
| Kit (1 cover plate, 2 screws, 3 seals) to close unused connections | 5610140311 |
| Silencer, G3/8”, for base plate | 5324011120 |




























