AVENTICS EV12 E-P Pressure Regulator

About this Documentation
Documentation validity
This documentation applies to EV12 and EV18 series electro-pneumatic pressure regulators. It is intended for installers, programmers, electrical engineers, service personnel, and system owners and contains important information on the safe and proper installation, commissioning, and operation of the product and how to remedy simple malfunctions yourself.
Additional documentation
Only commission the product once you have obtained the following documentation and understood and complied with its contents.
- System documentation (provided by the machine/system manufacturer and not included in the AVENTICS scope of delivery)
Presentation of information
To allow you to begin working with the product quickly and safely, standard warnings, symbols, terms, and abbreviations are used in this documentation. For better understanding, these are explained in the following sections.
Warnings
In this documentation, there are warnings before the steps whenever there is a risk of personal injury or damage to equipment. The measures described to avoid these hazards must be followed. Safety instructions are set out as follows:
- Safety sign: draws attention to the risk
- Signal word: identifies the degree of hazard
- Hazard type and source: identifies the hazard type and source
- Consequences: describes what occurs when the safety instructions are not complied with
- Precautions: states how the hazard can be avoided
Meaning of the signal words
- DANGER Indicates a dangerous situation which, if not avoided, will certainly result in death or serious injury.
- WARNING Indicates a dangerous situation which, if not avoided, could result in death or serious injury.
- CAUTION Indicates a dangerous situation which, if not avoided, could result in minor or moderate injury.
- NOTICE Indicates that damage may be inflicted on the product or the environment.
Symbols
The following symbols identify notices that are not relevant for safety but that helps in comprehending the documentation.
Abbreviations
This documentation uses the following abbreviations:
Table 3: Abbreviations

Notes on safety
About this chapter
The product has been manufactured according to the accepted rules of current technology. Even so, there is danger of injury and damage to equipment if the following chapter and safety instructions of this documentation are not followed.
- Read these instructions completely before working with the product.
- Keep this documentation in a location where it is accessible to all users at all times.
- Always include the documentation when you pass the product on to third parties.
Intended use
The EV1X pressure regulator is a pneumatic device with integrated electronics that is only designed to control pneumatic pressures. It may be operated only in the installed state. Only use compressed air as the medium (see 13 “Technical Data”). Operation with pure oxygen is not permitted. The EV1X pressure regulator is intended for professional use only. The EV1X pressure regulator may only be used for industrial applications. An individual license must be obtained from the authorities or an inspection center for systems that are to be used in a residential area (residential, business, and commercial areas).
- Use within the limits listed in the technical data.
Improper use
Improper use of the product includes:
- Using the EV1X for any application not stated in these instructions,
- Using the EV1X under operating conditions that deviate from those described in these instructions,
- Using the EV1X as a safety component
- Using the EV1X in safety-related controls,
- Evaluating the display values for safety-relevant functions,
- Using the EV1X as a pressure relief valve within the meaning of the ISO 4414 standard.
The EV1X pressure regulators do not comply with the ISO 13849 standard. Contact AVENTICS GmbH if you would like to use the device in a safety control sequence. The address is printed on the back cover of these instructions. The user alone bears the risks of improper use of the product.
Personnel qualifications
The work described in this documentation requires basic electrical and pneumatic knowledge, as well as knowledge of the appropriate technical terms. In order to ensure safe use, these activities may therefore only be carried out by qualified technical personnel or an instructed person under the direction and supervision of qualified personnel.
Qualified personnel are those who can recognize possible hazards and institute the appropriate safety measures, due to their professional training, knowledge, and experience, as well as their understanding of the relevant regulations pertaining to the work to be done. Qualified personnel must observe the rules relevant to the subject area.
General safety instructions
- Observe the regulations for accident prevention and environmental protection. W Observe the safety instructions and regulations of the country in which the
product is used or operated. - Only use AVENTICS products that are in a perfect technical state.
- Follow all the instructions on the product.
- Only use accessories and spare parts approved by the manufacturer.
- Comply with the technical data and ambient conditions listed in these operating instructions.
- If there is a malfunction, do not attempt unauthorized repairs. Instead, contact your nearest AVENTICS sales office.
- You may only commission the product if you have determined that the end product (such as a machine or system) in which the AVENTICS products are installed meets the country-specific provisions, safety regulations, and standards for the specific application.
Safety instructions related to the product and technology
CAUTION:
Danger of burns caused by hot surfaces!
Touching the surfaces of the EV1X during operation could cause burns. The temperature on uncoated metal can exceed 64°C and on polymers can exceed 85°C.
- Let the device cool off before working on it.
- Do not touch the device during operation.
General Notices on Equipment and Product Damage
Disconnecting electrical connections while under voltage will destroy the electronic components of the EV1X!
Large differences in potential occur when disconnecting electrical connections under voltage, which could damage the EV1X.
- Make sure the relevant system component is not under voltage before assembling the EV1X or when connecting and disconnecting it electrically.
EV1X pressure regulators contain components sensitive to electrostatic discharge (ESD)!
If the conductive components are touched by persons or objects, this may lead to an electrostatic discharge that could damage or destroy the EV1X.
- Use wrist and shoe grounding straps, if necessary, when working with the EV1X.
- Observe the basic rules for ESD.
Loss of the protection class IP65 if the device is opened!
Foreign objects and moisture could penetrate and damage the electronics.
- Never loosen the cap.
- Do not remove the sticker or the nameplate.
Damage to the device if carried by the cover cap!
The cover cap could come loose and the device could fall.
- Never hold the device by the cover cap.
Scope of delivery
- One EV12 or EV18 pressure regulator
- Operating instructions
About This Product
The electro-pneumatic pressure regulator controls the output pressure. This pressure is given as an electrical set point. In doing so, a pressure sensor integrated in the pressure regulator records the outlet pressure and controls it based on the set point. As a result, the output pressure specified by the set point is also controlled if there are disturbance variables, such as flow changes. The compact EV1X pressure regulator has been designed for large flows.
Make sure that the operating pressure lies at least 1 bar above the maximum output pressure to be controlled. Otherwise, only a reduced output pressure range is available.
Product identification
Note the information on the nameplate.

- Manufacturer
- Address
- Series designation
- Material number
- Production date
- Serial number
- Device type
- Output pressure range
- Data Matrix code
- CE mark
- Internal factory designation
- Country of manufacture
- Safety sign: Hot surface
- Pin assignment (M12 plug)
- QR code
The nameplate shown here is an example.
- Check the material number on the nameplate to determine whether the EV1X pressure regulator matches your order.
- Please see the catalog sheet for your EV1X pressure regulator configuration.
Assembly
Danger of injury if assembled under pressure or voltage!
Assembling when under pressure or electrical voltage can lead to injuries and damage to the product or system components.
- Make sure that the relevant system part is not under voltage or pressure before you assemble the product.
- Protect the system against being restarted.
System is operating under pressure!
Incorrect installation may damage the maintenance unit/apparatus and cause serious injury.
- Before commissioning, check that all connections, ports and maintenance equipment have been correctly installed.
- The regulated pressure is always listed on the thread connection on the back side.
- Never remove the plugs on the back side while under pressure.
Preparing for installation
Prepare for assembly as follows:
- Stop system operation and protect it against being switched on.
- Return all suspended loads to a statically secure position or remove them from the system.
- If required, exhaust stored compressed air from system parts in the immediate work area.
- Make sure the relevant section of the system is not under pressure or voltage and protect it from being switched on.
- Secure self-turning or other movable system parts before starting assembly.
- Let the EV1X pressure regulator acclimate itself for several hours before installation, otherwise water may condense in the housing.
Mount the valve
Individual valves, blocked valves, and maintenance units with valves must be mounted on both sides to the mounting surface using a mounting element for each.
- EV12: R412007367 (G1/2), R412007366 (G3/8)
- EV18: R412009367 (G1), R412009366 (G3/4)
Figure 2 shows the assembly of the mounting elements using a single valve as an example.
To mount a single valve
Proceed as shown in Fig. 2 to mount a single valve:
- Insert seal a in the groove of the mounting element and seal b in the groove of the valve’s pressure connection.
- Position a mounting element each on the right and left side of the valve.
- Screw the brackets to the mounting elements.
- Assemble the valve with the mounting elements on a vertical mounting surface. The valve is now securely fastened to the mounting surface.

Block assembly of valves
You can assemble several valves into blocks in order to create a regulator row with through pressure connection. In variant L/R, the regulated pressure is at connection 2. In variant C, the regulated pressure is at the rear connection.
In order to assemble valves into blocks, one connection element W04 – R412007371 is required per interface.
Proceed as shown in Fig. 3:
- Insert one seal in the groove of the compressed air connection between each of the valves.
- Position the valves to be blocked next to each other.
- Place both parts of the connection element on the valves.
- Tighten the screws.
The valves are now connected.

If you assembly four or more components into blocks, you must use an additional wall mounting W03 – R412007370 after every second valve in place of the connection element (see Fig. 4).
Attach valve with additional wall mounting
If you assemble four or more components into blocks or use the valve in a maintenance unit, you must use an additional wall mounting W03 – R412007370. The components for the maintenance unit may be fastened either to the left or right of the valve.
To connect the valve with the maintenance unit components, proceed as shown in Fig. 4:
- Insert one seal in the groove of the pressure connection between the valve and the adjacent components.
- Position the valve and the adjacent components next to each other.
- Place both parts of the wall mounting on the devices.
- Tighten the screws.
The devices are now connected. - Assemble the devices with the mounting elements on a vertical mounting surface.
The valve is now securely fastened to the mounting surface.

Connecting the EV1X pneumatics
The EV1X has a thread connection on the left, right, and back side. In type LXX and type RXX versions, the rear thread connection is closed with a plug at the factory. In type CXX pressure regulators, the connection for the output pressure is on the side that faces the mounting surface.
- Depending on the variant, connect the operating pressure and output pressure on the left or right side. Observe the connection designations on the device.
EV1X pressure regulators are actuated via a 5-pin, A-coded M12 connection and work independently as a standalone device.
- Only use tested plugs and cables.
- Always use a shielded line to connect the integrated M12 plug.
- Connect the signal line on the M12 plug of the EV1X pressure regulator. The tightening torque for the socket is 1.5 Nm +0.5.
EV1X pressure regulators with set point 0–10 V, 4–20 mA, and 0–20 mA

- Connect the line’s shield with the integrated M12 plug housing and pin 5 of the integrated M12 plug with pin 5 of the line.
- On the system side, connect the line’s shield and pin 5 with FE.
EV1X pressure regulators with IO-Link

- Additional power supply/valve voltage is not permissible.
- External protection is provided by the IO-Link master.
Operation and Displays
LEDs

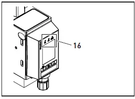
The LEDs serve to monitor voltage and diagnosis.The LEDs (16) are integrated in the display housing. The LEDs on the EV1X pressure regu-lator show the messages listed in Table 6.
- Before commissioning and during operation, regularly check EV1X functions by reading the LEDs.

EV1X pressure regulators with set point 0–10 V, 4–20 mA, and 0–20 mA


EV1X pressure regulators with IO-Link
Display
Your EV1X features a display (20), to read out the set values and parameters on-site.

Navigation with buttons
The EV1X pressure regulator is operated via three buttons.
With the buttons (26) below the display, you can set the parameters (see “Settings and displays” in this chapter).
In EV1X pressure regulators with IO-Link, the parameter settings from the menu items “Control” and “p-Range” are overwritten by the IO-Link master.

Overview of navigation

Settings and displays
After connecting the device to the power supply, it displays the standard screen. The measuring and switching functions are operational.
On the display, the “Lock” symbol (25) indicates whether the device is protected by a password or whether you can navigate the menu structure without a password.
- The device requires a password.
- The device does not require a password.
Enter password
The device displays the standard screen.![]()
- The lock symbol is closed.
- Press the
button.
This takes you to the edit level where you can use the
and
buttons to enter the password. - Press the
button to confirm the password. - If the password is correct, you are taken to the menu level.
The lock symbol is open. - If the password is incorrect, you are returned to the standard screen. The lock symbol is closed.
Resetting the password
If you have forgotten the password, you can reset it as follows:
- Press and hold both arrow buttons at the same time while switching on the power.
- You are immediately taken to the “Lock” menu item without a request for the unlock code (see below, section “Lock”).
Automatic return to the standard screen (timeout)
If you do not make any entries for longer than one minute, the display automatically returns to the standard screen from within all menu levels, with the exception of the manual set point specification.
If the device is password-protected, you have to enter the password again to reach the menus.
Manual return to the standard screen
Pressing and holding the button for longer than 1 s takes you one menu level higher (Escape).
- Repeat the process until you have reached the standard screen.
User adjustment active
If the user adjustment active symbol (24) is displayed, one or more of the following factory settings was changed via button input on the device: W Dynamics, accuracy in the “Control” menu
- wmin, pmax, pmin in the “p-Range” menu
- Analog I/O
- Hysteresis, Delay, Switched Out
- Lock
Information
- Device no.
Displays the device’s material number, e.g. R414011384. - Serial nr
Displays the device’s serial number, e.g. 123456. - Software
Displays the installed software version, e.g. V.1.0.0.0. - Ctrl type
Displays the regulator type in factory settings (see section “Product identification” in chapter 5), e.g. 010-L12- 1st to 3rd position: set point, e.g. “010” (0–10 V analog) or “IOL” (control via IO-Link)
- 5th position: flow direction
- L = left to right
- R = right to left
- C = continuous pressure supply
- 6th and 7th position: connection thread
- 12 = G1/2
- 38 = G3/8
- 34 = G3/4
- 1 = G1
Control
Dynamics
The dynamics define the control behavior of the control loop. The following settings are possible:
Value range: speed opt., plug&play, value opt.
- Speed opt.: fastest control upon set point change, requires the fewest switching cycles for control; possibly with overshooting.

- Plug&Play: standard control loop: no optimized control behavior; ideally, minimal overshoot, more value opt. than speed opt.

- Value opt.: control loop with optimized values, requires the most switching cycles upon set point change; without overshoot; for applications that are to run sluggishly.

Factory setting: speed opt.
Accuracy
The accuracy defines the active zone of the pressure regulator. The following settings are possible:
Value range: optimized, Plug&Play, generous
- Optimized: the control is active until the deviation is less than 5 mbar. The control is reactivated if the deviation exceeds 8 mbar.
- Plug&Play: the control is active until the deviation is less than 20 mbar. The control is reactivated if the deviation exceeds 25 mbar.
- Generous: the control is active until the deviation is less than 50 mbar. The control is reactivated if the deviation exceeds 100 mbar.
Factory setting: Plug&Play
p-Range
Characteristic curves:

Minimum set point wmin
The device actively works (controls the pressure) within the range wmin–pmax. It applies when wmin > pmin. wmin is therefore to be considered as an entry point. The following settings are possible:
- Value range: 0.3–10 bar (4.4–145 psi)
- Increments: 0.1 bar (1 psi)
- Factory setting: 0.3 bar
Beginning of pressure range pmin
The beginning of the pressure range pmin defines the lowest pressure value of the characteristic curve and therefore the zero point of the device characteristic curve.
In most cases, pmin = 0 bar. The following settings are possible:
- Value range: 0–5 bar (0–73 psi)
- Increments: 0.1 bar (1 psi)
- Factory setting: 0bar
End of pressure range pmax
The end of the pressure range pmax defines the highest pressure value of the characteristic curve.
The following settings are possible:
- Value range: 2–10 bar (29–145 psi)
- Increments: 0.1 bar (1 psi)
- Factory setting: 10 bar
Display
Language
Defines the language in which the control/navigation is shown on the display. The following settings are possible:
- Value range: German, English, French
- Factory setting: English
Unit
Defines the unit system in which the pressure-related values are displayed. Pressure-related values include the actual pressure value, the manually or externally specified pressure set point, the hysteresis threshold values, and the pressure range adjustments. The following settings are possible:
- Value range: bar, psi
- Factory setting: bar
Contrast
Defines the contrast settings for the display. The following settings are possible:
- Value range: 15%-32%
- Increments: 1%
- Factory setting: 25%
Dynamics
Defines the response sensitivity for displaying the set point and actual value. The following settings are possible:
- Value range: high, middle, low
- Factory setting: middle
Backlight
Defines the time when the display backlight automatically switches off if no button is pressed. The following settings are possible:
- Value range: 1 min, 3 min, 5 min, On
- Factory setting: 3min
Analog I/O (analog interface)
With EV1X pressure regulators, the type of analog interface can be selected. The following settings are possible:
Value range:
- Set point and actual value 0–10 V,
- Set point and actual value 4–20 mA,
- Set point and actual value 0–20 mA,
- Set point 0-10 V, actual value: switch output,
- Set point 4-20 mA, actual value: switch output
- Set point 0-20 mA, actual value: switch output
Factory setting: Corresponding to your configuration (see chapter “Product identification”).
Switch output
Hysteresis
The hysteresis defines the max. permissible deviation from the standard. The switch output is active within these limits.
The following settings are possible:
- Value range: 0.1–1.0 bar (1–15 psi)
- Increments: 0.1 bar (1 psi)
- Factory setting: 0.1 bar
Delay
Defines the delay period after which the switch output is set to active once a stable value within the defined tolerance range has been reached. The following settings are possible:
- Value range: 50–1000 ms
- Increments: 10 ms
- Factory setting: 50 ms
Force
In the “Force” menu item, users can set their own set point. As long as the user remains in the edit level of this menu item, the manually set value is maintained. The external set point is overwritten. Timeout monitoring that exits the menu is deactivated in this menu item. The device controls the manually set value until the user exits the menu.
- Increments: 0.1 bar (1 psi)
- Value range: pmin to pmax
Lock
Defines the access lock for the device. The following settings are possible:
- Value range: integer values in the range from 1–9999, lock off
- Factory setting: lock off
Memory
Manages memory. The following settings are possible:
- Value range: Cancel (exit the menu item without saving), Save (all settings are saved), Reset (all settings are reset to factory settings).
Data Structure for EV1X with IO-Link Connection
Process data
Set points for the 16-bit pressure regulator
The control or the IO-Link master sends the output data (set points) with a length of 2 bytes to the pressure regulator. The set point is sent in bits 0–9. Bits 10–14 are ignored. Bit 15 is used as a test bit. For values ≥ 1000, the following applies:
- Values ≤ 1000: The pressure is controlled corresponding to the meaning of bits 0–9.
- Values 1001 to 1023: The maximum pressure (10 bar) is controlled.
- Values ≥ 1024: Bits 10–14 are ignored. The pressure is controlled corresponding to the meaning of bits 0–9.
In 10-bar devices, the values 0–1000 correspond to an output pressure of 0 to 10 bar. The resolution is 10 mbar.

Bits marked with “–” are ignored and are assigned the value “0”.
Actual values of the 16-bit pressure regulator
The pressure regulator sends the input data (actual values) with a length of 2 bytes to the control. The actual value is sent in bits 0–9. In 10-bar devices, the values 0–1000 correspond to an output pressure of 0 to 10 bar. The resolution is 10 mbar.

Bits that are marked with a “–” may not be used and are assigned the value “0”.
- I= Actual value
- T= Test bit is set if the bit “Testbit” = 1 was set in the output data
- IC= Set point specification
- 0= Set point specification via bus
- 1= Manual set point specification, e.g. via display
Events

Parameter
Communication errors due to timeout!
Communication errors (timeout) can arise if the IO-Link master executes a “parameter save”.
- Make sure that the IO-Link master does not execute a parameter save while you make entries.
Parameters are included in the contents of the configuration file. The parameters sent to the device via the IO-Link will overwrite the existing parameters on the device! No parameter handler is used in this process.

Commissioning the EV1X Pressure Regulator
Before commissioning the EV1X pressure regulator, you must first assemble it and connect it to your system.
Danger due to loose screws or connections!
Danger of injury!
- Check all screws and connections before starting the system.
Danger of burns caused by hot surfaces!
Touching the surfaces of the EV1X during operation could cause burns. The temperature on uncoated metal can exceed 64°C and on polymers can exceed 85°C.
- Let the device cool off before working on it.
- Do not touch the device during operation.
NOTICE
Shortened product service life if operated without operating pressure! Operation with the supply voltage and set point applied, but no operating pressure can result in a shortened product service life.
- Never operate the device without compressed air.
Commissioning may only be carried out by qualified electrical or pneumatic personnel or an instructed person under the direction and supervision of qualified personnel (see “Personnel qualifications”).
- Make sure that the system is not under pressure.
- Check all screws and connections once more before starting the system.
- Switch on the power supply.
- Check the LED displays on all modules.
- The UL and UA LEDs must be green before switching on the operating pressure.
- The DIAG LED must be off before commissioning.
- Switch on the compressed air supply.
Make sure that the operating pressure lies at least 1 bar above the maximum output pressure to be controlled. Otherwise, only a reduced output pressure range is available.
Cleaning and servicing
- Close all openings with suitable safety devices so that no cleaning agent can enter into the system.
- Never use solvents or aggressive detergents. Only clean the product using a slightly damp cloth. Only use water and, if necessary, a mild detergent.
- Do not use high-pressure cleaners for cleaning.
- Do not use compressed air for cleaning (blowing off) the maintenance unit or equipment.
Disposal
Comply with national regulations regarding disposal.
Troubleshooting
Table 13 contains an overview of malfunctions, possible causes, and remedies.

Technical Data
Table 14: General data

The pressure dew point must be at least 15°C below the ambient and medium temperatures and must not exceed 3°C.
The oil content of compressed air must remain constant during the life cycle.
- Use only the approved oils from AVENTICS, see the AVENTICS online catalog,chapter “Technical information”.
Pneumatics
Flow rate values of the EV12 pressure regulator

- Flow characteristic curves of EV12 pressure regulators type L and type R

- Flow characteristic curves of EV12 pressure regulators type C

Flow rate values of the EV18 pressure regulator

Electronics

Standards complied with

Spare Parts and Accessories
Information on spare parts and accessories can be found in the online catalog at www.aventics.com/pneumatics-catalog.
AVENTICS GmbH
- The data specified above only serve to describe the product. No statements concerning a certain condition or suitability for a certain application can be derived from our information. The given information does not release the user from the obligation of own judgement and verification. It must be remembered that our products are subject to a natural process of wear and aging.
- An example configuration is depicted on the title page. The delivered product may thus vary from that in the illustration.
- Translation of the original operating instructions. The original operating instructions were created in the German language.
- R414011404–BAL–001–AA/2018-10 Subject to modifications. © All rights reserved by AVENTICS GmbH, even and especially in cases of proprietary rights applications. It may not be reproduced or given to third parties without its consent.
Ulmer Straße 4
30880 Laatzen, GERMANY
Phone +49 (0) 5 11-21 36-0
Fax: +49 (0) 511-21 36-2 69
www.aventics.com
[email protected]
Further addresses:
www.aventics.com/contact


























