
Smart Wi-Fi dimmer – Pulsar TM
INSTRUCTION MANUAL
IMPORTANT, KEEP FOR FUTURE REFERENCE:
PLEASE READ CAREFULLY.
![]()
FCC ID: 2AUHG-DIM-PULW-1
IC : 21811-DIMPULW
Rev. 14.05.2021
Made in China
Residential use only
Indoor use only
INSTRUCTION MANUAL
INCLUDED
| Item | Description | Quantity |
![]() | Wire connector | x 4 +1 extra |
![]() | Junction box screw | x 2 +1 extra |
![]() | Switch assembled | x 1 |
![]() | Switch plate | x 1 |
WHAT YOU WILL NEED…
IMPORTANT
The installer and/or user must read, understand and follow these instructions before installing the product. This product must be properly installed before it is used.
If instructions are not followed, the manufacturer will not be held responsible for any problems or product malfunction. Failure to follow installation and/or operating instructions voids the warranty. We recommend that this product be installed by a certified electrician. In some states or provinces, it is a legal requirement for this type
of product to be installed by a certified electrician, according to the electrical and building codes effective in the region where the unit is used.
WARNING:
Risk of electrical shock.
Turn off breaker at the panel.
SWITCH OFF THE MAIN
ELECTRICAL SUPPLY FROM THE
FUSE BOX/CIRCUIT BREAKER
BEFORE INSTALLING THE UNIT OR DOING ANY MAINTENANCE.
DIMMER FUNCTIONS
- Turn ON the dimmer Hold 5s to pair
- Turn OFF the dimmer
- Brightness UP signal
- Brightness level display area
- ON-OFF / WI-FI signal
ON position (Red light)
OFF position (No light)
Default pairing mode (Blue flash rapidly)
AP mode (1 blue flash / 3 sec)
Ø internet (Blue flash slowly) - Brightness DOWN signal
CONNECTION
Single pole switches only. (fig. A)
Not compatible with
a 3-way switch. (fig. B) 
RECOMMENDED
BULBS
INCANDESCENT BULB
Total power
500 Watts maximum
LED BULB
Total power
150 Watts maximum
STEP-BY-STEP
INSTALLATION
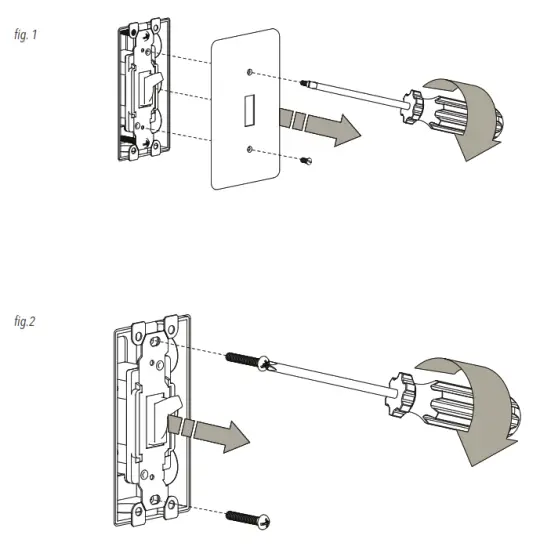
- Turn off the power from the electrical panel and the circuit breaker. Make sure the power is off before removing the old plug.
- Remove the switch plate by unscrewing the screws on the switch plate. (fig. 1)
- Unscrew the screws of the switch. Remove the old switch. (fig. 2)

STEP-BY-STEP
INSTALLATION
4. Identify the wires before disconnecting them from the old switch. Identify the white wire (N), the black wire (L), the grounding wire (G) and the red wire (Lo).
RED (Lo): load
BLACK (L): Live
WHITE (N): Neutral
NON-INSULATED (G): Ground
5. Disconnect the old switch (fig. 3).
STEP-BY-STEP
INSTALLATION
6. Use wire connectors to connect the switch wires to your home wires, following the diagram. Be careful to match “LINE” and “LOAD” wires. (fig. 4)
RED (Lo): load
BLACK (L): Live
WHITE (N): Neutral
NON-INSULATED (G): Ground
Use wire connectors home wires, following the dia“LINE” and “LOAD” wi
7. Remove your identification stickers.
STEP-BY-STEP
INSTALLATION
6. Screw the switch to the junction box . (fig. 5)
STEP-BY-STEP
INSTALLATION
7. Fix the plate to the swith. (fig. 6)
8. Restore electrical power.
CONVENTIONAL USE
This device can be used as a regular unit without using the APP. However, some of the functions are only possible to control with the APP.
Ex: programming based on different parameters.
SMART CONNECTION
- Download the Artika app
Download the Artika app from your
App Store (IOS users) / Google Play (Android users). - Login / Register
Follow the step by step instructions given in the app. (fig. 1)

3. Device Pairing
A) To add a device, click on the “+” at the top right corner. (fig. 2)
B) Select the pairing method “Add manually” or “Auto Scan”. (fig. 3)
If you decide to add manually, please select your device in the list
NOTE: Devices are separated by category, please select the right one on the left end side of the screen.
C) Follow the instructions shown in the app.
3. Device Pairing
A) Press and hold the “ON” button for 5 seconds, green light will flash and will become steady upon successful pairing.
B) To add a device, click on the “+” at the top right corner. (fig. 2)
C) Select the pairing method “Add manually” or “Auto Scan”. (fig. 3)
If you decide to add manually, please select your device in the list
NOTE: Devices are separated by category, please select the right one on the left end side of the screen.
D) Follow the instructions shown in the app. 
CAUTION
If manual pairing method has been selected, make sure that the mode of connection selected is EZ Mode. This should be selected as default, but if the AP mode is selected, the pairing will fail. To change the connection method, click on “AP mode” at the top right corner and select EZ mode from the dropdown list. (fig. 4)
Canada (IC)
Operation is subject to the following two conditions:
- This device may not cause interference, and
- this device must accept any interference, including interference that may cause undesired operation of the device.
USA (FCC)
This device complies with Part 15 of the FCC Rules. Operation is subject to the following two conditions:
1. This device may not cause harmful interference; and
2. this device must accept any interference received, including interference that may cause undesired operation.
NOTE: This equipment has been tested and found to comply with the limits for Class B digital device, pursuant to part 15 of the FCC Rules. These limits are designed to provide reasonable protection against harmful interference in a residential installation. This equipment generates, uses and can radiate radio frequency energy and if not
installed and used in accordance with the instructions, may cause harmful interference to radio or television reception, which can be determined by turning the equipment off and on. The user is encouraged to try to correct the interference by one or more of the following measures:
- Reorient or relocate the receiving antenna.
- Increase the separation between the equipment and the receiver.
- Connect the equipment into an outlet on a circuit different from that to which the receiver is connected.
- Consult the dealer or an experienced radio/TV technician for help.
NOTE2: Any changes or modifications to this unit not expressly approved by the party responsible for compliance could void the user’s authority to
operate the equipment. This equipment complies with the FCC RF radiation exposure limits set forth for an uncontrolled environment. This equipment should be installed
and operated with a minimum distance of 20cm between the radiator and any part of your body.
WARRANTY
Artika For Living Inc. is proud to offer you a three (3) years limited warranty on manufacturing defects from the date of purchase for residential use only. The warranty is extended to the original owner in USA and Canada and is non-transferable. It does not apply to retailers, commercial applications or establishments. The original sales receipt
is required for all warranty claims. The remedy under this limited warranty shall be a product or part replacement at Artika’s discretion as provided herein and cannot exceed the original purchase price. This warranty is valid only on products installed in accordance with the building code and laws effective in the region where the unit is used as well as in
accordance with the provided instruction manual. It does not cover products installed incorrectly or subjected to abnormal use. Product(s) or component part(s) may be required to be returned for inspection and verification. Normal wear and tear, misuse, negligence, vandalism, improper maintenance (surface damage due to chemical interaction or cleaning agents including, but not limited to, scouring pads, use of cleaners containing abrasives, alcohol or other organic solvents) improper handling, accident, abuse, fire, flood, theft, acts of God, neglect, or alteration of the product will not be covered under this limited warranty. It excludes any accessories that accompany the product including but not limited to bulbs or batteries. The warranty does not cover handling, labor, transportation, or any other cost associated with the installation or replacement of the product. This limited warranty is valid in the country of purchase and by Artika authorized retailers only. Artika for Living Inc. will not be held responsible for any direct or consequential damages or injuries related to the use of this product arising from improper use or installation of this product. Please visit www.artika.com to discover
more about Artika for Living Inc.
Artika For Living Inc.
50th Avenue,
Montréal (Lachine), Québec
Canada H8T 2V5
1-866-661-9606
[email protected]
www.artika.com
Customer Service
Monday to Friday
9 a.m. – 5 p.m. EST























